Каталог запчастей
Запчасти Камаз
Запчасти Урал
Спецпредложения
О компании
Контакты
7 (3513) 289-777
Отправить готовую заявку
Группа компаний A-GROUP
Каталог
Запчасти УРАЛ
Запчасти КАМАЗ
Двигатель
Система питания
Система выпуска газов
Система охлаждения
Механизмы управления
Рулевое управление
Тормозная система
Кабина и кузов
Кабина
Оперение кабины
Платформа и кузов
Трансмиссия
Коробка передач
Коробка раздаточная
Сцепление
Карданная передача
Мосты
Ходовая часть
Колеса и ступицы
Ось передняя
Подвеска
Рама
Электрооборудование
Приборы
Специальное оборудование
Устройство седельно-сцепное
Лебедка
Газовое оборудование
Прочие запчасти
Инструмент и принадлежности
Рукава и РТИ
Крепеж
Подшипники
Запчасти двигателя
Система выпуска газов
Система охлаждения
Система питания
Кабина и оперение
Передок кабины
Оперение кабины
Боковина кабины
Двери кабины
Задок кабины
Основание кабины
Крыша кабины
Сиденья кабины
Вентиляция и отопление кабины
Трансмиссия
Коробка передач
Раздаточная коробка
Карданный вал
Сцепление
Передний мост
Средний мост
Задний мост
Ходовая часть
Рама
Подвеска балансирная
Колеса и ступицы
Механизмы управления
Рулевое управление
Тормозная система
Платформа
Электрооборудование
Приборы
Оборудование и инструменты
Коробка отбора мощности
Лебедка
Устройство седельно-сцепное
Инструменты
Поиск
Графические каталоги
0
Группа компаний A-GROUP
Поиск
0
+7 (3513) 289-777
Обратный звонок
Отправить готовую заявку
Группа компаний A-GROUP
0
Меню
Поиск
Каталог запчастей
Запчасти Камаз
Запчасти Урал
Спецпредложения
О компании
Контакты
Главная
Графические каталоги
КамАЗ
КамАЗ-6540
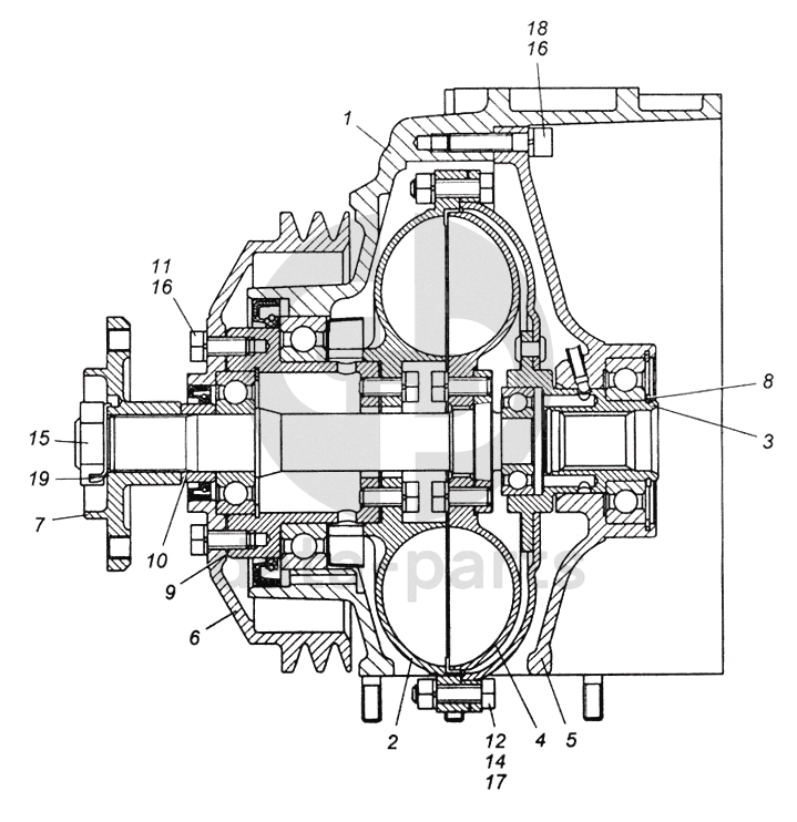
Гидромуфта привода вентилятора с передней крышкой в сборе
Гидромуфта привода вентилятора с передней крышкой в сборе КамАЗ-6540
1
2
3
4
5
6
7
8
9
10
11
12
14
15
16
16
17
18
19
100
%
1
740.13-1002260
Крышка блока цилиндров передняя в сборе
Кол-во
0
?
Оставить заявку
2
740.1318025
Колесо ведущее гидромуфты с валом и подшипниками в сборе
Кол-во
0
?
Оставить заявку
3
740.1318026
Вал ведущий в сборе
Кол-во
0
?
Оставить заявку
4
740.1318044
Колесо ведомое гидромуфты с ведомым валом в сборе
Кол-во
0
?
Оставить заявку
5
740.1318074
Корпус подшипника гидромуфты в сборе
Кол-во
0
?
Узнать цену
740.1318074
Корпус подшипника
ПАО КАМАЗ
под заказ
5 018 ₽
В корзину
6
740.13-1318158
Шкив привода генератора и водяного насоса с манжетой в сборе
Кол-во
0
?
Узнать цену
740.13-1318158
Шкив
ПАО КАМАЗ
под заказ
6 642 ₽
В корзину
7
740.1308035
Ступица вентилятора
Кол-во
0
?
Узнать цену
740.1308035
Ступица крыльчатки
ПАО КАМАЗ
под заказ
2 740 ₽
В корзину
8
740.1318066
Кольцо упорное
Кол-во
0
?
Оставить заявку
9
740.1318182-10
Прокладка шкива привода генератора и водяного насоса
Кол-во
0
?
Оставить заявку
10
740.1318194
Втулка манжеты
Кол-во
0
?
Узнать цену
740.1318194
Втулка
ПАО КАМАЗ
под заказ
445 ₽
В корзину
11
1/60434/21
Болт М8-6gх20
Кол-во
0
?
Оставить заявку
12
1/60438/21
Болт М8-6gх30
Кол-во
0
?
Оставить заявку
14
1/61008/11
Гайка М8х1,25-6Н
Кол-во
0
?
Оставить заявку
15
1/07268/21
Гайка низкая М22х1,5-6Н
Кол-во
0
?
Оставить заявку
16
1/05166/73
Шайба 8 пружинная
Кол-во
0
?
Оставить заявку
17
1/11980/73
Шайба пружинная коническая 8х15
Кол-во
0
?
Оставить заявку
18
870353
Винт М8-6gх35
Кол-во
0
?
Оставить заявку
19
870864
Шайба стопорная
Кол-во
0
?
Оставить заявку
Нужна помощь в подборе запчастей?
Напишите нам и оставьте ваши контактные данные. Мы перезвоним вам в течение 30 минут или раньше!
Кратвольд Елена
Менеджер по продажам
7 (3513) 289-777
koleso787@bk.ru
Вы должны включить JavaScript чтобы использовать эту форму.
Ваш вопрос
Email
Телефон
Отправляя форму вы подтверждаете согласие с
политикой обработки персональных данных
.
Отправить
Оставьте это поле пустым