Каталог запчастей
Запчасти Камаз
Запчасти Урал
Спецпредложения
О компании
Контакты
7 (3513) 289-777
Отправить готовую заявку
Группа компаний A-GROUP
Каталог
Запчасти УРАЛ
Запчасти КАМАЗ
Двигатель
Система питания
Система выпуска газов
Система охлаждения
Механизмы управления
Рулевое управление
Тормозная система
Кабина и кузов
Кабина
Оперение кабины
Платформа и кузов
Трансмиссия
Коробка передач
Коробка раздаточная
Сцепление
Карданная передача
Мосты
Ходовая часть
Колеса и ступицы
Ось передняя
Подвеска
Рама
Электрооборудование
Приборы
Специальное оборудование
Устройство седельно-сцепное
Лебедка
Газовое оборудование
Прочие запчасти
Инструмент и принадлежности
Рукава и РТИ
Крепеж
Подшипники
Запчасти двигателя
Система выпуска газов
Система охлаждения
Система питания
Кабина и оперение
Передок кабины
Оперение кабины
Боковина кабины
Двери кабины
Задок кабины
Основание кабины
Крыша кабины
Сиденья кабины
Вентиляция и отопление кабины
Трансмиссия
Коробка передач
Раздаточная коробка
Карданный вал
Сцепление
Передний мост
Средний мост
Задний мост
Ходовая часть
Рама
Подвеска балансирная
Колеса и ступицы
Механизмы управления
Рулевое управление
Тормозная система
Платформа
Электрооборудование
Приборы
Оборудование и инструменты
Коробка отбора мощности
Лебедка
Устройство седельно-сцепное
Инструменты
Поиск
Графические каталоги
0
Группа компаний A-GROUP
Поиск
0
+7 (3513) 289-777
Обратный звонок
Отправить готовую заявку
Группа компаний A-GROUP
0
Меню
Поиск
Каталог запчастей
Запчасти Камаз
Запчасти Урал
Спецпредложения
О компании
Контакты
Главная
Графические каталоги
КамАЗ
КамАЗ-6540
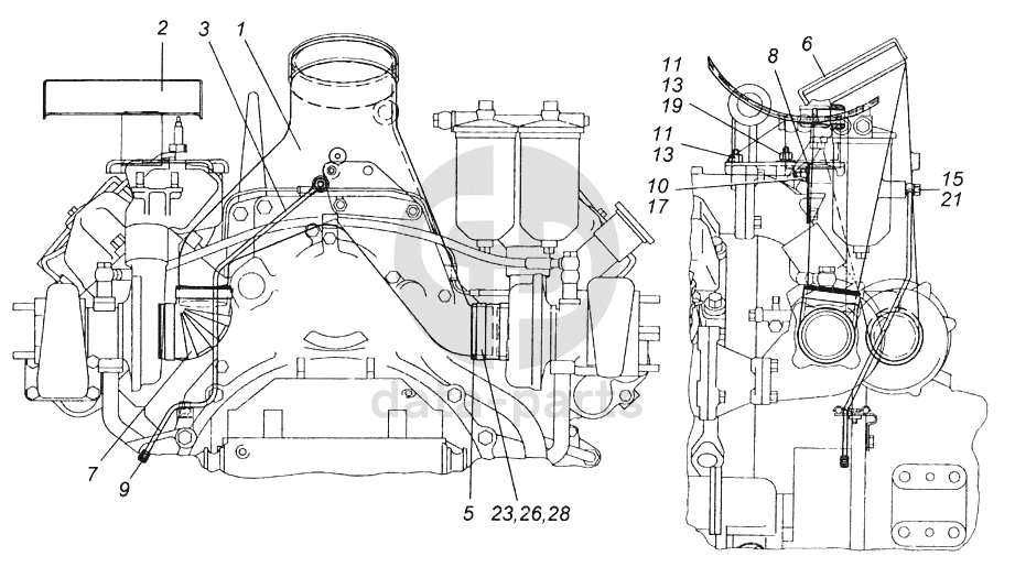
Установка тройника
1
2
3
5
6
7
8
9
10
11
11
13
13
15
17
19
21
23
26
28
100
%
1
53205-1109048
Тройник в сборе
Кол-во
0
?
Узнать цену
53205-1109048
Тройник
ПАО КАМАЗ
под заказ
16 489.85 ₽
В корзину
2
43114-1109172-01
Кронштейн (сварка)
Кол-во
0
?
Узнать цену
43114-1109172-01
Кронштейн
ПАО КАМАЗ
под заказ
3 381.60 ₽
В корзину
3
43114-1109448
Трубка подвода к индикатору
Кол-во
0
?
Оставить заявку
5
54112-1109278
Шланг соединительный
Кол-во
0
?
Оставить заявку
6
7405.1109592
Заглушка транспортная
Кол-во
0
?
Оставить заявку
7
43114-1109600
Шланг угловой
Кол-во
0
?
Оставить заявку
8
53205-1109610
Кронштейн
Кол-во
0
?
Оставить заявку
9
5320-3401377
Колпачок клапана
Кол-во
0
?
Оставить заявку
10
1/61008/11
Гайка М8х1,25-6Н
Кол-во
0
?
Оставить заявку
11
1/21647/11
Гайка М10х1,25-6Н
Кол-во
0
?
Оставить заявку
13
1/05168/77
Шайба 10 пружинная
Кол-во
0
?
Оставить заявку
15
1/02844/60
Прокладка уплотнительная 10х16х1,5
Кол-во
0
?
Оставить заявку
17
1/26014/73
Шайба 10 волнистая
Кол-во
0
?
Оставить заявку
19
1/26386/71
Шайба плоская 10х18
Кол-во
0
?
Оставить заявку
21
870007
Болт М10х1,25-6gх23
Кол-во
0
?
Оставить заявку
23
864405
Хомут
Кол-во
0
?
Оставить заявку
26
СБИТ.305419004-27
Хомут стяжной (70х90)х13 СБИТ.305419.003 ТУ
Кол-во
0
?
Оставить заявку
28
ТОRRО70-90/12-С7W1
Хомут фирмы "NОRМА" (Германия)
Кол-во
0
?
Оставить заявку
Нужна помощь в подборе запчастей?
Напишите нам и оставьте ваши контактные данные. Мы перезвоним вам в течение 30 минут или раньше!
Кратвольд Елена
Менеджер по продажам
7 (3513) 289-777
koleso787@bk.ru
Вы должны включить JavaScript чтобы использовать эту форму.
Ваш вопрос
Email
Телефон
Отправляя форму вы подтверждаете согласие с
политикой обработки персональных данных
.
Отправить
Оставьте это поле пустым