Каталог запчастей
Запчасти Камаз
Запчасти Урал
Спецпредложения
О компании
Контакты
+7 (3513) 289-777
Отправить готовую заявку
Группа компаний A-GROUP
Каталог
Запчасти УРАЛ
Запчасти КАМАЗ
Двигатель
Система питания
Система выпуска газов
Система охлаждения
Механизмы управления
Рулевое управление
Тормозная система
Кабина и кузов
Кабина
Оперение кабины
Платформа и кузов
Трансмиссия
Коробка передач
Коробка раздаточная
Сцепление
Карданная передача
Мосты
Ходовая часть
Колеса и ступицы
Ось передняя
Подвеска
Рама
Электрооборудование
Приборы
Специальное оборудование
Устройство седельно-сцепное
Лебедка
Газовое оборудование
Прочие запчасти
Инструмент и принадлежности
Рукава и РТИ
Крепеж
Подшипники
Запчасти двигателя
Система выпуска газов
Система охлаждения
Система питания
Кабина и оперение
Передок кабины
Оперение кабины
Боковина кабины
Двери кабины
Задок кабины
Основание кабины
Крыша кабины
Сиденья кабины
Вентиляция и отопление кабины
Трансмиссия
Коробка передач
Раздаточная коробка
Карданный вал
Сцепление
Передний мост
Средний мост
Задний мост
Ходовая часть
Рама
Подвеска балансирная
Колеса и ступицы
Механизмы управления
Рулевое управление
Тормозная система
Платформа
Электрооборудование
Приборы
Оборудование и инструменты
Коробка отбора мощности
Лебедка
Устройство седельно-сцепное
Инструменты
Поиск
Графические каталоги
0
Группа компаний A-GROUP
Поиск
0
+7 (3513) 289-777
Обратный звонок
Отправить готовую заявку
Группа компаний A-GROUP
0
Меню
Поиск
Каталог запчастей
Запчасти Камаз
Запчасти Урал
Спецпредложения
О компании
Контакты
Главная
Графические каталоги
КамАЗ
КамАЗ-65226
Кран тормозной двухсекционный
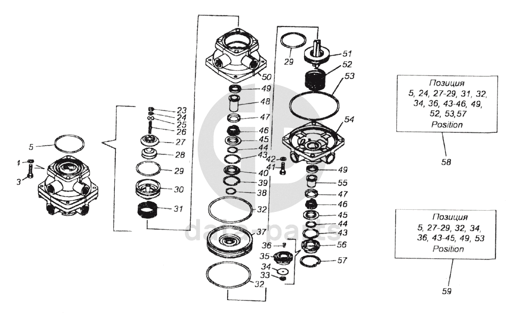
Кран тормозной двухсекционный КамАЗ-65226
3
4
5
5
5
23
24
24
25
26
27
27
27
28
29
29
29
29
30
31
31
32
32
32
32
33
34
34
34
35
36
36
36
37
38
39
40
41
42
43
43
43
43
44
44
45
45
45
46
46
46
47
47
48
49
49
49
49
50
51
52
52
53
53
53
54
55
56
57
57
58
59
100
%
3
201460
Болт М8-6gх30
Кол-во
4
?
Оставить заявку
4
305890
Шайба 8 пружинная
Кол-во
4
?
Оставить заявку
5
100-3514013
Кольцо прокладочное
Кол-во
2
?
Оставить заявку
23
250508
Гайка М6-6Н
Кол-во
1
?
Оставить заявку
24
305887
Шайба 6 пружинная
Кол-во
1
?
Оставить заявку
25
305893
Шайба 6 плоская
Кол-во
1
?
Оставить заявку
26
302200
Винт
Кол-во
1
?
Оставить заявку
27
100-3514056
Тарелка пружины
Кол-во
1
?
Оставить заявку
28
100-3514055
Элемент уравновешивающий
Кол-во
1
?
Оставить заявку
29
100-3513035
Кольцо
Кол-во
2
?
Оставить заявку
30
100-3514052
Поршень верхний
Кол-во
1
?
Оставить заявку
31
100-3514050
Пружина
Кол-во
1
?
Оставить заявку
32
100-3514033
Кольцо
Кол-во
2
?
Оставить заявку
33
100-3514047
Шайба
Кол-во
1
?
Оставить заявку
34
100-3514046
Клапан
Кол-во
1
?
Оставить заявку
35
100-3514045
Корпус
Кол-во
1
?
Оставить заявку
36
100-3514048
Заклепка
Кол-во
1
?
Оставить заявку
37
100-3514032-01
Поршень большой
Кол-во
1
?
Оставить заявку
38
100-3514028
Кольцо
Кол-во
1
?
Оставить заявку
39
489306
Кольцо упорное
Кол-во
1
?
Оставить заявку
40
100-3514030
Обойма
Кол-во
1
?
Оставить заявку
41
201458
Болт М8-6gх25
Кол-во
4
?
Оставить заявку
42
305890
Шайба 8 пружинная
Кол-во
0
?
Оставить заявку
43
100-3514029
Кольцо
Кол-во
2
?
Оставить заявку
44
100-3514028
Кольцо
Кол-во
0
?
Оставить заявку
45
100-3514027
Кольцо опорное
Кол-во
2
?
Оставить заявку
46
100-3514026
Пружина
Кол-во
2
?
Оставить заявку
47
100-3514024
Колпачок
Кол-во
2
?
Оставить заявку
48
100-3514022
Корпус клапана
Кол-во
1
?
Оставить заявку
49
100-3514023
Кольцо
Кол-во
2
?
Оставить заявку
50
100-3514020
Корпус верхний
Кол-во
1
?
Оставить заявку
51
100-3514034
Поршень малый
Кол-во
1
?
Оставить заявку
52
100-3514036
Пружина
Кол-во
1
?
Оставить заявку
53
100-3514049
Кольцо
Кол-во
1
?
Оставить заявку
54
100-3514040
Корпус нижний
Кол-во
1
?
Оставить заявку
55
100-3514042
Корпус клапана
Кол-во
1
?
Оставить заявку
56
100-3514044
Окно выпускное в сборе
Кол-во
1
?
Оставить заявку
57
489310
Кольцо упорное
Кол-во
1
?
Оставить заявку
58
100-3514009
Комплект запасных частей
Кол-во
1
?
Оставить заявку
59
100-3514009-10
Комплект запасных частей
Кол-во
1
?
Оставить заявку
Нужна помощь в подборе запчастей?
Напишите нам и оставьте ваши контактные данные. Мы перезвоним вам в течение 30 минут или раньше!
Кратвольд Елена
Менеджер по продажам
7 (3513) 289-777
koleso787@bk.ru
Вы должны включить JavaScript чтобы использовать эту форму.
Ваш вопрос
Email
Телефон
Отправляя форму вы подтверждаете согласие с
политикой обработки персональных данных
.
Отправить
Оставьте это поле пустым