Каталог запчастей
Запчасти Камаз
Запчасти Урал
Спецпредложения
О компании
Контакты
+7 (3513) 289-777
Отправить готовую заявку
Группа компаний A-GROUP
Каталог
Запчасти УРАЛ
Запчасти КАМАЗ
Двигатель
Система питания
Система выпуска газов
Система охлаждения
Механизмы управления
Рулевое управление
Тормозная система
Кабина и кузов
Кабина
Оперение кабины
Платформа и кузов
Трансмиссия
Коробка передач
Коробка раздаточная
Сцепление
Карданная передача
Мосты
Ходовая часть
Колеса и ступицы
Ось передняя
Подвеска
Рама
Электрооборудование
Приборы
Специальное оборудование
Устройство седельно-сцепное
Лебедка
Газовое оборудование
Прочие запчасти
Инструмент и принадлежности
Рукава и РТИ
Крепеж
Подшипники
Запчасти двигателя
Система выпуска газов
Система охлаждения
Система питания
Кабина и оперение
Передок кабины
Оперение кабины
Боковина кабины
Двери кабины
Задок кабины
Основание кабины
Крыша кабины
Сиденья кабины
Вентиляция и отопление кабины
Трансмиссия
Коробка передач
Раздаточная коробка
Карданный вал
Сцепление
Передний мост
Средний мост
Задний мост
Ходовая часть
Рама
Подвеска балансирная
Колеса и ступицы
Механизмы управления
Рулевое управление
Тормозная система
Платформа
Электрооборудование
Приборы
Оборудование и инструменты
Коробка отбора мощности
Лебедка
Устройство седельно-сцепное
Инструменты
Поиск
Графические каталоги
0
Группа компаний A-GROUP
Поиск
0
+7 (3513) 289-777
Обратный звонок
Отправить готовую заявку
Группа компаний A-GROUP
0
Меню
Поиск
Каталог запчастей
Запчасти Камаз
Запчасти Урал
Спецпредложения
О компании
Контакты
Главная
Графические каталоги
КамАЗ
КамАЗ-6522
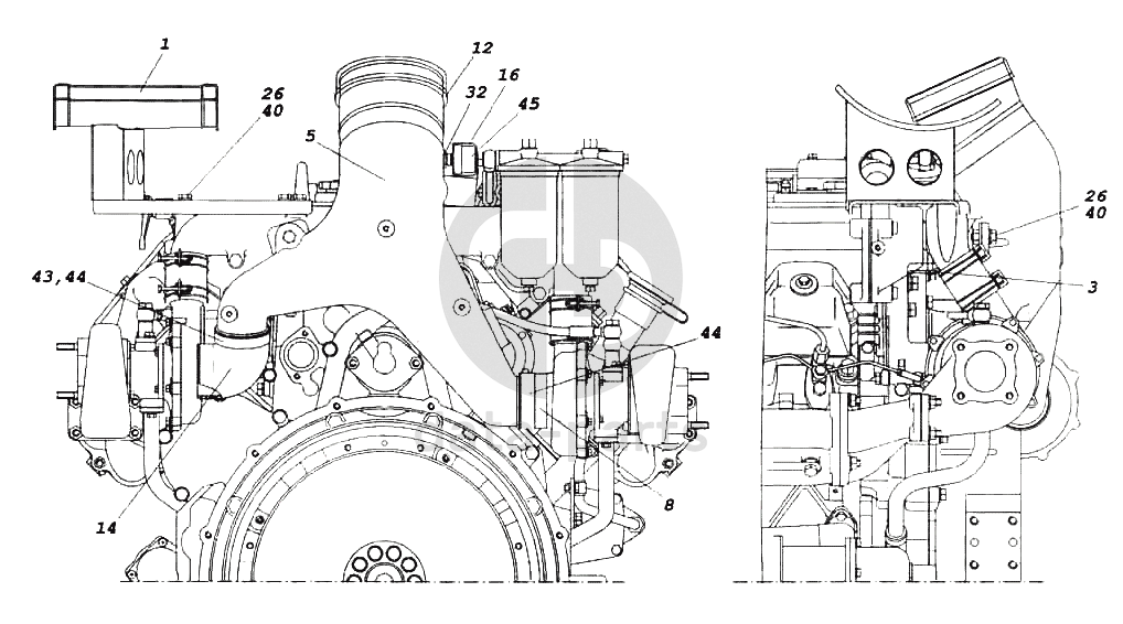
Установка тройника
Установка тройника КамАЗ-6522
1
3
5
8
12
14
16
26
26
32
43
44
44
45
100
%
1
6520-1109172
Кронштейн
Кол-во
1
?
Узнать цену
6520-1109172
Кронштейн КАМАЗ фильтра воздушного
ПАО КАМАЗ
под заказ
2 815 ₽
В корзину
3
740.11-1109610
Кронштейн
Кол-во
1
?
Узнать цену
740.11-1109610
Кронштейн КАМАЗ-ЕВРО-2 3 тройника
ПАО КАМАЗ
под заказ
1 378 ₽
В корзину
5
6520-1109050
Тройник
Кол-во
1
?
Узнать цену
6520-1109050
Тройник КАМАЗ-6520 фильтра воздушного
ПАО КАМАЗ
под заказ
12 186 ₽
В корзину
8
54112-1109278
Шланг соединительный
Кол-во
1
?
Оставить заявку
12
7405-1109592
Заглушка
Кол-во
1
?
Оставить заявку
14
43114-1109600
Шланг угловой
Кол-во
1
?
Оставить заявку
16
6520-1109602
Колпачок защитный
Кол-во
1
?
Оставить заявку
26
1/13069/21
Болт М10х1,25-6gх30
Кол-во
3
?
Оставить заявку
32
1/02800/60
Прокладка уплотнительная 14х20х1,5
Кол-во
1
?
Узнать цену
1/02800/60
ПРОКЛАДКА 14Х20Х1.5,
АО АЗ Урал
под заказ
25 ₽
В корзину
43
СБИТ.305419.004-27
Хомут стяжной (70-90)х13 СБИТ.30541 9.003 ТУ
Кол-во
4
?
Оставить заявку
44
ТОRRО 70-90/12-С7W1
Хомут фирмы "NОRМА"
Кол-во
4
?
Оставить заявку
45
1323839600
Датчик сигнализатора засоренности воздушного фильтра
Кол-во
1
?
Оставить заявку
Нужна помощь в подборе запчастей?
Напишите нам и оставьте ваши контактные данные. Мы перезвоним вам в течение 30 минут или раньше!
Кратвольд Елена
Менеджер по продажам
7 (3513) 289-777
koleso787@bk.ru
Вы должны включить JavaScript чтобы использовать эту форму.
Ваш вопрос
Email
Телефон
Отправляя форму вы подтверждаете согласие с
политикой обработки персональных данных
.
Отправить
Оставьте это поле пустым