Каталог запчастей
Запчасти Камаз
Запчасти Урал
Спецпредложения
О компании
Контакты
+7 (3513) 289-777
Отправить готовую заявку
Группа компаний A-GROUP
Каталог
Запчасти УРАЛ
Запчасти КАМАЗ
Двигатель
Система питания
Система выпуска газов
Система охлаждения
Механизмы управления
Рулевое управление
Тормозная система
Кабина и кузов
Кабина
Оперение кабины
Платформа и кузов
Трансмиссия
Коробка передач
Коробка раздаточная
Сцепление
Карданная передача
Мосты
Ходовая часть
Колеса и ступицы
Ось передняя
Подвеска
Рама
Электрооборудование
Приборы
Специальное оборудование
Устройство седельно-сцепное
Лебедка
Газовое оборудование
Прочие запчасти
Инструмент и принадлежности
Рукава и РТИ
Крепеж
Подшипники
Запчасти двигателя
Система выпуска газов
Система охлаждения
Система питания
Кабина и оперение
Передок кабины
Оперение кабины
Боковина кабины
Двери кабины
Задок кабины
Основание кабины
Крыша кабины
Сиденья кабины
Вентиляция и отопление кабины
Трансмиссия
Коробка передач
Раздаточная коробка
Карданный вал
Сцепление
Передний мост
Средний мост
Задний мост
Ходовая часть
Рама
Подвеска балансирная
Колеса и ступицы
Механизмы управления
Рулевое управление
Тормозная система
Платформа
Электрооборудование
Приборы
Оборудование и инструменты
Коробка отбора мощности
Лебедка
Устройство седельно-сцепное
Инструменты
Поиск
Графические каталоги
0
Группа компаний A-GROUP
Поиск
0
+7 (3513) 289-777
Обратный звонок
Отправить готовую заявку
Группа компаний A-GROUP
0
Меню
Поиск
Каталог запчастей
Запчасти Камаз
Запчасти Урал
Спецпредложения
О компании
Контакты
Главная
Графические каталоги
КамАЗ
КамАЗ-65116
Рессора задняя
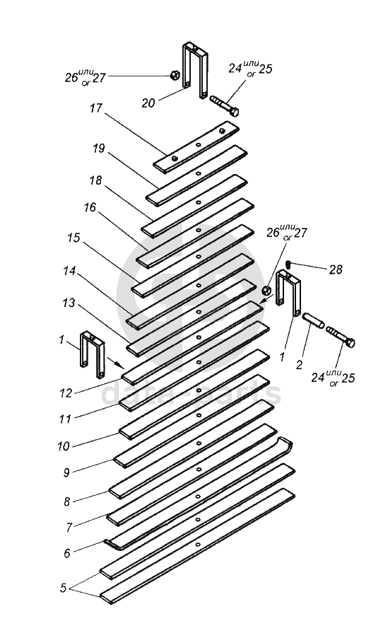
Рессора задняя КамАЗ-65116
1
1
2
5
6
7
8
9
10
11
12
13
14
15
16
16
19
17
20
24
24
25
25
26
26
27
27
28
18
100
%
1
5322-2912060
Хомут
Кол-во
2
?
Оставить заявку
2
5320-2912068
Втулка распорная
Кол-во
2
?
Оставить заявку
5
5322-2912101
Лист №1 задней рессоры
Кол-во
2
?
Оставить заявку
6
4310-2912103
Лист №3 задней рессоры
Кол-во
1
?
Оставить заявку
7
55111-2912104-01
Лист №4 задней рессоры
Кол-во
1
?
Оставить заявку
8
5322-2912105
Лист задней рессоры
Кол-во
1
?
Оставить заявку
9
5322-2912106
Лист задней рессоры
Кол-во
1
?
Оставить заявку
10
5322-2912107
Лист задней рессоры
Кол-во
1
?
Оставить заявку
11
5322-2912108
Лист задней рессоры
Кол-во
1
?
Оставить заявку
12
55111-2912108-01
Лист №8 задней рессоры
Кол-во
1
?
Оставить заявку
13
55111-2912109-01
Лист №9 задней рессоры
Кол-во
1
?
Оставить заявку
14
55111-2912110-01
Лист №10 задней рессоры
Кол-во
1
?
Оставить заявку
15
55111-2912111-01
Лист №11 задней рессоры
Кол-во
1
?
Оставить заявку
16
55111-2912112-01
Лист №12 задней рессоры
Кол-во
1
?
Оставить заявку
16
4310-2912112
Лист № 12 задней рессоры
Кол-во
1
?
Оставить заявку
17
5322-2912115
Лист №15 задней рессоры
Кол-во
1
?
Оставить заявку
18
5320-2902113
Лист № 13
Кол-во
0
?
Оставить заявку
19
5322-2912114
Лист №14 задней рессоры
Кол-во
1
?
Оставить заявку
20
5322-2912149
Хомут стяжной
Кол-во
1
?
Оставить заявку
24
Болт М10х1,25-6gх120.88.016
Болт М10х1,25-6gх120.88.016
Кол-во
3
?
Оставить заявку
25
1/59722/21
Болт М10х1,25-6gх120
Кол-во
3
?
Оставить заявку
26
Гайка М10х1,25-6Н.6.016
Гайка М10х1,25-6Н.6.016
Кол-во
3
?
Оставить заявку
27
1/21647/11
Гайка М10х1,25-6Н
Кол-во
3
?
Оставить заявку
28
Заклепка 12х35
Заклепка 12х35
Кол-во
2
?
Оставить заявку
Нужна помощь в подборе запчастей?
Напишите нам и оставьте ваши контактные данные. Мы перезвоним вам в течение 30 минут или раньше!
Кратвольд Елена
Менеджер по продажам
7 (3513) 289-777
koleso787@bk.ru
Вы должны включить JavaScript чтобы использовать эту форму.
Ваш вопрос
Email
Телефон
Отправляя форму вы подтверждаете согласие с
политикой обработки персональных данных
.
Отправить
Оставьте это поле пустым