Каталог запчастей
Запчасти Камаз
Запчасти Урал
Спецпредложения
О компании
Контакты
+7 (3513) 289-777
Отправить готовую заявку
Группа компаний A-GROUP
Каталог
Запчасти УРАЛ
Запчасти КАМАЗ
Двигатель
Система питания
Система выпуска газов
Система охлаждения
Механизмы управления
Рулевое управление
Тормозная система
Кабина и кузов
Кабина
Оперение кабины
Платформа и кузов
Трансмиссия
Коробка передач
Коробка раздаточная
Сцепление
Карданная передача
Мосты
Ходовая часть
Колеса и ступицы
Ось передняя
Подвеска
Рама
Электрооборудование
Приборы
Специальное оборудование
Устройство седельно-сцепное
Лебедка
Газовое оборудование
Прочие запчасти
Инструмент и принадлежности
Рукава и РТИ
Крепеж
Подшипники
Запчасти двигателя
Система выпуска газов
Система охлаждения
Система питания
Кабина и оперение
Передок кабины
Оперение кабины
Боковина кабины
Двери кабины
Задок кабины
Основание кабины
Крыша кабины
Сиденья кабины
Вентиляция и отопление кабины
Трансмиссия
Коробка передач
Раздаточная коробка
Карданный вал
Сцепление
Передний мост
Средний мост
Задний мост
Ходовая часть
Рама
Подвеска балансирная
Колеса и ступицы
Механизмы управления
Рулевое управление
Тормозная система
Платформа
Электрооборудование
Приборы
Оборудование и инструменты
Коробка отбора мощности
Лебедка
Устройство седельно-сцепное
Инструменты
Поиск
Графические каталоги
0
Группа компаний A-GROUP
Поиск
0
+7 (3513) 289-777
Обратный звонок
Отправить готовую заявку
Группа компаний A-GROUP
0
Меню
Поиск
Каталог запчастей
Запчасти Камаз
Запчасти Урал
Спецпредложения
О компании
Контакты
Главная
Графические каталоги
КамАЗ
КамАЗ-65116
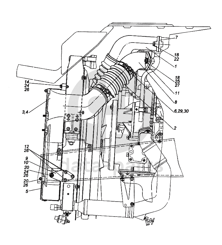
Установка системы ОНВ
Установка системы ОНВ КамАЗ-65116
1
2
3
4
5
6
7
8
9
10
11
12
14
18
18
20
20
22
24
24
25
26
26
26
26
27
29
30
100
%
1
53205-1170125
Патрубок отводящий
Кол-во
1
?
Узнать цену
53205-1170125
Патрубок КАМАЗ отводящий системы ОНВ
ПАО КАМАЗ
В наличии 1 шт.
7 908 ₽
В корзину
2
53205-1170245
Рукав 100х112
Кол-во
1
?
Оставить заявку
3
53205-1170300
Теплообменник охлаждения наддувочного воздуха
Кол-во
1
?
Оставить заявку
4
53205-1170300-01
Теплообменник охлаждения наддувочного воздуха
Кол-во
1
?
Оставить заявку
5
53205-1170350
Сетка защитная
Кол-во
1
?
Оставить заявку
6
53205-1170400
Хомут
Кол-во
4
?
Оставить заявку
7
7406.1115115
Прокладка трубы подводящей
Кол-во
1
?
Оставить заявку
8
53205-1170132
Патрубок подводящий
Кол-во
1
?
Узнать цену
53205-1170132
Патрубок КАМАЗ подводящий
ПАО КАМАЗ
под заказ
3 599 ₽
В корзину
9
53205-1170251
Кронштейн левый
Кол-во
1
?
Узнать цену
53205-1170251
Кронштейн
ПАО КАМАЗ
под заказ
412 ₽
В корзину
10
53205-1170250
Кронштейн правый
Кол-во
1
?
Узнать цену
53205-1170250
Кронштейн
ПАО КАМАЗ
под заказ
415 ₽
В корзину
11
53205-1170254
Прокладка патрубка подводящего
Кол-во
1
?
Оставить заявку
12
1/60432/21
Болт М8-6gх16
Кол-во
6
?
Оставить заявку
14
1/60440/21
Болт М8-6gх40
Кол-во
2
?
Оставить заявку
18
1/12347/21
Болт М10х1,25-6gх45
Кол-во
2
?
Оставить заявку
20
1/61008/11
Гайка М8х1,25-6Н
Кол-во
6
?
Оставить заявку
22
1/26014/73
Шайба 10 волнистая
Кол-во
2
?
Оставить заявку
24
1/26467/01
Шайба плоская 8х20х2
Кол-во
4
?
Оставить заявку
25
1/26386/01
Шайба плоская 10,6х18х2
Кол-во
2
?
Оставить заявку
26
1/05166/73
Шайба 8 пружинная
Кол-во
14
?
Оставить заявку
27
1/05168/73
Шайба 10 пружинная
Кол-во
2
?
Оставить заявку
29
ТОRRО 100-120/12 С7W2
Хомут с червячной резьбой DIN 3017
Кол-во
4
?
Оставить заявку
30
Хомут червячный 87-112/12 АВА ОRIGINАL
Хомут червячный 87-112/12 АВА ОRIGINАL
Кол-во
4
?
Оставить заявку
Нужна помощь в подборе запчастей?
Напишите нам и оставьте ваши контактные данные. Мы перезвоним вам в течение 30 минут или раньше!
Кратвольд Елена
Менеджер по продажам
7 (3513) 289-777
koleso787@bk.ru
Вы должны включить JavaScript чтобы использовать эту форму.
Ваш вопрос
Email
Телефон
Отправляя форму вы подтверждаете согласие с
политикой обработки персональных данных
.
Отправить
Оставьте это поле пустым