Каталог запчастей
Запчасти Камаз
Запчасти Урал
Спецпредложения
О компании
Контакты
+7 (3513) 289-777
Отправить готовую заявку
Группа компаний A-GROUP
Каталог
Запчасти УРАЛ
Запчасти КАМАЗ
Двигатель
Система питания
Система выпуска газов
Система охлаждения
Механизмы управления
Рулевое управление
Тормозная система
Кабина и кузов
Кабина
Оперение кабины
Платформа и кузов
Трансмиссия
Коробка передач
Коробка раздаточная
Сцепление
Карданная передача
Мосты
Ходовая часть
Колеса и ступицы
Ось передняя
Подвеска
Рама
Электрооборудование
Приборы
Специальное оборудование
Устройство седельно-сцепное
Лебедка
Газовое оборудование
Прочие запчасти
Инструмент и принадлежности
Рукава и РТИ
Крепеж
Подшипники
Запчасти двигателя
Система выпуска газов
Система охлаждения
Система питания
Кабина и оперение
Передок кабины
Оперение кабины
Боковина кабины
Двери кабины
Задок кабины
Основание кабины
Крыша кабины
Сиденья кабины
Вентиляция и отопление кабины
Трансмиссия
Коробка передач
Раздаточная коробка
Карданный вал
Сцепление
Передний мост
Средний мост
Задний мост
Ходовая часть
Рама
Подвеска балансирная
Колеса и ступицы
Механизмы управления
Рулевое управление
Тормозная система
Платформа
Электрооборудование
Приборы
Оборудование и инструменты
Коробка отбора мощности
Лебедка
Устройство седельно-сцепное
Инструменты
Поиск
Графические каталоги
0
Группа компаний A-GROUP
Поиск
0
+7 (3513) 289-777
Обратный звонок
Отправить готовую заявку
Группа компаний A-GROUP
0
Меню
Поиск
Каталог запчастей
Запчасти Камаз
Запчасти Урал
Спецпредложения
О компании
Контакты
Главная
Графические каталоги
КамАЗ
КамАЗ-6460
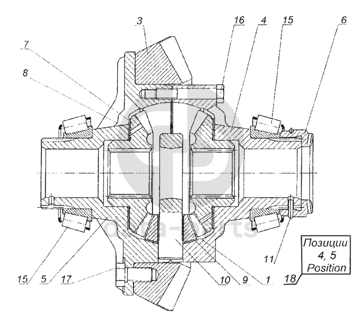
Дифференциал моста заднего
Дифференциал моста заднего КамАЗ-6460
1
3
4
4
5
5
6
7
8
9
10
11
15
15
16
17
18
100
%
1
53212-2403054
Сателлит дифференциала
Кол-во
4
?
Оставить заявку
3
6520-2402060-10
Шестерня ведомая заднего моста
Кол-во
1
?
Узнать цену
6520-2402060-10
Шестерня ведомая коническая
ПАО КАМАЗ
под заказ
16 998 ₽
В корзину
4
6520-2403018
Чашка дифференциала правая
Кол-во
1
?
Оставить заявку
5
6520-2403019
Чашка дифференциала левая
Кол-во
1
?
Оставить заявку
6
55102-2403026
Муфта левой чашки
Кол-во
1
?
Узнать цену
55102-2403026
Муфта КАМАЗ-ЕВРО левой чашки МКД
ПАО КАМАЗ
В наличии 2 шт.
2 400 ₽
В корзину
7
53205-2403050
Шестерня полуоси
Кол-во
2
?
Узнать цену
53205-2403050
Шестерня КАМАЗ-ЕВРО полуоси
ПАО КАМАЗ
В наличии 53 шт.
3 121 ₽
В корзину
8
5320-2403051
Шайба опорная
Кол-во
2
?
Узнать цену
5320-2403051
Шайба КАМАЗ ЗИЛ опорная шестерни полуоси
ПАО КАМАЗ
В наличии 62 шт.
227 ₽
В корзину
9
5320-2403058
Шайба опорная
Кол-во
4
?
Узнать цену
5320-2403058
Шайба КАМАЗ сателлита межколесного дифференциала
ПАО КАМАЗ
В наличии 138 шт.
70 ₽
В корзину
10
5320-2403060
Крестовина дифференциала заднего моста
Кол-во
1
?
Оставить заявку
11
55102-2403077
Кольцо стопорное
Кол-во
1
?
Узнать цену
55102-2403077
Кольцо КАМАЗ-ЕВРО стопорное муфты
ПАО КАМАЗ
под заказ
154 ₽
В корзину
15
Кольцо внутреннее с сепаратором и ролика
Кольцо внутреннее с сепаратором и роликами подшипника 6-7516А1
Кол-во
1
?
Оставить заявку
16
1/42754/31
Болт самоконтрящийся М12х1,25-6gх75
Кол-во
12
?
Оставить заявку
17
1/42577/31
Болт самоконтрящийся М16х1,5-6gх30
Кол-во
12
?
Оставить заявку
18
6520-2403016
Чашки дифференциала (комплект)
Кол-во
1
?
Узнать цену
6520-2403016
Чашка КАМАЗ-6520 дифференциала комплект
ПАО КАМАЗ
В наличии 1 шт.
49 733 ₽
В корзину
Нужна помощь в подборе запчастей?
Напишите нам и оставьте ваши контактные данные. Мы перезвоним вам в течение 30 минут или раньше!
Кратвольд Елена
Менеджер по продажам
7 (3513) 289-777
koleso787@bk.ru
Вы должны включить JavaScript чтобы использовать эту форму.
Ваш вопрос
Email
Телефон
Отправляя форму вы подтверждаете согласие с
политикой обработки персональных данных
.
Отправить
Оставьте это поле пустым