Каталог запчастей
Запчасти Камаз
Запчасти Урал
Спецпредложения
О компании
Контакты
+7 (3513) 289-777
Отправить готовую заявку
Группа компаний A-GROUP
Каталог
Запчасти УРАЛ
Запчасти КАМАЗ
Двигатель
Система питания
Система выпуска газов
Система охлаждения
Механизмы управления
Рулевое управление
Тормозная система
Кабина и кузов
Кабина
Оперение кабины
Платформа и кузов
Трансмиссия
Коробка передач
Коробка раздаточная
Сцепление
Карданная передача
Мосты
Ходовая часть
Колеса и ступицы
Ось передняя
Подвеска
Рама
Электрооборудование
Приборы
Специальное оборудование
Устройство седельно-сцепное
Лебедка
Газовое оборудование
Прочие запчасти
Инструмент и принадлежности
Рукава и РТИ
Крепеж
Подшипники
Запчасти двигателя
Система выпуска газов
Система охлаждения
Система питания
Кабина и оперение
Передок кабины
Оперение кабины
Боковина кабины
Двери кабины
Задок кабины
Основание кабины
Крыша кабины
Сиденья кабины
Вентиляция и отопление кабины
Трансмиссия
Коробка передач
Раздаточная коробка
Карданный вал
Сцепление
Передний мост
Средний мост
Задний мост
Ходовая часть
Рама
Подвеска балансирная
Колеса и ступицы
Механизмы управления
Рулевое управление
Тормозная система
Платформа
Электрооборудование
Приборы
Оборудование и инструменты
Коробка отбора мощности
Лебедка
Устройство седельно-сцепное
Инструменты
Поиск
Графические каталоги
0
Группа компаний A-GROUP
Поиск
0
+7 (3513) 289-777
Обратный звонок
Отправить готовую заявку
Группа компаний A-GROUP
0
Меню
Поиск
Каталог запчастей
Запчасти Камаз
Запчасти Урал
Спецпредложения
О компании
Контакты
Главная
Графические каталоги
КамАЗ
КамАЗ-6450 8х8
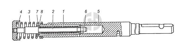
65111-1803022 Шток включения низшей передачи раздаточной коробки в сборе
65111-1803022 Шток включения низшей передачи раздаточной коробки в сборе КамАЗ-6450 8х8
65111-1803022
65111-1803210
1
2
3
4
5
5
6
7
8
100
%
1
5320-2509065
Пружина нажимная
Кол-во
1
?
Оставить заявку
2
4310-1803255
Стержень нажимной пружины
Кол-во
1
?
Оставить заявку
3
4310-1803261
Пружина возвратная
Кол-во
1
?
Оставить заявку
4
4310-1803263
Стакан
Кол-во
1
?
Узнать цену
4310-1803263
Стакан
ПАО КАМАЗ
под заказ
313 ₽
В корзину
5
65111-1803211
Шток включения высшей передачи раздаточной коробки
Кол-во
1
?
Узнать цену
65111-1803211
Шток включения высшей передачи
ПАО КАМАЗ
под заказ
3 601 ₽
В корзину
5
65111-1803024
Шток включения низшей передачи раздаточной коробки
Кол-во
1
?
Узнать цену
65111-1803024
Шток включения низшей передачи
ПАО КАМАЗ
В наличии 1 шт.
3 608 ₽
В корзину
6
251645
Гайка М8-6Н ОСТ 37.001.197-75
Кол-во
1
?
Оставить заявку
7
862822
Кольцо упорное 21,8х2х1
Кол-во
1
?
Оставить заявку
8
862513
Шайба плоская 8х20
Кол-во
2
?
Оставить заявку
None
65111-1803210
Шток включения высшей передачи раздаточной коробки в сборе
Кол-во
0
?
Узнать цену
65111-1803210
Шток включения высш.передачи
ПАО КАМАЗ
под заказ
5 753 ₽
В корзину
None
65111-1803022
Шток включения низшей передачи раздаточной коробки в сборе
Кол-во
0
?
Узнать цену
65111-1803022
Шток включения низш.передачи
ПАО КАМАЗ
под заказ
5 739 ₽
В корзину
Нужна помощь в подборе запчастей?
Напишите нам и оставьте ваши контактные данные. Мы перезвоним вам в течение 30 минут или раньше!
Кратвольд Елена
Менеджер по продажам
7 (3513) 289-777
koleso787@bk.ru
Вы должны включить JavaScript чтобы использовать эту форму.
Ваш вопрос
Email
Телефон
Отправляя форму вы подтверждаете согласие с
политикой обработки персональных данных
.
Отправить
Оставьте это поле пустым