Каталог запчастей
Запчасти Камаз
Запчасти Урал
Спецпредложения
О компании
Контакты
7 (3513) 289-777
Отправить готовую заявку
Группа компаний A-GROUP
Каталог
Запчасти УРАЛ
Запчасти КАМАЗ
Двигатель
Система питания
Система выпуска газов
Система охлаждения
Механизмы управления
Рулевое управление
Тормозная система
Кабина и кузов
Кабина
Оперение кабины
Платформа и кузов
Трансмиссия
Коробка передач
Коробка раздаточная
Сцепление
Карданная передача
Мосты
Ходовая часть
Колеса и ступицы
Ось передняя
Подвеска
Рама
Электрооборудование
Приборы
Специальное оборудование
Устройство седельно-сцепное
Лебедка
Газовое оборудование
Прочие запчасти
Инструмент и принадлежности
Рукава и РТИ
Крепеж
Подшипники
Запчасти двигателя
Система выпуска газов
Система охлаждения
Система питания
Кабина и оперение
Передок кабины
Оперение кабины
Боковина кабины
Двери кабины
Задок кабины
Основание кабины
Крыша кабины
Сиденья кабины
Вентиляция и отопление кабины
Трансмиссия
Коробка передач
Раздаточная коробка
Карданный вал
Сцепление
Передний мост
Средний мост
Задний мост
Ходовая часть
Рама
Подвеска балансирная
Колеса и ступицы
Механизмы управления
Рулевое управление
Тормозная система
Платформа
Электрооборудование
Приборы
Оборудование и инструменты
Коробка отбора мощности
Лебедка
Устройство седельно-сцепное
Инструменты
Поиск
Графические каталоги
0
Группа компаний A-GROUP
Поиск
0
+7 (3513) 289-777
Обратный звонок
Отправить готовую заявку
Группа компаний A-GROUP
0
Меню
Поиск
Каталог запчастей
Запчасти Камаз
Запчасти Урал
Спецпредложения
О компании
Контакты
Главная
Графические каталоги
КамАЗ
КамАЗ-63501 8х8
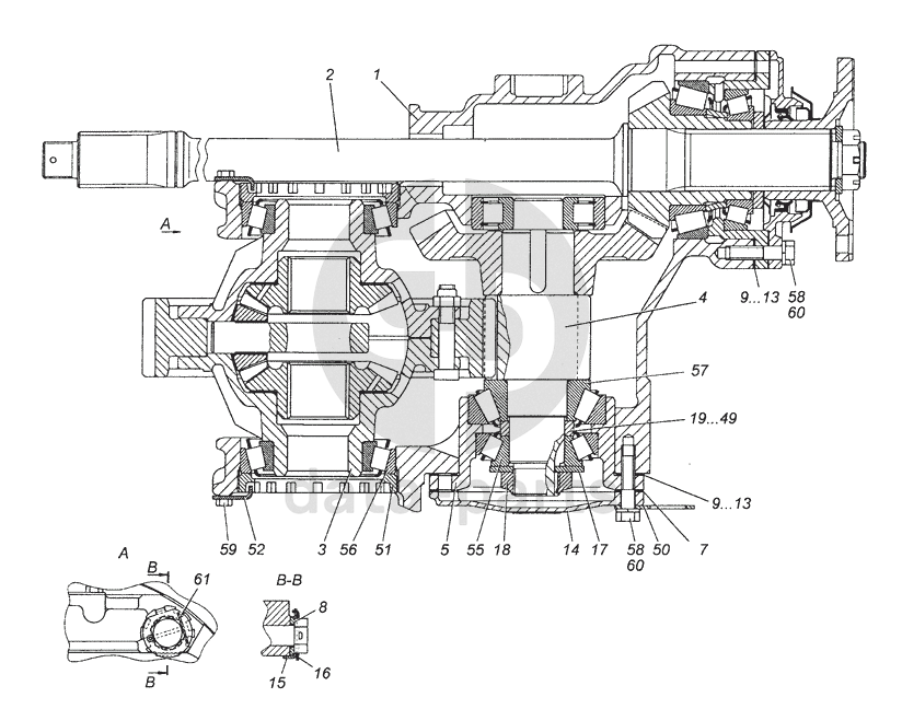
6350-2322010-10 Передача главная переднего второго моста
6350-2322010-10
6350-2322010-20
6350-2322010-30
6350-2322010-40
1
2
3
3
3
3
4
4
4
4
5
7
8
9
9
10
10
11
11
12
12
13
13
14
15
16
17
18
19
49
50
51
52
55
56
57
58
58
59
60
60
61
100
%
1
6350-2322015
Картер редуктора переднего второго моста
Кол-во
1
?
Узнать цену
6350-2322015
Картер главной передачи
ПАО КАМАЗ
под заказ
58 520.17 ₽
В корзину
2
6350-2322021
Вал ведущий переднего моста
Кол-во
1
?
Оставить заявку
3
6350-2323010-30
Дифференциал переднего моста
Кол-во
1
?
Оставить заявку
3
6350-2323010-20
Дифференциал переднего моста
Кол-во
1
?
Оставить заявку
3
6350-2323010-10
Дифференциал переднего моста
Кол-во
1
?
Оставить заявку
3
6350-2323010-40
Дифференциал переднего моста
Кол-во
1
?
Оставить заявку
4
53205-2402064-20
Шестерня ведомая коническая
Кол-во
1
?
Оставить заявку
4
53205-2402064-30
Шестерня ведомая коническая и ведущая цилиндрическая в сборе
Кол-во
1
?
Узнать цену
53205-2402064-30
Шестерня
ПАО КАМАЗ
под заказ
42 132.97 ₽
В корзину
4
53205-2402064-40
Шестерня ведомая коническая и ведущая цилиндрическая в сборе
Кол-во
1
?
Узнать цену
53205-2402064-40
Шестерня КАМАЗ-ЕВРО ведущая цилиндрическая ведомая коническая в сборе
ПАО КАМАЗ
под заказ
34 065.08 ₽
В корзину
4
53205-2402064-10
Шестерня ведомая коническая в сборе
Кол-во
1
?
Узнать цену
53205-2402064-10
Шестерня
ПАО КАМАЗ
под заказ
33 389.94 ₽
В корзину
5
5320-2402108
Стакан подшипников в сборе
Кол-во
1
?
Оставить заявку
7
5320-2402047
Прокладка
Кол-во
1
?
Оставить заявку
8
53205-2402078
Шайба
Кол-во
4
?
Узнать цену
53205-2402078
Шайба
ПАО КАМАЗ
под заказ
312.36 ₽
В корзину
9
5320-2402096
Прокладка регулировочная
Кол-во
2
?
Узнать цену
5320-2402096
Прокладка регулировочная
ПАО КАМАЗ
под заказ
285.20 ₽
В корзину
10
5320-2402097
Прокладка регулировочная
Кол-во
4
?
Узнать цену
5320-2402097
Прокладка регулировочная
ПАО КАМАЗ
под заказ
242.80 ₽
В корзину
11
5320-2402098
Прокладка регулировочная
Кол-во
4
?
Узнать цену
5320-2402098
Прокладка КАМАЗ регулировочная h=0.2мм
ПАО КАМАЗ
под заказ
93.10 ₽
В корзину
12
5320-2402099
Прокладка регулировочная
Кол-во
8
?
Узнать цену
5320-2402099
Прокладка КАМАЗ регулировочная h=0.1мм
ПАО КАМАЗ
под заказ
88.94 ₽
В корзину
13
5320-2402100
Прокладка регулировочная
Кол-во
8
?
Узнать цену
5320-2402100
Прокладка КАМАЗ регулировочная h=0.05мм
ПАО КАМАЗ
под заказ
142.24 ₽
В корзину
14
5320-2402126
Крышка стакана подшипника
Кол-во
1
?
Узнать цену
5320-2402126
Крышка КАМАЗ стакана подшипников
ПАО КАМАЗ
под заказ
626.32 ₽
В корзину
15
53205-2402131
Шайба стопорная
Кол-во
4
?
Узнать цену
53205-2402131
Шайба КАМАЗ-ЕВРО стопорная бугельной крышки
ПАО КАМАЗ
В наличии 10 шт.
48.36 ₽
В корзину
16
53205-2402132
Шайба замковая
Кол-во
4
?
Узнать цену
53205-2402132
Шайба КАМАЗ замковая бугельной крышки
ПАО КАМАЗ
В наличии 60 шт.
45.61 ₽
В корзину
17
5320-2402249
Шайба опорная
Кол-во
1
?
Узнать цену
5320-2402249
Шайба опорная
ПАО КАМАЗ
В наличии 19 шт.
760.13 ₽
В корзину
18
53205-2402269
Гайка подшипника
Кол-во
1
?
Узнать цену
53205-2402269
Гайка КАМАЗ-ЕВРО подшипника ведущей шестерни
ПАО КАМАЗ
под заказ
658.27 ₽
В корзину
19
53205-2402288
Шайба регулировочная
Кол-во
1
?
Узнать цену
53205-2402288
Шайба регулировочная КАМАЗ-53205
ПАО КАМАЗ
В наличии 3 шт.
477.30 ₽
В корзину
20
53205-2402289
Шайба регулировочная
Кол-во
1
?
Узнать цену
53205-2402289
Шайба регулировочная
ПАО КАМАЗ
под заказ
365.43 ₽
В корзину
21
53205-2402290
Шайба регулировочная
Кол-во
1
?
Узнать цену
53205-2402290
Шайба регулировочная
ПАО КАМАЗ
под заказ
365.43 ₽
В корзину
22
53205-2402291
Шайба регулировочная
Кол-во
1
?
Узнать цену
53205-2402291
Шайба регулировочная
ПАО КАМАЗ
под заказ
360.23 ₽
В корзину
23
53205-2402292
Шайба регулировочная
Кол-во
1
?
Узнать цену
53205-2402292
Шайба регулировочная
ПАО КАМАЗ
под заказ
360.23 ₽
В корзину
24
53205-2402293
Шайба регулировочная
Кол-во
1
?
Узнать цену
53205-2402293
Шайба регулировочная
ПАО КАМАЗ
под заказ
360.23 ₽
В корзину
25
53205-2402294
Шайба регулировочная
Кол-во
1
?
Узнать цену
53205-2402294
Шайба регулировочная
ПАО КАМАЗ
под заказ
360.23 ₽
В корзину
26
53205-2402295
Шайба регулировочная
Кол-во
1
?
Узнать цену
53205-2402295
Шайба регулировочная
ПАО КАМАЗ
под заказ
360.79 ₽
В корзину
27
53205-2402296
Шайба регулировочная
Кол-во
1
?
Узнать цену
53205-2402296
Шайба регулировочная КАМАЗ-53205
ПАО КАМАЗ
под заказ
448.77 ₽
В корзину
28
53205-2402297
Шайба регулировочная
Кол-во
1
?
Узнать цену
53205-2402297
Шайба регулировочная
ПАО КАМАЗ
под заказ
360.79 ₽
В корзину
29
53205-2402298
Шайба регулировочная
Кол-во
1
?
Узнать цену
53205-2402298
Шайба регулировочная
ПАО КАМАЗ
под заказ
360.79 ₽
В корзину
30
53205-2402299
Шайба регулировочная
Кол-во
1
?
Узнать цену
53205-2402299
Шайба регулировочная
ПАО КАМАЗ
под заказ
360.79 ₽
В корзину
31
53205-2402300
Шайба регулировочная
Кол-во
1
?
Узнать цену
53205-2402300
Шайба регулировочная
ПАО КАМАЗ
под заказ
360.79 ₽
В корзину
32
53205-2402301
Шайба регулировочная
Кол-во
1
?
Узнать цену
53205-2402301
Шайба регулировочная
ПАО КАМАЗ
под заказ
360.79 ₽
В корзину
33
53205-2402302
Шайба регулировочная
Кол-во
1
?
Узнать цену
53205-2402302
Шайба регулировочная
ПАО КАМАЗ
под заказ
360.79 ₽
В корзину
34
53205-2402303
Шайба регулировочная
Кол-во
1
?
Узнать цену
53205-2402303
Шайба регулировочная КАМАЗ-53205
ПАО КАМАЗ
под заказ
360.79 ₽
В корзину
35
53205-2402304
Шайба регулировочная
Кол-во
1
?
Узнать цену
53205-2402304
Шайба регулировочная
ПАО КАМАЗ
под заказ
360.79 ₽
В корзину
36
53205-2402305
Шайба регулировочная
Кол-во
1
?
Узнать цену
53205-2402305
Шайба регулировочная
ПАО КАМАЗ
под заказ
360.79 ₽
В корзину
37
53205-2402306
Шайба регулировочная
Кол-во
1
?
Узнать цену
53205-2402306
Шайба регулировочная КАМАЗ-53205
ПАО КАМАЗ
под заказ
448.77 ₽
В корзину
38
53205-2402307
Шайба регулировочная
Кол-во
1
?
Узнать цену
53205-2402307
Шайба регулировочная
ПАО КАМАЗ
под заказ
360.84 ₽
В корзину
39
53205-2402308
Шайба регулировочная
Кол-во
1
?
Узнать цену
53205-2402308
Шайба регулировочная
ПАО КАМАЗ
под заказ
360.84 ₽
В корзину
40
53205-2402309
Шайба регулировочная
Кол-во
1
?
Узнать цену
53205-2402309
Шайба регулировочная
ПАО КАМАЗ
под заказ
360.84 ₽
В корзину
41
53205-2402310
Шайба регулировочная
Кол-во
1
?
Узнать цену
53205-2402310
Шайба регулировочная
ПАО КАМАЗ
под заказ
360.84 ₽
В корзину
42
53205-2402311
Шайба регулировочная
Кол-во
1
?
Узнать цену
53205-2402311
Шайба регулировочная
ПАО КАМАЗ
под заказ
309.33 ₽
В корзину
43
53205-2402312
Шайба регулировочная
Кол-во
1
?
Узнать цену
53205-2402312
Шайба регулировочная
ПАО КАМАЗ
под заказ
309.33 ₽
В корзину
44
53205-2402313
Шайба регулировочная
Кол-во
1
?
Узнать цену
53205-2402313
Шайба регулировочная
ПАО КАМАЗ
под заказ
309.33 ₽
В корзину
45
53205-2402314
Шайба регулировочная
Кол-во
1
?
Узнать цену
53205-2402314
Шайба регулировочная
ПАО КАМАЗ
под заказ
309.33 ₽
В корзину
46
53205-2402315
Шайба регулировочная
Кол-во
1
?
Узнать цену
53205-2402315
Шайба регулировочная
ПАО КАМАЗ
под заказ
308.84 ₽
В корзину
47
53205-2402316
Шайба регулировочная
Кол-во
1
?
Узнать цену
53205-2402316
Шайба регулировочная
ПАО КАМАЗ
под заказ
309.33 ₽
В корзину
48
53205-2402317
Шайба регулировочная
Кол-во
1
?
Узнать цену
53205-2402317
Шайба регулировочная
ПАО КАМАЗ
под заказ
309.33 ₽
В корзину
49
53205-2402318
Шайба регулировочная
Кол-во
1
?
Узнать цену
53205-2402318
Шайба регулировочная КАМАЗ-53205
ПАО КАМАЗ
под заказ
455.42 ₽
В корзину
50
5320-2402371
Скоба редуктора
Кол-во
1
?
Узнать цену
5320-2402371
Скоба КАМАЗ редуктора
ПАО КАМАЗ
под заказ
98.55 ₽
В корзину
51
53205-2403040
Гайка подшипника
Кол-во
2
?
Узнать цену
53205-2403040
Гайка КАМАЗ-ЕВРО бугельная (крупная резьба)
ПАО КАМАЗ
В наличии 31 шт.
1 882.07 ₽
В корзину
52
5320-2403043
Стопор гайки
Кол-во
2
?
Узнать цену
5320-2403043
Стопор КАМАЗ гайки полуоси заднего моста
ПАО КАМАЗ
под заказ
50.42 ₽
В корзину
55
4624433829
Подшипник роликовый конический однорядный с большим углом конуса ГОСТ 520-89
Кол-во
1
?
Оставить заявку
56
4624140819
Подшипник 7216 А роликовый конический однорядный
Кол-во
2
?
Оставить заявку
57
4624434258
Подшипник роликовый конический однорядный с большим углом конуса ГОСТ 520-89
Кол-во
1
?
Оставить заявку
58
1/55408/21
Болт М12х1,25-6gх50
Кол-во
20
?
Оставить заявку
59
1/42376/21
Болт М8-6gх12
Кол-во
4
?
Оставить заявку
60
1/05170/77
Шайба 12 пружинная
Кол-во
20
?
Оставить заявку
61
1/07350/01
Шплинт 4,7х50
Кол-во
1
?
Оставить заявку
None
6350-2322010-40
Передача главная переднего второго моста
Кол-во
0
?
Оставить заявку
None
6350-2322010-30
Передача главная переднего второго моста
Кол-во
0
?
Узнать цену
6350-2322010-30
Главная передача
ПАО КАМАЗ
под заказ
214 707.00 ₽
В корзину
None
6350-2322010-20
Передача главная переднего второго моста
Кол-во
0
?
Оставить заявку
None
6350-2322010-10
Передача главная переднего второго моста
Кол-во
0
?
Узнать цену
6350-2322010-10
Главная передача
ПАО КАМАЗ
под заказ
193 222.79 ₽
В корзину
Нужна помощь в подборе запчастей?
Напишите нам и оставьте ваши контактные данные. Мы перезвоним вам в течение 30 минут или раньше!
Кратвольд Елена
Менеджер по продажам
7 (3513) 289-777
koleso787@bk.ru
Вы должны включить JavaScript чтобы использовать эту форму.
Ваш вопрос
Email
Телефон
Отправляя форму вы подтверждаете согласие с
политикой обработки персональных данных
.
Отправить
Оставьте это поле пустым