Каталог запчастей
Запчасти Камаз
Запчасти Урал
Спецпредложения
О компании
Контакты
+7 (3513) 289-777
Отправить готовую заявку
Группа компаний A-GROUP
Каталог
Запчасти УРАЛ
Запчасти КАМАЗ
Двигатель
Система питания
Система выпуска газов
Система охлаждения
Механизмы управления
Рулевое управление
Тормозная система
Кабина и кузов
Кабина
Оперение кабины
Платформа и кузов
Трансмиссия
Коробка передач
Коробка раздаточная
Сцепление
Карданная передача
Мосты
Ходовая часть
Колеса и ступицы
Ось передняя
Подвеска
Рама
Электрооборудование
Приборы
Специальное оборудование
Устройство седельно-сцепное
Лебедка
Газовое оборудование
Прочие запчасти
Инструмент и принадлежности
Рукава и РТИ
Крепеж
Подшипники
Запчасти двигателя
Система выпуска газов
Система охлаждения
Система питания
Кабина и оперение
Передок кабины
Оперение кабины
Боковина кабины
Двери кабины
Задок кабины
Основание кабины
Крыша кабины
Сиденья кабины
Вентиляция и отопление кабины
Трансмиссия
Коробка передач
Раздаточная коробка
Карданный вал
Сцепление
Передний мост
Средний мост
Задний мост
Ходовая часть
Рама
Подвеска балансирная
Колеса и ступицы
Механизмы управления
Рулевое управление
Тормозная система
Платформа
Электрооборудование
Приборы
Оборудование и инструменты
Коробка отбора мощности
Лебедка
Устройство седельно-сцепное
Инструменты
Поиск
Графические каталоги
0
Группа компаний A-GROUP
Поиск
0
+7 (3513) 289-777
Обратный звонок
Отправить готовую заявку
Группа компаний A-GROUP
0
Меню
Поиск
Каталог запчастей
Запчасти Камаз
Запчасти Урал
Спецпредложения
О компании
Контакты
Главная
Графические каталоги
КамАЗ
КамАЗ-63501 8х8
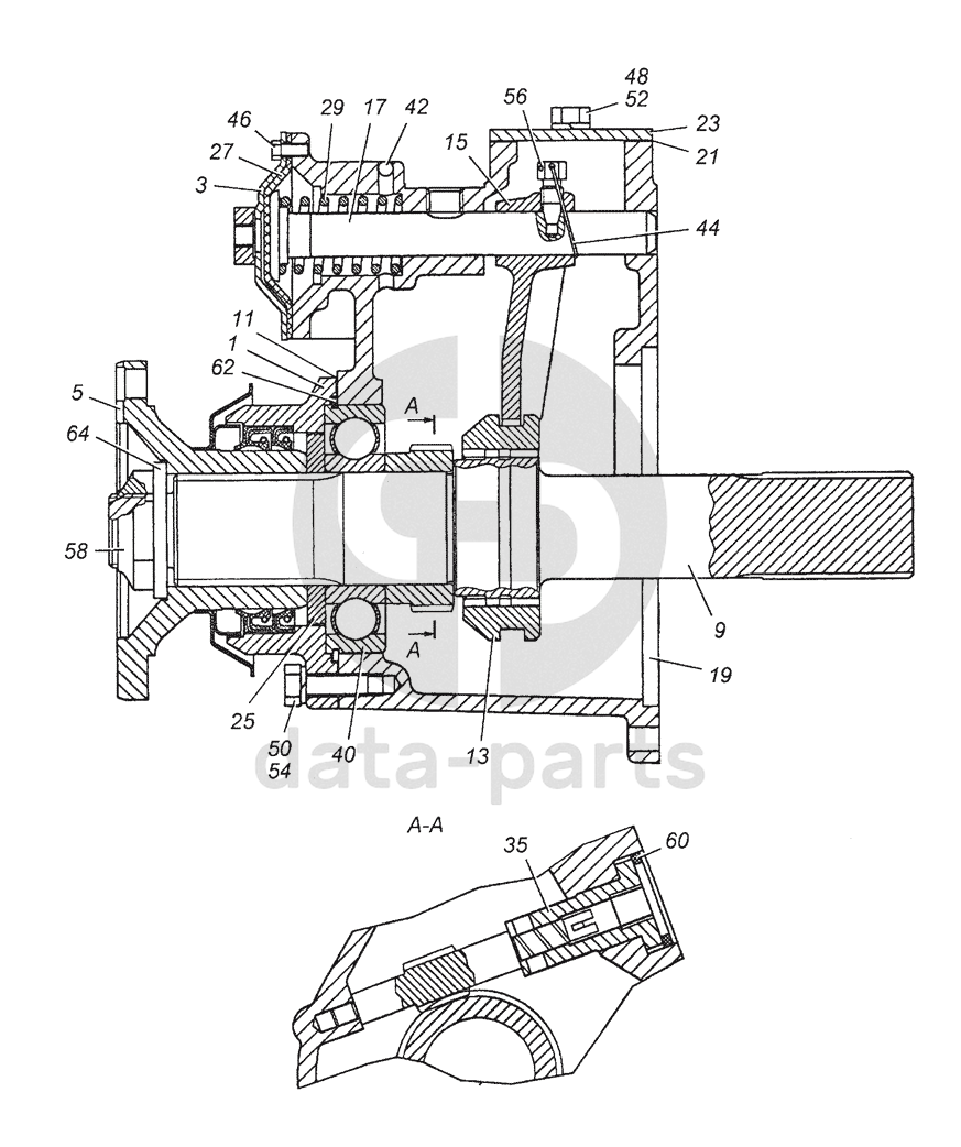
65111-1802230 Картер привода переднего моста в сборе
65111-1802230 Картер привода переднего моста в сборе КамАЗ-63501 8х8
1
3
5
9
11
13
15
17
19
21
23
25
27
29
35
40
42
44
46
48
50
52
54
56
58
60
62
64
100
%
1
43114-1802117
Крышка переднего подшипника привода переднего моста в сборе
Кол-во
1
?
Оставить заявку
3
4310-1803220
Крышка картера в сборе
Кол-во
1
?
Узнать цену
4310-1803220
Крышка КАМАЗ картера механизма включения низшей передачи КР
ПАО КАМАЗ
под заказ
624 ₽
В корзину
5
53205-2402036
Фланец ведущего вала в сборе
Кол-во
1
?
Узнать цену
53205-2402036
Фланец КАМАЗ-ЕВРО ведущего вала
ПАО КАМАЗ
В наличии 6 шт.
4 092 ₽
В корзину
9
65111-1802110
Вал привода переднего моста
Кол-во
1
?
Узнать цену
65111-1802110
Вал КР КАМАЗ привода моста переднего
ПАО КАМАЗ
В наличии 2 шт.
12 896 ₽
В корзину
11
4310-1802119
Прокладка
Кол-во
1
?
Оставить заявку
13
65111-1802148
Муфта блокировки дифференциала
Кол-во
1
?
Узнать цену
65111-1802148
Муфта КАМАЗ КР блокировки
ПАО КАМАЗ
В наличии 3 шт.
3 560 ₽
В корзину
15
65111-1802149
Вилка блокировки дифференциала раздаточной коробки
Кол-во
1
?
Узнать цену
65111-1802149
Вилка КР КАМАЗ блокировки
ПАО КАМАЗ
В наличии 5 шт.
3 927 ₽
В корзину
17
4310-1802153
Шток вилки
Кол-во
1
?
Узнать цену
4310-1802153
Шток
ПАО КАМАЗ
под заказ
1 255 ₽
В корзину
19
65111-1802234
Картер привода переднего моста
Кол-во
1
?
Узнать цену
65111-1802234
Картер КАМАЗ привода переднего моста раздаточной коробки
ПАО КАМАЗ
под заказ
20 353 ₽
В корзину
21
4310-1802239
Прокладка крышки картера
Кол-во
1
?
Оставить заявку
23
4310-1802243
Крышка люка
Кол-во
1
?
Узнать цену
4310-1802243
Крышка люка картера
ПАО КАМАЗ
под заказ
272 ₽
В корзину
25
4310-1802293
Шайба маслоотводная
Кол-во
1
?
Узнать цену
4310-1802293
Шайба КАМАЗ маслоотгонная вала коробки раздаточной
ПАО КАМАЗ
под заказ
992 ₽
В корзину
27
4310-1803225-10
Диафрагма
Кол-во
1
?
Оставить заявку
29
4310-1803261
Пружина возвратная
Кол-во
1
?
Оставить заявку
35
4310-3802088-10
Штуцер привода спидометра
Кол-во
1
?
Узнать цену
4310-3802088-10
Штуцер КАМАЗ привода спидометра
ПАО КАМАЗ
под заказ
591 ₽
В корзину
40
50310А
Подшипник
Кол-во
1
?
Оставить заявку
42
7.144-40 ГОСТ 3722-81
Шарик
Кол-во
1
?
Оставить заявку
44
258254
Шплинт 1,2х200
Кол-во
1
?
Оставить заявку
46
1/09020/21
Болт М6-6gх12
Кол-во
8
?
Оставить заявку
48
1/60432/20
Болт М8-6gх16
Кол-во
2
?
Оставить заявку
50
1/59709/21
Болт М10х1,25-6gх35
Кол-во
5
?
Оставить заявку
52
1/05166/77
Шайба 8 пружинная
Кол-во
2
?
Оставить заявку
54
1/05168/77
Шайба 10 пружинная
Кол-во
5
?
Оставить заявку
56
853024
Болт стопорной вилки
Кол-во
1
?
Узнать цену
853024
Винт
ПАО КАМАЗ
под заказ
177 ₽
В корзину
58
853538
Гайка М33х1,5-6Н
Кол-во
1
?
Оставить заявку
60
862500
Шайба плоская 34х60х6
Кол-во
1
?
Узнать цену
862500
Шайба КАМАЗ гайки хвостовика МОД 34х60х6мм (плоская)
ПАО КАМАЗ
под заказ
149 ₽
В корзину
62
862819
Кольцо упорное
Кол-во
1
?
Оставить заявку
64
864238
Кольцо уплотнительное
Кол-во
1
?
Оставить заявку
Нужна помощь в подборе запчастей?
Напишите нам и оставьте ваши контактные данные. Мы перезвоним вам в течение 30 минут или раньше!
Кратвольд Елена
Менеджер по продажам
7 (3513) 289-777
koleso787@bk.ru
Вы должны включить JavaScript чтобы использовать эту форму.
Ваш вопрос
Email
Телефон
Отправляя форму вы подтверждаете согласие с
политикой обработки персональных данных
.
Отправить
Оставьте это поле пустым