Каталог запчастей
Запчасти Камаз
Запчасти Урал
Спецпредложения
О компании
Контакты
+7 (3513) 289-777
Отправить готовую заявку
Группа компаний A-GROUP
Каталог
Запчасти УРАЛ
Запчасти КАМАЗ
Двигатель
Система питания
Система выпуска газов
Система охлаждения
Механизмы управления
Рулевое управление
Тормозная система
Кабина и кузов
Кабина
Оперение кабины
Платформа и кузов
Трансмиссия
Коробка передач
Коробка раздаточная
Сцепление
Карданная передача
Мосты
Ходовая часть
Колеса и ступицы
Ось передняя
Подвеска
Рама
Электрооборудование
Приборы
Специальное оборудование
Устройство седельно-сцепное
Лебедка
Газовое оборудование
Прочие запчасти
Инструмент и принадлежности
Рукава и РТИ
Крепеж
Подшипники
Запчасти двигателя
Система выпуска газов
Система охлаждения
Система питания
Кабина и оперение
Передок кабины
Оперение кабины
Боковина кабины
Двери кабины
Задок кабины
Основание кабины
Крыша кабины
Сиденья кабины
Вентиляция и отопление кабины
Трансмиссия
Коробка передач
Раздаточная коробка
Карданный вал
Сцепление
Передний мост
Средний мост
Задний мост
Ходовая часть
Рама
Подвеска балансирная
Колеса и ступицы
Механизмы управления
Рулевое управление
Тормозная система
Платформа
Электрооборудование
Приборы
Оборудование и инструменты
Коробка отбора мощности
Лебедка
Устройство седельно-сцепное
Инструменты
Поиск
Графические каталоги
0
Группа компаний A-GROUP
Поиск
0
+7 (3513) 289-777
Обратный звонок
Отправить готовую заявку
Группа компаний A-GROUP
0
Меню
Поиск
Каталог запчастей
Запчасти Камаз
Запчасти Урал
Спецпредложения
О компании
Контакты
Главная
Графические каталоги
КамАЗ
КамАЗ-63501 8х8
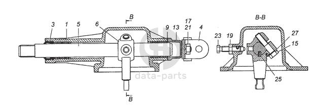
142.1702200 Опора рычага переключения передач в сборе
142.1702200 Опора рычага переключения передач в сборе КамАЗ-63501 8х8
1
3
4
5
6
9
13
15
17
19
21
23
25
27
100
%
1
142.1702208
Опора рычага переключения передач в сборе
Кол-во
1
?
Узнать цену
142.1702208
Опора
ПАО КАМАЗ
под заказ
4 875 ₽
В корзину
3
142.1702340
Манжета с пружиной в сборе
Кол-во
1
?
Узнать цену
142.1702340
Сальник КАМАЗ-6522 кулисы 2.2-25х38х8
ПАО КАМАЗ
под заказ
841 ₽
В корзину
4
142.1703448
Кронштейн реактивной тяги
Кол-во
1
?
Оставить заявку
5
142.1702221
Вал рычага переключения передач
Кол-во
1
?
Узнать цену
142.1702221
Вал КАМАЗ рычага переключения передач
ПАО КАМАЗ
В наличии 2 шт.
2 571 ₽
В корзину
6
142.1702222
Рычаг переключения передач
Кол-во
1
?
Узнать цену
142.1702222
Рычаг
ПАО КАМАЗ
В наличии 3 шт.
3 805 ₽
В корзину
9
142.1702229
Прокладка
Кол-во
1
?
Оставить заявку
13
142.1702298
Крышка опоры
Кол-во
1
?
Оставить заявку
15
1/12347/21
Болт М10х1,25-6gх45
Кол-во
1
?
Оставить заявку
17
1/21647/21
Гайка М10х1,25-6Н
Кол-во
2
?
Оставить заявку
19
1/07910/11
Гайка М10х1,25-6Н
Кол-во
1
?
Оставить заявку
21
1/05168/73
Шайба 10 пружинная
Кол-во
2
?
Оставить заявку
23
870357
Болт установочный
Кол-во
1
?
Узнать цену
870357
Болт
ПАО КАМАЗ
под заказ
105 ₽
В корзину
25
870813
Шпонка сегментная 6х9х22
Кол-во
1
?
Узнать цену
870813
Шпонка КАМАЗ коленвала вилки сцепления 6х9х22
ПАО КАМАЗ
В наличии 10 шт.
75 ₽
В корзину
27
870851
Шайба замковая 10
Кол-во
1
?
Оставить заявку
Нужна помощь в подборе запчастей?
Напишите нам и оставьте ваши контактные данные. Мы перезвоним вам в течение 30 минут или раньше!
Кратвольд Елена
Менеджер по продажам
7 (3513) 289-777
koleso787@bk.ru
Вы должны включить JavaScript чтобы использовать эту форму.
Ваш вопрос
Email
Телефон
Отправляя форму вы подтверждаете согласие с
политикой обработки персональных данных
.
Отправить
Оставьте это поле пустым