Каталог запчастей
Запчасти Камаз
Запчасти Урал
Спецпредложения
О компании
Контакты
+7 (3513) 289-777
Отправить готовую заявку
Группа компаний A-GROUP
Каталог
Запчасти УРАЛ
Запчасти КАМАЗ
Двигатель
Система питания
Система выпуска газов
Система охлаждения
Механизмы управления
Рулевое управление
Тормозная система
Кабина и кузов
Кабина
Оперение кабины
Платформа и кузов
Трансмиссия
Коробка передач
Коробка раздаточная
Сцепление
Карданная передача
Мосты
Ходовая часть
Колеса и ступицы
Ось передняя
Подвеска
Рама
Электрооборудование
Приборы
Специальное оборудование
Устройство седельно-сцепное
Лебедка
Газовое оборудование
Прочие запчасти
Инструмент и принадлежности
Рукава и РТИ
Крепеж
Подшипники
Запчасти двигателя
Система выпуска газов
Система охлаждения
Система питания
Кабина и оперение
Передок кабины
Оперение кабины
Боковина кабины
Двери кабины
Задок кабины
Основание кабины
Крыша кабины
Сиденья кабины
Вентиляция и отопление кабины
Трансмиссия
Коробка передач
Раздаточная коробка
Карданный вал
Сцепление
Передний мост
Средний мост
Задний мост
Ходовая часть
Рама
Подвеска балансирная
Колеса и ступицы
Механизмы управления
Рулевое управление
Тормозная система
Платформа
Электрооборудование
Приборы
Оборудование и инструменты
Коробка отбора мощности
Лебедка
Устройство седельно-сцепное
Инструменты
Поиск
Графические каталоги
0
Группа компаний A-GROUP
Поиск
0
+7 (3513) 289-777
Обратный звонок
Отправить готовую заявку
Группа компаний A-GROUP
0
Меню
Поиск
Каталог запчастей
Запчасти Камаз
Запчасти Урал
Спецпредложения
О компании
Контакты
Главная
Графические каталоги
КамАЗ
КамАЗ-6350 (8х8)
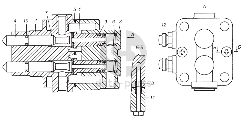
161.1723020 Клапан включения демультипликатора в сборе
161.1723020 Клапан включения демультипликатора в сборе КамАЗ-6350 (8х8)
1
2
3
4
5
6
7
8
9
10
11
12
100
%
1
161.1723030
Клапан
Кол-во
2
?
Оставить заявку
2
161.1723024
Корпус клапана включения демультипликатора
Кол-во
1
?
Оставить заявку
3
161.1723025
Крышка клапана включения демультипликатора
Кол-во
1
?
Оставить заявку
4
161.1723026
Шток клапана включения демультипликатора
Кол-во
2
?
Оставить заявку
5
161.1723033
Прокладка клапана
Кол-во
1
?
Оставить заявку
6
161.1723034
Пружина клапана
Кол-во
2
?
Оставить заявку
7
161.1723036
Кольцо запорное
Кол-во
2
?
Оставить заявку
8
161.1723039
Штифт
Кол-во
2
?
Оставить заявку
9
161.1723040
Кольцо уплотнительное
Кол-во
2
?
Оставить заявку
10
15.1772034
Кольцо уплотнительное золотника
Кол-во
2
?
Оставить заявку
11
220090
Винт M5-6gx40 ОСТ 37.001.127-81
Кол-во
2
?
Оставить заявку
12
864000-10
Клапан предохранительный крышки в сборе
Кол-во
2
?
Узнать цену
864000-10
Клапан КАМАЗ-ЕВРО предохранительный (сапун)
ПАО КАМАЗ
В наличии 36 шт.
209 ₽
В корзину
Нужна помощь в подборе запчастей?
Напишите нам и оставьте ваши контактные данные. Мы перезвоним вам в течение 30 минут или раньше!
Кратвольд Елена
Менеджер по продажам
7 (3513) 289-777
koleso787@bk.ru
Вы должны включить JavaScript чтобы использовать эту форму.
Ваш вопрос
Email
Телефон
Отправляя форму вы подтверждаете согласие с
политикой обработки персональных данных
.
Отправить
Оставьте это поле пустым