Каталог запчастей
Запчасти Камаз
Запчасти Урал
Спецпредложения
О компании
Контакты
7 (3513) 289-777
Отправить готовую заявку
Группа компаний A-GROUP
Каталог
Запчасти УРАЛ
Запчасти КАМАЗ
Двигатель
Система питания
Система выпуска газов
Система охлаждения
Механизмы управления
Рулевое управление
Тормозная система
Кабина и кузов
Кабина
Оперение кабины
Платформа и кузов
Трансмиссия
Коробка передач
Коробка раздаточная
Сцепление
Карданная передача
Мосты
Ходовая часть
Колеса и ступицы
Ось передняя
Подвеска
Рама
Электрооборудование
Приборы
Специальное оборудование
Устройство седельно-сцепное
Лебедка
Газовое оборудование
Прочие запчасти
Инструмент и принадлежности
Рукава и РТИ
Крепеж
Подшипники
Запчасти двигателя
Система выпуска газов
Система охлаждения
Система питания
Кабина и оперение
Передок кабины
Оперение кабины
Боковина кабины
Двери кабины
Задок кабины
Основание кабины
Крыша кабины
Сиденья кабины
Вентиляция и отопление кабины
Трансмиссия
Коробка передач
Раздаточная коробка
Карданный вал
Сцепление
Передний мост
Средний мост
Задний мост
Ходовая часть
Рама
Подвеска балансирная
Колеса и ступицы
Механизмы управления
Рулевое управление
Тормозная система
Платформа
Электрооборудование
Приборы
Оборудование и инструменты
Коробка отбора мощности
Лебедка
Устройство седельно-сцепное
Инструменты
Поиск
Графические каталоги
0
Группа компаний A-GROUP
Поиск
0
+7 (3513) 289-777
Обратный звонок
Отправить готовую заявку
Группа компаний A-GROUP
0
Меню
Поиск
Каталог запчастей
Запчасти Камаз
Запчасти Урал
Спецпредложения
О компании
Контакты
Главная
Графические каталоги
КамАЗ
КамАЗ-6350 (8х8)
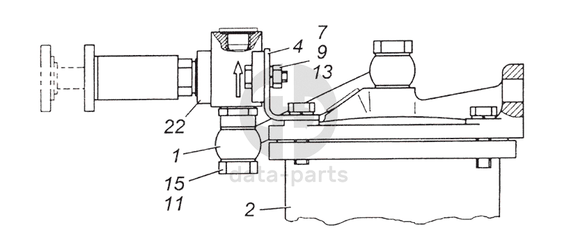
7406.1105010 Фильтр грубой очистки топлива (ФГОТ) с насосом предпусковой прокачки в сборе
1
2
4
7
9
11
13
15
22
100
%
1
7406.1105166
Трубка подводящая
Кол-во
1
?
Узнать цену
7406.1105166
Трубка КАМАЗ ЕВРО подводящая насоса
ПАО КАМАЗ
под заказ
914.04 ₽
В корзину
1
7406.1105166
Трубка подводящая
Кол-во
0
?
Узнать цену
7406.1105166
Трубка КАМАЗ ЕВРО подводящая насоса
ПАО КАМАЗ
под заказ
914.04 ₽
В корзину
2
740.1105010-01
Фильтр грубой очистки топлива в сборе
Кол-во
0
?
Оставить заявку
2
740.1105010-01
Фильтр грубой очистки топлива в сборе
Кол-во
1
?
Оставить заявку
4
7406.1105002
Кронштейн
Кол-во
0
?
Узнать цену
7406.1105002
Кронштейн
ПАО КАМАЗ
под заказ
122.42 ₽
В корзину
4
7406.1105002
Кронштейн
Кол-во
1
?
Узнать цену
7406.1105002
Кронштейн
ПАО КАМАЗ
под заказ
122.42 ₽
В корзину
7
1/09024/21
Болт М6-6gх20
Кол-во
0
?
Оставить заявку
7
1/09024/21
Болт М6-6gх20
Кол-во
2
?
Оставить заявку
9
1/58962/11
Гайка ЕМ6-6Н
Кол-во
2
?
Узнать цену
1/58962/11
Гайка М6Х1 Камаз
ПАО Автодизель (ЯМЗ)
под заказ
14.22 ₽
В корзину
9
1/58962/11
Гайка ЕМ6-6Н
Кол-во
0
?
Узнать цену
1/58962/11
Гайка М6Х1 Камаз
ПАО Автодизель (ЯМЗ)
под заказ
14.22 ₽
В корзину
11
1/02800/60
Прокладка уплотнительная 14х20х1,5
Кол-во
0
?
Узнать цену
1/02800/60
ПРОКЛАДКА 14Х20Х1.5,
АО АЗ Урал
под заказ
24.02 ₽
В корзину
11
1/02800/60
Прокладка уплотнительная 14х20х1,5
Кол-во
4
?
Узнать цену
1/02800/60
ПРОКЛАДКА 14Х20Х1.5,
АО АЗ Урал
под заказ
24.02 ₽
В корзину
13
1/05164/73
Шайба 6 пружинная
Кол-во
0
?
Оставить заявку
13
1/05164/73
Шайба 6 пружинная
Кол-во
2
?
Оставить заявку
15
870005
Болт М14х1,5-6gх30
Кол-во
2
?
Оставить заявку
15
870005
Болт М14х1,5-6gх30
Кол-во
0
?
Оставить заявку
22
37.1141010
Насос предпусковой прокачки топлива
Кол-во
1
?
Узнать цену
37.1141010
Насос топливный КАМАЗ предпусковой универсальный
ПАО Автодизель (ЯМЗ)
под заказ
3 465.26 ₽
В корзину
22
37.1141010
Насос предпусковой прокачки топлива
Кол-во
0
?
Узнать цену
37.1141010
Насос топливный КАМАЗ предпусковой универсальный
ПАО Автодизель (ЯМЗ)
под заказ
3 465.26 ₽
В корзину
Нужна помощь в подборе запчастей?
Напишите нам и оставьте ваши контактные данные. Мы перезвоним вам в течение 30 минут или раньше!
Кратвольд Елена
Менеджер по продажам
7 (3513) 289-777
koleso787@bk.ru
Вы должны включить JavaScript чтобы использовать эту форму.
Ваш вопрос
Email
Телефон
Отправляя форму вы подтверждаете согласие с
политикой обработки персональных данных
.
Отправить
Оставьте это поле пустым