Каталог запчастей
Запчасти Камаз
Запчасти Урал
Спецпредложения
О компании
Контакты
+7 (3513) 289-777
Отправить готовую заявку
Группа компаний A-GROUP
Каталог
Запчасти УРАЛ
Запчасти КАМАЗ
Двигатель
Система питания
Система выпуска газов
Система охлаждения
Механизмы управления
Рулевое управление
Тормозная система
Кабина и кузов
Кабина
Оперение кабины
Платформа и кузов
Трансмиссия
Коробка передач
Коробка раздаточная
Сцепление
Карданная передача
Мосты
Ходовая часть
Колеса и ступицы
Ось передняя
Подвеска
Рама
Электрооборудование
Приборы
Специальное оборудование
Устройство седельно-сцепное
Лебедка
Газовое оборудование
Прочие запчасти
Инструмент и принадлежности
Рукава и РТИ
Крепеж
Подшипники
Запчасти двигателя
Система выпуска газов
Система охлаждения
Система питания
Кабина и оперение
Передок кабины
Оперение кабины
Боковина кабины
Двери кабины
Задок кабины
Основание кабины
Крыша кабины
Сиденья кабины
Вентиляция и отопление кабины
Трансмиссия
Коробка передач
Раздаточная коробка
Карданный вал
Сцепление
Передний мост
Средний мост
Задний мост
Ходовая часть
Рама
Подвеска балансирная
Колеса и ступицы
Механизмы управления
Рулевое управление
Тормозная система
Платформа
Электрооборудование
Приборы
Оборудование и инструменты
Коробка отбора мощности
Лебедка
Устройство седельно-сцепное
Инструменты
Поиск
Графические каталоги
0
Группа компаний A-GROUP
Поиск
0
+7 (3513) 289-777
Обратный звонок
Отправить готовую заявку
Группа компаний A-GROUP
0
Меню
Поиск
Каталог запчастей
Запчасти Камаз
Запчасти Урал
Спецпредложения
О компании
Контакты
Главная
Графические каталоги
КамАЗ
КамАЗ-5460
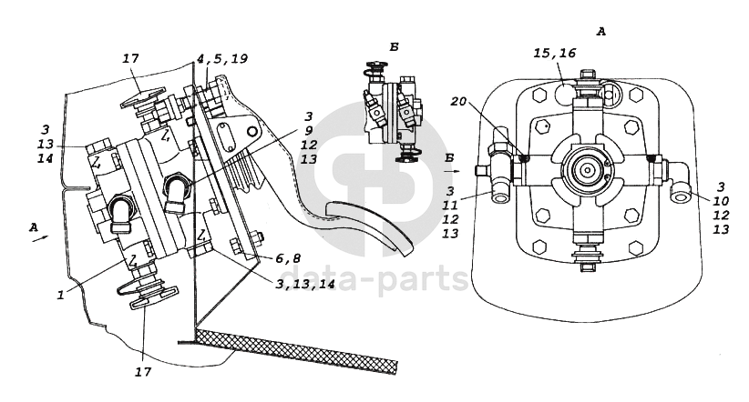
Установка двухсекционного тормозного крана
Установка двухсекционного тормозного крана КамАЗ-5460
1
3
3
3
3
3
4
5
6
8
9
10
11
12
12
12
13
13
13
13
13
14
14
15
16
17
17
19
20
100
%
1
5320-3514108
Кран тормозной двухсекционный с педалью в сборе
Кол-во
1
?
Узнать цену
5320-3514108
Кран КАМАЗ-ЕВРО тормозной 2-х секционный в сборе с педалью
ПАО КАМАЗ
В наличии 1 шт.
21 291 ₽
В корзину
3
740.1003439
Кольцо уплотнительное
Кол-во
6
?
Оставить заявку
4
53205-3720125
Наконечник сигнала торможения
Кол-во
1
?
Оставить заявку
5
53205-3720780
Гайка М12
Кол-во
1
?
Оставить заявку
6
1/60434/21
Болт М8-6gх20
Кол-во
4
?
Оставить заявку
8
1/05166/77
Шайба 8 пружинная
Кол-во
4
?
Оставить заявку
9
861005
Угольник ввертный
Кол-во
1
?
Узнать цену
861005
Угольник КАМАЗ М14х22
ПАО КАМАЗ
В наличии 5 шт.
742 ₽
В корзину
10
861007
Угольник
Кол-во
1
?
Узнать цену
861007
Угольник КАМАЗ М22х18 ГТК Н/О
ПАО КАМАЗ
под заказ
742 ₽
В корзину
11
861011-10
Крестовина
Кол-во
2
?
Узнать цену
861011-10
Крестовина КАМАЗ-ЕВРО ГТК тормозной системы
ПАО КАМАЗ
под заказ
648 ₽
В корзину
12
861021
Гайка М22х1,5-6Н
Кол-во
4
?
Узнать цену
861021
Гайка М22х1.5 клапана контрольного крана тормозного
ПАО КАМАЗ
В наличии 97 шт.
135 ₽
В корзину
13
861024
Шайба
Кол-во
6
?
Узнать цену
861024
Шайба
ПАО КАМАЗ
В наличии 100 шт.
15 ₽
В корзину
14
864323
Пробка М22х1,5-6Н
Кол-во
3
?
Оставить заявку
15
864310
Пробка транспортная
Кол-во
1
?
Оставить заявку
16
305129
Пробка транспортная
Кол-во
1
?
Оставить заявку
17
16-3515310
Клапан контрольного вывода в сборе
Кол-во
1
?
Оставить заявку
19
2108-3720010
Выключатель сигнала торможения ТУ 37.003.1159-83
Кол-во
1
?
Оставить заявку
20
45104350600400
Сетка АДЮИ.305.122.003
Кол-во
2
?
Оставить заявку
Нужна помощь в подборе запчастей?
Напишите нам и оставьте ваши контактные данные. Мы перезвоним вам в течение 30 минут или раньше!
Кратвольд Елена
Менеджер по продажам
7 (3513) 289-777
koleso787@bk.ru
Вы должны включить JavaScript чтобы использовать эту форму.
Ваш вопрос
Email
Телефон
Отправляя форму вы подтверждаете согласие с
политикой обработки персональных данных
.
Отправить
Оставьте это поле пустым