Каталог запчастей
Запчасти Камаз
Запчасти Урал
Спецпредложения
О компании
Контакты
7 (3513) 289-777
Отправить готовую заявку
Группа компаний A-GROUP
Каталог
Запчасти УРАЛ
Запчасти КАМАЗ
Двигатель
Система питания
Система выпуска газов
Система охлаждения
Механизмы управления
Рулевое управление
Тормозная система
Кабина и кузов
Кабина
Оперение кабины
Платформа и кузов
Трансмиссия
Коробка передач
Коробка раздаточная
Сцепление
Карданная передача
Мосты
Ходовая часть
Колеса и ступицы
Ось передняя
Подвеска
Рама
Электрооборудование
Приборы
Специальное оборудование
Устройство седельно-сцепное
Лебедка
Газовое оборудование
Прочие запчасти
Инструмент и принадлежности
Рукава и РТИ
Крепеж
Подшипники
Запчасти двигателя
Система выпуска газов
Система охлаждения
Система питания
Кабина и оперение
Передок кабины
Оперение кабины
Боковина кабины
Двери кабины
Задок кабины
Основание кабины
Крыша кабины
Сиденья кабины
Вентиляция и отопление кабины
Трансмиссия
Коробка передач
Раздаточная коробка
Карданный вал
Сцепление
Передний мост
Средний мост
Задний мост
Ходовая часть
Рама
Подвеска балансирная
Колеса и ступицы
Механизмы управления
Рулевое управление
Тормозная система
Платформа
Электрооборудование
Приборы
Оборудование и инструменты
Коробка отбора мощности
Лебедка
Устройство седельно-сцепное
Инструменты
Поиск
Графические каталоги
0
Группа компаний A-GROUP
Поиск
0
+7 (3513) 289-777
Обратный звонок
Отправить готовую заявку
Группа компаний A-GROUP
0
Меню
Поиск
Каталог запчастей
Запчасти Камаз
Запчасти Урал
Спецпредложения
О компании
Контакты
Главная
Графические каталоги
КамАЗ
КамАЗ-5360
Водяной насос
Водяной насос КамАЗ-5360
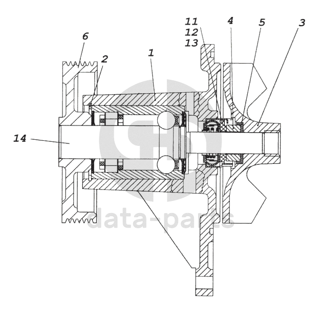
1
2
3
4
5
6
11
12
13
14
100
%
1
7406.1307015-10
Корпус водяного насоса
Кол-во
1
?
Узнать цену
7406.1307015-10
Корпус насоса
ПАО КАМАЗ
В наличии 1 шт.
9 915 ₽
В корзину
2
7406.1307017
Кольцо упорное
Кол-во
1
?
Оставить заявку
3
7406.1307032-01
Крыльчатка водяного насоса
Кол-во
1
?
Узнать цену
7406.1307032-01
Крыльчатка насоса водяного КАМАЗ-ЕВРО-2
ПАО КАМАЗ
В наличии 8 шт.
3 245 ₽
В корзину
4
7406.1307035-01
Кольцо скольжения водяного насоса
Кол-во
1
?
Узнать цену
7406.1307035-01
Кольцо КАМАЗ скольжения насоса водяного
ПАО КАМАЗ
под заказ
934 ₽
В корзину
5
7406.1307062-01
Манжета уплотнительная водяного насоса
Кол-во
1
?
Оставить заявку
6
7406.1307216-20
Шкив водяного насоса
Кол-во
1
?
Узнать цену
7406.1307216-20
Шкив КАМАЗ-ЕВРО насоса водяного
ПАО КАМАЗ
под заказ
2 558 ₽
В корзину
11
F/24
Сальник водяного насоса производство mессаnоtесniса Umbrа, Италия
Кол-во
1
?
Оставить заявку
12
2101-1307013-01
Сальник водяного насоса ТУ37.359.042-96
Кол-во
1
?
Оставить заявку
13
2101-1307013-02
Сальник водяного насоса ТУ2531-033-00232555-95
Кол-во
1
?
Оставить заявку
14
6-3НР25155ЕС30
Подшипник шарико-роликовый радиальный двухрядный с двухсторонним уплотнением с валиком вместо внутреннего кольца
Кол-во
1
?
Оставить заявку
Нужна помощь в подборе запчастей?
Напишите нам и оставьте ваши контактные данные. Мы перезвоним вам в течение 30 минут или раньше!
Кратвольд Елена
Менеджер по продажам
7 (3513) 289-777
koleso787@bk.ru
Вы должны включить JavaScript чтобы использовать эту форму.
Ваш вопрос
Email
Телефон
Отправляя форму вы подтверждаете согласие с
политикой обработки персональных данных
.
Отправить
Оставьте это поле пустым