Каталог запчастей
Запчасти Камаз
Запчасти Урал
Спецпредложения
О компании
Контакты
+7 (3513) 289-777
Отправить готовую заявку
Группа компаний A-GROUP
Каталог
Запчасти УРАЛ
Запчасти КАМАЗ
Двигатель
Система питания
Система выпуска газов
Система охлаждения
Механизмы управления
Рулевое управление
Тормозная система
Кабина и кузов
Кабина
Оперение кабины
Платформа и кузов
Трансмиссия
Коробка передач
Коробка раздаточная
Сцепление
Карданная передача
Мосты
Ходовая часть
Колеса и ступицы
Ось передняя
Подвеска
Рама
Электрооборудование
Приборы
Специальное оборудование
Устройство седельно-сцепное
Лебедка
Газовое оборудование
Прочие запчасти
Инструмент и принадлежности
Рукава и РТИ
Крепеж
Подшипники
Запчасти двигателя
Система выпуска газов
Система охлаждения
Система питания
Кабина и оперение
Передок кабины
Оперение кабины
Боковина кабины
Двери кабины
Задок кабины
Основание кабины
Крыша кабины
Сиденья кабины
Вентиляция и отопление кабины
Трансмиссия
Коробка передач
Раздаточная коробка
Карданный вал
Сцепление
Передний мост
Средний мост
Задний мост
Ходовая часть
Рама
Подвеска балансирная
Колеса и ступицы
Механизмы управления
Рулевое управление
Тормозная система
Платформа
Электрооборудование
Приборы
Оборудование и инструменты
Коробка отбора мощности
Лебедка
Устройство седельно-сцепное
Инструменты
Поиск
Графические каталоги
0
Группа компаний A-GROUP
Поиск
0
+7 (3513) 289-777
Обратный звонок
Отправить готовую заявку
Группа компаний A-GROUP
0
Меню
Поиск
Каталог запчастей
Запчасти Камаз
Запчасти Урал
Спецпредложения
О компании
Контакты
Главная
Графические каталоги
КамАЗ
КамАЗ-5350 (6х6)
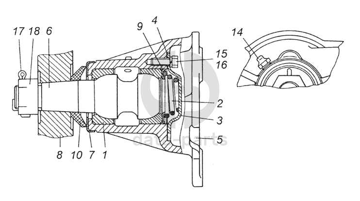
6540-3414100-60 Опора задняя в сборе
6540-3414100-60 Опора задняя в сборе КамАЗ-5350 (6х6)
1
2
3
4
5
6
7
8
9
10
14
15
16
17
18
100
%
1
5320-3414066
Вкладыш наконечника верхний
Кол-во
2
?
Оставить заявку
2
5320-3414069
Пружина наконечника тяги рулевой трапеции
Кол-во
1
?
Оставить заявку
3
5320-3414070
Крышка наконечника
Кол-во
1
?
Узнать цену
5320-3414070
Крышка КАМАЗ наконечника рулевой тяги
ПАО КАМАЗ
под заказ
99 ₽
В корзину
4
5320-3414071
Прокладка крышки
Кол-во
1
?
Оставить заявку
5
4Э6540-3414102
Кронштейн
Кол-во
1
?
Оставить заявку
6
6350-3414104
Ось
Кол-во
1
?
Узнать цену
6350-3414104
Ось
ПАО КАМАЗ
под заказ
6 018 ₽
В корзину
7
6350-3414107
Чашка защитная
Кол-во
1
?
Оставить заявку
8
6540-3414110-60
Рычаг
Кол-во
1
?
Узнать цену
6540-3414110-60
Рычаг
ПАО КАМАЗ
под заказ
13 140 ₽
В корзину
9
6350-3414112
Чашка
Кол-во
1
?
Узнать цену
6350-3414112
Чашка
ПАО КАМАЗ
под заказ
1 357 ₽
В корзину
10
6350-3414115
Сальник
Кол-во
1
?
Оставить заявку
14
864006
Масленка 1.3.Ц6хр.ГОСТ 19853-74
Кол-во
1
?
Оставить заявку
15
1/60434/21
Болт М8-6gх20
Кол-во
3
?
Оставить заявку
16
1/05166/77
Шайба 8 пружинная
Кол-во
3
?
Оставить заявку
17
1/07350/01
Шплинт 4,7х50
Кол-во
1
?
Оставить заявку
18
853514
Гайка М24х1,5-6Н
Кол-во
1
?
Оставить заявку
Нужна помощь в подборе запчастей?
Напишите нам и оставьте ваши контактные данные. Мы перезвоним вам в течение 30 минут или раньше!
Кратвольд Елена
Менеджер по продажам
7 (3513) 289-777
koleso787@bk.ru
Вы должны включить JavaScript чтобы использовать эту форму.
Ваш вопрос
Email
Телефон
Отправляя форму вы подтверждаете согласие с
политикой обработки персональных данных
.
Отправить
Оставьте это поле пустым