Каталог запчастей
Запчасти Камаз
Запчасти Урал
Спецпредложения
О компании
Контакты
7 (3513) 289-777
Отправить готовую заявку
Группа компаний A-GROUP
Каталог
Запчасти УРАЛ
Запчасти КАМАЗ
Двигатель
Система питания
Система выпуска газов
Система охлаждения
Механизмы управления
Рулевое управление
Тормозная система
Кабина и кузов
Кабина
Оперение кабины
Платформа и кузов
Трансмиссия
Коробка передач
Коробка раздаточная
Сцепление
Карданная передача
Мосты
Ходовая часть
Колеса и ступицы
Ось передняя
Подвеска
Рама
Электрооборудование
Приборы
Специальное оборудование
Устройство седельно-сцепное
Лебедка
Газовое оборудование
Прочие запчасти
Инструмент и принадлежности
Рукава и РТИ
Крепеж
Подшипники
Запчасти двигателя
Система выпуска газов
Система охлаждения
Система питания
Кабина и оперение
Передок кабины
Оперение кабины
Боковина кабины
Двери кабины
Задок кабины
Основание кабины
Крыша кабины
Сиденья кабины
Вентиляция и отопление кабины
Трансмиссия
Коробка передач
Раздаточная коробка
Карданный вал
Сцепление
Передний мост
Средний мост
Задний мост
Ходовая часть
Рама
Подвеска балансирная
Колеса и ступицы
Механизмы управления
Рулевое управление
Тормозная система
Платформа
Электрооборудование
Приборы
Оборудование и инструменты
Коробка отбора мощности
Лебедка
Устройство седельно-сцепное
Инструменты
Поиск
Графические каталоги
0
Группа компаний A-GROUP
Поиск
0
+7 (3513) 289-777
Обратный звонок
Отправить готовую заявку
Группа компаний A-GROUP
0
Меню
Поиск
Каталог запчастей
Запчасти Камаз
Запчасти Урал
Спецпредложения
О компании
Контакты
Главная
Графические каталоги
КамАЗ
КамАЗ-5350 (6х6)
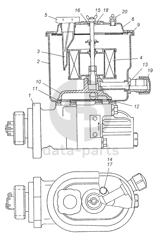
6540-3407200 Насос рулевого усилителя в сборе
1
2
3
4
5
6
9
10
11
12
13
14
15
16
17
18
19
20
100
%
1
6540-3407201
Насос в сборе
Кол-во
1
?
Оставить заявку
1
6540-3407201
Насос в сборе
Кол-во
0
?
Оставить заявку
2
6540-3407300
Бачок насоса гидроусилителя руля
Кол-во
0
?
Оставить заявку
2
6540-3407300
Бачок насоса гидроусилителя руля
Кол-во
1
?
Оставить заявку
3
4310-3407328-02
Фильтр заливной насоса гидроусилителя руля
Кол-во
1
?
Оставить заявку
3
4310-3407328-02
Фильтр заливной насоса гидроусилителя руля
Кол-во
0
?
Оставить заявку
4
6540-3407338
Фильтр насоса гидроусилителя руля в сборе
Кол-во
1
?
Оставить заявку
4
6540-3407338
Фильтр насоса гидроусилителя руля в сборе
Кол-во
0
?
Оставить заявку
5
4310-3407350-02
Пробка заливной горловины бачка насоса гидроусилителя руля
Кол-во
0
?
Оставить заявку
5
4310-3407350-02
Пробка заливной горловины бачка насоса гидроусилителя руля
Кол-во
1
?
Оставить заявку
6
4310-3407400-02
Крышка бачка насоса
Кол-во
0
?
Оставить заявку
6
4310-3407400-02
Крышка бачка насоса
Кол-во
1
?
Оставить заявку
9
5320-3407413
Прокладка уплотнительная крышки бачка
Кол-во
1
?
Оставить заявку
9
5320-3407413
Прокладка уплотнительная крышки бачка
Кол-во
0
?
Оставить заявку
10
5320-3407435
Коллектор насоса
Кол-во
0
?
Оставить заявку
10
5320-3407435
Коллектор насоса
Кол-во
1
?
Оставить заявку
11
5320-3407437-01
Прокладка уплотнительная
Кол-во
0
?
Оставить заявку
11
5320-3407437-01
Прокладка уплотнительная
Кол-во
2
?
Оставить заявку
12
5320-3407439
Прокладка коллектора насоса
Кол-во
0
?
Оставить заявку
12
5320-3407439
Прокладка коллектора насоса
Кол-во
1
?
Оставить заявку
13
5320-3407441
Трубка бачка
Кол-во
0
?
Оставить заявку
13
5320-3407441
Трубка бачка
Кол-во
1
?
Оставить заявку
14
1/09026/21
Болт М6-6gх25
Кол-во
4
?
Оставить заявку
14
1/09026/21
Болт М6-6gх25
Кол-во
0
?
Оставить заявку
15
1/01020/01
Гайка-барашек
Кол-во
0
?
Оставить заявку
15
1/01020/01
Гайка-барашек
Кол-во
1
?
Оставить заявку
16
864218
Кольцо уплотнительное
Кол-во
0
?
Оставить заявку
16
864218
Кольцо уплотнительное
Кол-во
1
?
Оставить заявку
17
1/05194/01
Шайба плоская 6х12х1,5
Кол-во
0
?
Оставить заявку
17
1/05194/01
Шайба плоская 6х12х1,5
Кол-во
4
?
Оставить заявку
18
1/26470/01
Шайба плоская 8,45х25х2,5
Кол-во
1
?
Оставить заявку
18
1/26470/01
Шайба плоская 8,45х25х2,5
Кол-во
0
?
Оставить заявку
19
853883-01
Пробка транспортная
Кол-во
1
?
Оставить заявку
19
853883-01
Пробка транспортная
Кол-во
0
?
Оставить заявку
20
864000
Клапан предохранительный на давление 0,12-0,24 кг/см2
Кол-во
1
?
Узнать цену
864000
Клапан предохранительный
ПАО КАМАЗ
под заказ
146.08 ₽
В корзину
20
864000
Клапан предохранительный на давление 0,12-0,24 кг/см2
Кол-во
0
?
Узнать цену
864000
Клапан предохранительный
ПАО КАМАЗ
под заказ
146.08 ₽
В корзину
Нужна помощь в подборе запчастей?
Напишите нам и оставьте ваши контактные данные. Мы перезвоним вам в течение 30 минут или раньше!
Кратвольд Елена
Менеджер по продажам
7 (3513) 289-777
koleso787@bk.ru
Вы должны включить JavaScript чтобы использовать эту форму.
Ваш вопрос
Email
Телефон
Отправляя форму вы подтверждаете согласие с
политикой обработки персональных данных
.
Отправить
Оставьте это поле пустым