Каталог запчастей
Запчасти Камаз
Запчасти Урал
Спецпредложения
О компании
Контакты
+7 (3513) 289-777
Отправить готовую заявку
Группа компаний A-GROUP
Каталог
Запчасти УРАЛ
Запчасти КАМАЗ
Двигатель
Система питания
Система выпуска газов
Система охлаждения
Механизмы управления
Рулевое управление
Тормозная система
Кабина и кузов
Кабина
Оперение кабины
Платформа и кузов
Трансмиссия
Коробка передач
Коробка раздаточная
Сцепление
Карданная передача
Мосты
Ходовая часть
Колеса и ступицы
Ось передняя
Подвеска
Рама
Электрооборудование
Приборы
Специальное оборудование
Устройство седельно-сцепное
Лебедка
Газовое оборудование
Прочие запчасти
Инструмент и принадлежности
Рукава и РТИ
Крепеж
Подшипники
Запчасти двигателя
Система выпуска газов
Система охлаждения
Система питания
Кабина и оперение
Передок кабины
Оперение кабины
Боковина кабины
Двери кабины
Задок кабины
Основание кабины
Крыша кабины
Сиденья кабины
Вентиляция и отопление кабины
Трансмиссия
Коробка передач
Раздаточная коробка
Карданный вал
Сцепление
Передний мост
Средний мост
Задний мост
Ходовая часть
Рама
Подвеска балансирная
Колеса и ступицы
Механизмы управления
Рулевое управление
Тормозная система
Платформа
Электрооборудование
Приборы
Оборудование и инструменты
Коробка отбора мощности
Лебедка
Устройство седельно-сцепное
Инструменты
Поиск
Графические каталоги
0
Группа компаний A-GROUP
Поиск
0
+7 (3513) 289-777
Обратный звонок
Отправить готовую заявку
Группа компаний A-GROUP
0
Меню
Поиск
Каталог запчастей
Запчасти Камаз
Запчасти Урал
Спецпредложения
О компании
Контакты
Главная
Графические каталоги
КамАЗ
КамАЗ-6460 (Евро 3, 4)
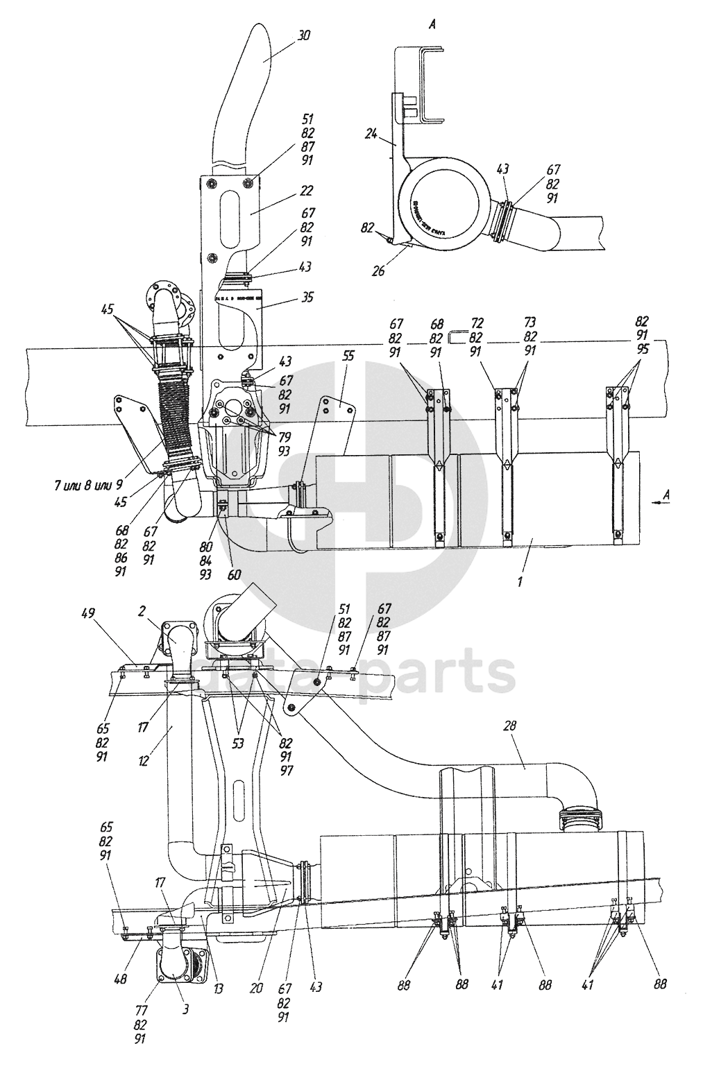
6460-1200004 Установка системы выпуска
6460-1200004 Установка системы выпуска КамАЗ-6460 (Евро 3, 4)
1
2
3
7
8
9
12
13
17
17
20
22
24
26
28
30
35
41
41
43
43
43
43
45
45
48
49
51
51
53
55
60
65
65
67
67
67
67
67
67
67
68
68
72
73
77
79
80
82
82
82
82
82
82
82
82
82
82
82
82
82
82
82
82
82
82
82
84
86
87
87
87
88
88
88
88
91
91
91
91
91
91
91
91
91
91
91
91
91
91
91
91
91
91
93
93
95
97
100
%
1
6520-1201010-03
Глушитель выпуска
Кол-во
1
?
Оставить заявку
2
54115-1203010-10
Патрубок приемный (сварка)
Кол-во
1
?
Узнать цену
54115-1203010-10
Патрубок КАМАЗ-ЕВРО приемный короткий (под 8 шпилек) нержавейка
ПАО КАМАЗ
В наличии 12 шт.
4 826 ₽
В корзину
3
54115-1203010-50
Патрубок приемный
Кол-во
1
?
Узнать цену
54115-1203010-50
Патрубок КАМАЗ-ЕВРО приемный короткий нержавейка
ПАО КАМАЗ
В наличии 16 шт.
5 137 ₽
В корзину
7
54115-1203012-01
Металлорукав
Кол-во
2
?
Оставить заявку
8
54115-1203012-02
Металлорукав
Кол-во
2
?
Оставить заявку
9
54115-1203012-03
Металлорукав
Кол-во
2
?
Оставить заявку
12
6460-1203013-40
Труба правая
Кол-во
1
?
Узнать цену
6460-1203013-40
Труба приемная глушителя КАМАЗ-6460 правая
ПАО КАМАЗ
под заказ
8 903 ₽
В корзину
13
6460-1203014-40
Труба левая
Кол-во
1
?
Узнать цену
6460-1203014-40
Труба приемная глушителя КАМАЗ-6460 левая
ПАО КАМАЗ
под заказ
4 453 ₽
В корзину
17
53215-1203023-01
Прокладка
Кол-во
2
?
Оставить заявку
20
6520-1203035
Тройник
Кол-во
1
?
Узнать цену
6520-1203035
Тройник КАМАЗ-6520 системы выпуска газов
ПАО КАМАЗ
В наличии 2 шт.
8 835 ₽
В корзину
22
6460-1203040-60
Стойка
Кол-во
1
?
Оставить заявку
24
6460-1203041-03
Кронштейн глушителя
Кол-во
3
?
Оставить заявку
26
6520-1203047
Хомут
Кол-во
3
?
Узнать цену
6520-1203047
Хомут
ПАО КАМАЗ
под заказ
446 ₽
В корзину
28
6460-1203048-61
Труба
Кол-во
1
?
Оставить заявку
30
6460-1203090-60
Труба выпускная
Кол-во
1
?
Узнать цену
6460-1203090-60
Труба выпускная
ПАО КАМАЗ
под заказ
10 464 ₽
В корзину
35
6460-1205010
Искрогаситель
Кол-во
1
?
Узнать цену
6460-1205010
Искрогаситель КАМАЗ-6520
ПАО КАМАЗ
под заказ
11 068 ₽
В корзину
41
43118-1101119-20
Проставка
Кол-во
9
?
Узнать цену
43118-1101119-20
Проставка
ПАО КАМАЗ
под заказ
352 ₽
В корзину
43
54115-1203020
Прокладка
Кол-во
4
?
Узнать цену
54115-1203020
Прокладка КАМАЗ-ЕВРО трубы приемной ФРИТЕКС
АО АЗ Урал
под заказ
35 ₽
В корзину
45
54115-1203023
Прокладка
Кол-во
10
?
Оставить заявку
48
54115-1203030-50
Кронштейн левой трубы
Кол-во
1
?
Узнать цену
54115-1203030-50
Кронштейн КАМАЗ-ЕВРО трубы приемной левой
ПАО КАМАЗ
под заказ
729 ₽
В корзину
49
54115-1203031-40
Кронштейн правой трубы
Кол-во
1
?
Узнать цену
54115-1203031-40
Кронштейн КАМАЗ-ЕВРО трубы приемной правый
ПАО КАМАЗ
под заказ
793 ₽
В корзину
51
6540-1203065
Стремянка
Кол-во
4
?
Узнать цену
6540-1203065
Стремянка КАМАЗ глушителя
ПАО КАМАЗ
под заказ
266 ₽
В корзину
53
6460-1203080-10
Проставка
Кол-во
2
?
Узнать цену
6460-1203080-10
Проставка
ПАО КАМАЗ
под заказ
385 ₽
В корзину
55
6460-1203183-60
Кронштейн
Кол-во
1
?
Узнать цену
6460-1203183-60
Кронштейн
ПАО КАМАЗ
под заказ
5 325 ₽
В корзину
60
6460-1203433
Хомут
Кол-во
2
?
Узнать цену
6460-1203433
Хомут
ПАО КАМАЗ
под заказ
1 308 ₽
В корзину
65
1/59709/21
Болт М10х1,25-6gх35
Кол-во
6
?
Оставить заявку
67
1/13070/21
Болт М10х1,25-6gх40
Кол-во
25
?
Оставить заявку
68
1/12347/21
Болт М10х1,25-6gх45
Кол-во
5
?
Оставить заявку
72
1/58887/21
Болт М10х1,25-6gх55
Кол-во
1
?
Оставить заявку
73
1/12880/21
Болт М10х1,25-6gх60
Кол-во
2
?
Оставить заявку
77
1/59724/31
Болт М10х1,25-6gх130
Кол-во
8
?
Оставить заявку
79
1/55403/21
Болт М12х1,25-6gх25
Кол-во
4
?
Оставить заявку
80
1/55404/21
Болт М12х1,25-6gх30
Кол-во
2
?
Оставить заявку
82
1/21647/11
Гайка М10х1,25-6Н
Кол-во
63
?
Оставить заявку
84
1/61015/11
Гайка М12х1,25-6Н
Кол-во
2
?
Оставить заявку
86
1/26386/01
Шайба плоская 10,6х18х2
Кол-во
4
?
Оставить заявку
87
1/26468/01
Шайба плоская 10,2х25х2
Кол-во
11
?
Оставить заявку
88
1/26443/01
Шайба плоская 10х35х3
Кол-во
10
?
Оставить заявку
91
1/05168/77
Шайба 10 пружинная
Кол-во
57
?
Оставить заявку
93
1/05170/77
Шайба 12 пружинная
Кол-во
6
?
Оставить заявку
95
853042
Болт М10х1,25-6gх82
Кол-во
3
?
Оставить заявку
97
853066
Болт М10х1,25-6gх75
Кол-во
2
?
Оставить заявку
Нужна помощь в подборе запчастей?
Напишите нам и оставьте ваши контактные данные. Мы перезвоним вам в течение 30 минут или раньше!
Кратвольд Елена
Менеджер по продажам
7 (3513) 289-777
koleso787@bk.ru
Вы должны включить JavaScript чтобы использовать эту форму.
Ваш вопрос
Email
Телефон
Отправляя форму вы подтверждаете согласие с
политикой обработки персональных данных
.
Отправить
Оставьте это поле пустым