Каталог запчастей
Запчасти Камаз
Запчасти Урал
Спецпредложения
О компании
Контакты
+7 (3513) 289-777
Отправить готовую заявку
Группа компаний A-GROUP
Каталог
Запчасти УРАЛ
Запчасти КАМАЗ
Двигатель
Система питания
Система выпуска газов
Система охлаждения
Механизмы управления
Рулевое управление
Тормозная система
Кабина и кузов
Кабина
Оперение кабины
Платформа и кузов
Трансмиссия
Коробка передач
Коробка раздаточная
Сцепление
Карданная передача
Мосты
Ходовая часть
Колеса и ступицы
Ось передняя
Подвеска
Рама
Электрооборудование
Приборы
Специальное оборудование
Устройство седельно-сцепное
Лебедка
Газовое оборудование
Прочие запчасти
Инструмент и принадлежности
Рукава и РТИ
Крепеж
Подшипники
Запчасти двигателя
Система выпуска газов
Система охлаждения
Система питания
Кабина и оперение
Передок кабины
Оперение кабины
Боковина кабины
Двери кабины
Задок кабины
Основание кабины
Крыша кабины
Сиденья кабины
Вентиляция и отопление кабины
Трансмиссия
Коробка передач
Раздаточная коробка
Карданный вал
Сцепление
Передний мост
Средний мост
Задний мост
Ходовая часть
Рама
Подвеска балансирная
Колеса и ступицы
Механизмы управления
Рулевое управление
Тормозная система
Платформа
Электрооборудование
Приборы
Оборудование и инструменты
Коробка отбора мощности
Лебедка
Устройство седельно-сцепное
Инструменты
Поиск
Графические каталоги
0
Группа компаний A-GROUP
Поиск
0
+7 (3513) 289-777
Обратный звонок
Отправить готовую заявку
Группа компаний A-GROUP
0
Меню
Поиск
Каталог запчастей
Запчасти Камаз
Запчасти Урал
Спецпредложения
О компании
Контакты
Главная
Графические каталоги
КамАЗ
КамАЗ-53229 (Евро 2)
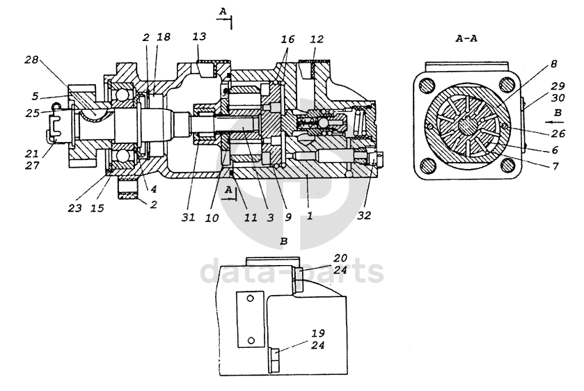
4310-3407201 -02 Насос гидроусилителя руля
4310-3407201 -02 Насос гидроусилителя руля КамАЗ-53229 (Евро 2)
1
2
2
3
4
5
6
7
8
9
10
11
12
13
15
16
18
19
20
21
22
23
24
24
25
26
27
28
29
30
31
32
100
%
1
4310-3407212-02
Крышка
Кол-во
1
?
Оставить заявку
2
4310-3407211-02
Корпус
Кол-во
1
?
Оставить заявку
3
5320-3407217
Валик насоса
Кол-во
1
?
Оставить заявку
4
5320-3407220
Кольцо маслоотгонное
Кол-во
1
?
Оставить заявку
5
5320-3407240
Шестерня привода насоса гидроусилителя руля
Кол-во
1
?
Оставить заявку
6
4310-3407248-02
Ротор
Кол-во
1
?
Оставить заявку
7
4310-3407251-02
Пластина
Кол-во
10
?
Оставить заявку
8
4310-3407253-02
Статор
Кол-во
1
?
Оставить заявку
9
4310-3407255-02
Диск распределительный
Кол-во
1
?
Оставить заявку
10
4310-3407256-02
Диск
Кол-во
1
?
Оставить заявку
11
4310-3407287-03
Кольцо уплотнительное
Кол-во
1
?
Оставить заявку
12
4310-3407334-02
Заглушка
Кол-во
1
?
Оставить заявку
13
4310-3407335-03
Заглушка
Кол-во
1
?
Оставить заявку
15
305А
Подшипник 305А
Кол-во
1
?
Оставить заявку
16
Кольцо058-062-25-2-2
Кольцо 058-062-25-2-2
Кол-во
2
?
Оставить заявку
18
Манжета1,1-24x46-4
Манжета 1,1-24x46-4
Кол-во
1
?
Оставить заявку
19
БолтМ10х1,25-6gx70.88.35.05
Болт М10х1,25-6gx70.88.35.05
Кол-во
2
?
Оставить заявку
20
БолтМ10х1,25-6gx90.88.35.05
Болт М10х1,25-6gx90.88.35.05
Кол-во
2
?
Оставить заявку
21
ГайкаМ16х1,5-Л-6Н
Гайка М16х1,5-Л-6Н
Кол-во
1
?
Оставить заявку
22
КольцоВ47
Кольцо В47
Кол-во
1
?
Оставить заявку
23
КольцоВ62
Кольцо В62
Кол-во
1
?
Оставить заявку
24
Шайба10.65Г.05
Шайба 10.65Г.05
Кол-во
4
?
Оставить заявку
25
ШайбаА16.05.05
Шайба А16.05.05
Кол-во
1
?
Оставить заявку
26
Штифт4x45
Штифт 4x45
Кол-во
2
?
Оставить заявку
27
Шплинт4x30
Шплинт разводной 4x30
Кол-во
1
?
Оставить заявку
28
Шпонка5x7,5
Шпонка 5x7,5
Кол-во
1
?
Оставить заявку
29
Табличка40x20
Табличка 40x20
Кол-во
1
?
Оставить заявку
30
Заклепка2x6,37
Заклепка 2x6,37
Кол-во
1
?
Оставить заявку
31
154901Е
Подшипник игольчатый
Кол-во
1
?
Оставить заявку
32
853889
Пробка транспортная
Кол-во
1
?
Оставить заявку
Нужна помощь в подборе запчастей?
Напишите нам и оставьте ваши контактные данные. Мы перезвоним вам в течение 30 минут или раньше!
Кратвольд Елена
Менеджер по продажам
7 (3513) 289-777
koleso787@bk.ru
Вы должны включить JavaScript чтобы использовать эту форму.
Ваш вопрос
Email
Телефон
Отправляя форму вы подтверждаете согласие с
политикой обработки персональных данных
.
Отправить
Оставьте это поле пустым