Каталог запчастей
Запчасти Камаз
Запчасти Урал
Спецпредложения
О компании
Контакты
+7 (3513) 289-777
Отправить готовую заявку
Группа компаний A-GROUP
Каталог
Запчасти УРАЛ
Запчасти КАМАЗ
Двигатель
Система питания
Система выпуска газов
Система охлаждения
Механизмы управления
Рулевое управление
Тормозная система
Кабина и кузов
Кабина
Оперение кабины
Платформа и кузов
Трансмиссия
Коробка передач
Коробка раздаточная
Сцепление
Карданная передача
Мосты
Ходовая часть
Колеса и ступицы
Ось передняя
Подвеска
Рама
Электрооборудование
Приборы
Специальное оборудование
Устройство седельно-сцепное
Лебедка
Газовое оборудование
Прочие запчасти
Инструмент и принадлежности
Рукава и РТИ
Крепеж
Подшипники
Запчасти двигателя
Система выпуска газов
Система охлаждения
Система питания
Кабина и оперение
Передок кабины
Оперение кабины
Боковина кабины
Двери кабины
Задок кабины
Основание кабины
Крыша кабины
Сиденья кабины
Вентиляция и отопление кабины
Трансмиссия
Коробка передач
Раздаточная коробка
Карданный вал
Сцепление
Передний мост
Средний мост
Задний мост
Ходовая часть
Рама
Подвеска балансирная
Колеса и ступицы
Механизмы управления
Рулевое управление
Тормозная система
Платформа
Электрооборудование
Приборы
Оборудование и инструменты
Коробка отбора мощности
Лебедка
Устройство седельно-сцепное
Инструменты
Поиск
Графические каталоги
0
Группа компаний A-GROUP
Поиск
0
+7 (3513) 289-777
Обратный звонок
Отправить готовую заявку
Группа компаний A-GROUP
0
Меню
Поиск
Каталог запчастей
Запчасти Камаз
Запчасти Урал
Спецпредложения
О компании
Контакты
Главная
Графические каталоги
КамАЗ
КамАЗ-53229 (Евро 2)
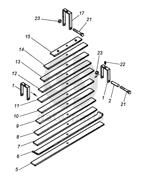
5322-2912012-02 Рессора задняя
5322-2912012-02 Рессора задняя КамАЗ-53229 (Евро 2)
1
1
2
5
6
7
8
9
10
11
12
13
14
15
17
21
21
22
23
23
100
%
1
5322-2912060-02
Хомут
Кол-во
2
?
Оставить заявку
2
5320-2912068
Втулка распорная
Кол-во
2
?
Оставить заявку
5
55111-2912101-02
Лист задней рессоры
Кол-во
1
?
Оставить заявку
6
55111-2912102-02
Лист задней рессоры
Кол-во
1
?
Оставить заявку
7
5322-2912103-02
Лист задней рессоры
Кол-во
1
?
Оставить заявку
8
5322-2912104-02
Лист задней рессоры
Кол-во
1
?
Оставить заявку
9
5322-2912105-02
Лист задней рессоры
Кол-во
1
?
Оставить заявку
10
55111-2912105-02
Лист задней рессоры
Кол-во
1
?
Оставить заявку
11
5322-2912107-02
Лист задней рессоры
Кол-во
1
?
Оставить заявку
12
5322-2912108-02
Лист задней рессоры
Кол-во
1
?
Оставить заявку
13
5322-2912109-02
Лист задней рессоры
Кол-во
1
?
Оставить заявку
14
5322-2912110-02
Лист задней рессоры
Кол-во
1
?
Оставить заявку
15
4310-2912112
Лист № 12 задней рессоры
Кол-во
1
?
Оставить заявку
17
5322-2912149-02
Хомут стяжной
Кол-во
1
?
Оставить заявку
21
4510491001096
Болт М10х-6gх120 ГОСТ 7796-80
Кол-во
3
?
Оставить заявку
22
45104994104000
Заклепка 12x40 01.10.01 ГОСТ 10299-70
Кол-во
2
?
Оставить заявку
23
45104993000100
Гайка М10х1,25-6Н.6.016
Кол-во
3
?
Оставить заявку
Нужна помощь в подборе запчастей?
Напишите нам и оставьте ваши контактные данные. Мы перезвоним вам в течение 30 минут или раньше!
Кратвольд Елена
Менеджер по продажам
7 (3513) 289-777
koleso787@bk.ru
Вы должны включить JavaScript чтобы использовать эту форму.
Ваш вопрос
Email
Телефон
Отправляя форму вы подтверждаете согласие с
политикой обработки персональных данных
.
Отправить
Оставьте это поле пустым