Каталог запчастей
Запчасти Камаз
Запчасти Урал
Спецпредложения
О компании
Контакты
+7 (3513) 289-777
Отправить готовую заявку
Группа компаний A-GROUP
Каталог
Запчасти УРАЛ
Запчасти КАМАЗ
Двигатель
Система питания
Система выпуска газов
Система охлаждения
Механизмы управления
Рулевое управление
Тормозная система
Кабина и кузов
Кабина
Оперение кабины
Платформа и кузов
Трансмиссия
Коробка передач
Коробка раздаточная
Сцепление
Карданная передача
Мосты
Ходовая часть
Колеса и ступицы
Ось передняя
Подвеска
Рама
Электрооборудование
Приборы
Специальное оборудование
Устройство седельно-сцепное
Лебедка
Газовое оборудование
Прочие запчасти
Инструмент и принадлежности
Рукава и РТИ
Крепеж
Подшипники
Запчасти двигателя
Система выпуска газов
Система охлаждения
Система питания
Кабина и оперение
Передок кабины
Оперение кабины
Боковина кабины
Двери кабины
Задок кабины
Основание кабины
Крыша кабины
Сиденья кабины
Вентиляция и отопление кабины
Трансмиссия
Коробка передач
Раздаточная коробка
Карданный вал
Сцепление
Передний мост
Средний мост
Задний мост
Ходовая часть
Рама
Подвеска балансирная
Колеса и ступицы
Механизмы управления
Рулевое управление
Тормозная система
Платформа
Электрооборудование
Приборы
Оборудование и инструменты
Коробка отбора мощности
Лебедка
Устройство седельно-сцепное
Инструменты
Поиск
Графические каталоги
0
Группа компаний A-GROUP
Поиск
0
+7 (3513) 289-777
Обратный звонок
Отправить готовую заявку
Группа компаний A-GROUP
0
Меню
Поиск
Каталог запчастей
Запчасти Камаз
Запчасти Урал
Спецпредложения
О компании
Контакты
Главная
Графические каталоги
КамАЗ
КамАЗ-53229 (Евро 2)
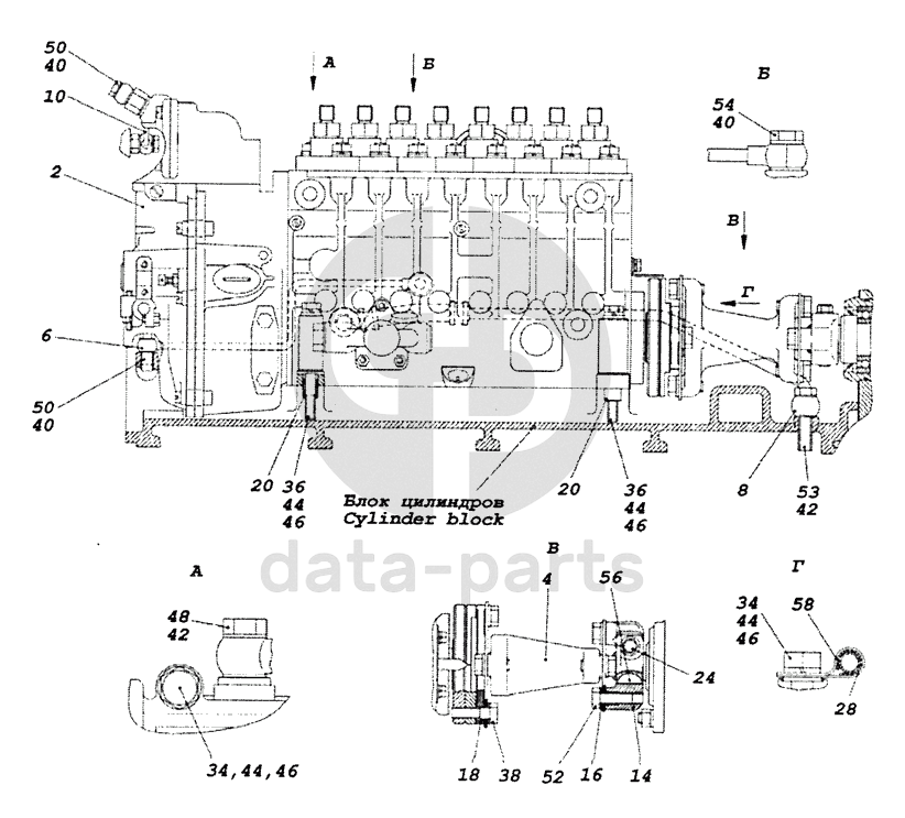
740.31-1111000-90 Установка и привод ТНВД
740.31-1111000-90 Установка и привод ТНВД КамАЗ-53229 (Евро 2)
2
4
6
8
10
14
16
18
20
20
24
28
34
34
36
36
38
40
40
40
42
42
44
44
44
44
46
46
46
46
48
50
50
52
53
54
56
58
100
%
2
740.50-1111005-90
ТНВД с фланцем и полумуфтой ведомой
Кол-во
1
?
Оставить заявку
4
7482.1111050
Вал привода ТНВД в сборе
Кол-во
1
?
Узнать цену
7482-1111050
Вал КАМАЗ-ЕВРО-2 привода ТНВД под BOSCH с пластинами в сборе
ПАО КАМАЗ
В наличии 13 шт.
5 404 ₽
В корзину
6
740.50-1111568-10
Трубка подвода масла
Кол-во
1
?
Оставить заявку
8
740.50-1111570-10
Трубка отвода масла
Кол-во
1
?
Оставить заявку
10
740.50-1111573-90
Трубка подвода воздуха к корректору
Кол-во
1
?
Узнать цену
740.50-1111573-90
Трубка КАМАЗ-ЕВРО-2 3 подвода воздуха к корректору
ПАО КАМАЗ
под заказ
867 ₽
В корзину
14
740.51-1111054-01
Полумуфта ведущая
Кол-во
1
?
Оставить заявку
16
7406.1111066
Втулка центрирующая
Кол-во
4
?
Оставить заявку
18
7482.1111068
Фланец центрирующий
Кол-во
1
?
Узнать цену
7482.1111068
Фланец КАМАЗ-ЕВРО центрирующий вала привода ТНВД
ПАО КАМАЗ
В наличии 2 шт.
1 039 ₽
В корзину
20
7482.1111078
Втулка установочная
Кол-во
2
?
Узнать цену
7482.1111078
Втулка
ПАО КАМАЗ
под заказ
143 ₽
В корзину
24
740.51-1111084
Болт полумуфты ведущей
Кол-во
1
?
Узнать цену
740.51-1111084
Болт КАМАЗ полумуфты ведущей ТНВД
ПАО КАМАЗ
В наличии 16 шт.
703 ₽
В корзину
28
740.3407034
Прокладка
Кол-во
1
?
Оставить заявку
34
1/59716/21
Болт М10х1,25-6gх90
Кол-во
2
?
Оставить заявку
36
1/59718/21
Болт М10х1,25-6gх100
Кол-во
4
?
Оставить заявку
38
1/59709/31
Болт М10х1,25-6gх35
Кол-во
2
?
Оставить заявку
40
1/02844/60
Прокладка уплотнительная 10х16х1,5
Кол-во
9
?
Оставить заявку
42
1/02800/60
Прокладка уплотнительная 14х20х1,5
Кол-во
5
?
Узнать цену
1/02800/60
ПРОКЛАДКА 14Х20Х1.5,
АО АЗ Урал
под заказ
25 ₽
В корзину
44
1/26386/01
Шайба плоская 10,6х18х2
Кол-во
4
?
Оставить заявку
46
1/05168/73
Шайба 10 пружинная
Кол-во
4
?
Оставить заявку
48
870005
Болт М14х1,5-6gх30
Кол-во
1
?
Оставить заявку
50
870007
Болт М10х1,25-6gх23
Кол-во
2
?
Оставить заявку
52
870012
Болт М10х1,25-6gх30
Кол-во
2
?
Оставить заявку
53
870022
Болт М14х1,5-6gх48
Кол-во
1
?
Оставить заявку
54
870032
Болт М10х1-6gх22
Кол-во
1
?
Оставить заявку
56
870813
Шпонка сегментная 6х9х22
Кол-во
1
?
Узнать цену
870813
Шпонка КАМАЗ коленвала вилки сцепления 6х9х22
ПАО КАМАЗ
В наличии 10 шт.
75 ₽
В корзину
58
870935
Кляммер
Кол-во
1
?
Узнать цену
870935
Кляммер КАМАЗ (двигатель 820.60-73 газ)
ПАО КАМАЗ
под заказ
15 ₽
В корзину
Нужна помощь в подборе запчастей?
Напишите нам и оставьте ваши контактные данные. Мы перезвоним вам в течение 30 минут или раньше!
Кратвольд Елена
Менеджер по продажам
7 (3513) 289-777
koleso787@bk.ru
Вы должны включить JavaScript чтобы использовать эту форму.
Ваш вопрос
Email
Телефон
Отправляя форму вы подтверждаете согласие с
политикой обработки персональных данных
.
Отправить
Оставьте это поле пустым