Каталог запчастей
Запчасти Камаз
Запчасти Урал
Спецпредложения
О компании
Контакты
+7 (3513) 289-777
Отправить готовую заявку
Группа компаний A-GROUP
Каталог
Запчасти УРАЛ
Запчасти КАМАЗ
Двигатель
Система питания
Система выпуска газов
Система охлаждения
Механизмы управления
Рулевое управление
Тормозная система
Кабина и кузов
Кабина
Оперение кабины
Платформа и кузов
Трансмиссия
Коробка передач
Коробка раздаточная
Сцепление
Карданная передача
Мосты
Ходовая часть
Колеса и ступицы
Ось передняя
Подвеска
Рама
Электрооборудование
Приборы
Специальное оборудование
Устройство седельно-сцепное
Лебедка
Газовое оборудование
Прочие запчасти
Инструмент и принадлежности
Рукава и РТИ
Крепеж
Подшипники
Запчасти двигателя
Система выпуска газов
Система охлаждения
Система питания
Кабина и оперение
Передок кабины
Оперение кабины
Боковина кабины
Двери кабины
Задок кабины
Основание кабины
Крыша кабины
Сиденья кабины
Вентиляция и отопление кабины
Трансмиссия
Коробка передач
Раздаточная коробка
Карданный вал
Сцепление
Передний мост
Средний мост
Задний мост
Ходовая часть
Рама
Подвеска балансирная
Колеса и ступицы
Механизмы управления
Рулевое управление
Тормозная система
Платформа
Электрооборудование
Приборы
Оборудование и инструменты
Коробка отбора мощности
Лебедка
Устройство седельно-сцепное
Инструменты
Поиск
Графические каталоги
0
Группа компаний A-GROUP
Поиск
0
+7 (3513) 289-777
Обратный звонок
Отправить готовую заявку
Группа компаний A-GROUP
0
Меню
Поиск
Каталог запчастей
Запчасти Камаз
Запчасти Урал
Спецпредложения
О компании
Контакты
Главная
Графические каталоги
КамАЗ
КамАЗ-53229 (Евро 2)
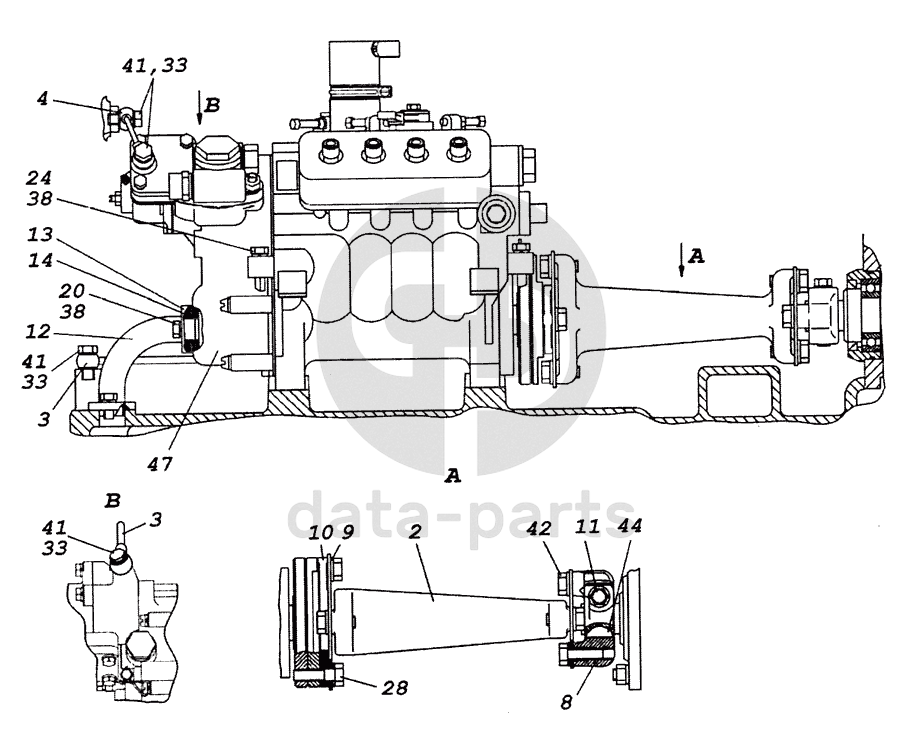
740.31-1111000-40 Установка ТНВД
740.31-1111000-40 Установка ТНВД КамАЗ-53229 (Евро 2)
2
3
3
4
8
9
10
11
12
13
14
20
24
28
33
33
33
38
38
41
41
41
42
44
47
100
%
2
7406.1111050
Вал привода ТНВД в сборе
Кол-во
1
?
Узнать цену
7406.1111050
Вал КАМАЗ-ЕВРО-2 привода ТНВД с пластинами в сборе
ПАО КАМАЗ
В наличии 4 шт.
4 542 ₽
В корзину
3
740.30-1111568
Трубка подвода масла
Кол-во
1
?
Узнать цену
740.30-1111568
Трубка КАМАЗ-ЕВРО-2 подвода масла к ТНВД
ПАО КАМАЗ
В наличии 3 шт.
932 ₽
В корзину
4
7406.1111573
Трубка подвода воздуха к корректору
Кол-во
1
?
Узнать цену
7406.1111573
Трубка КАМАЗ-ЕВРО-2 3 подвода воздуха к корректору
ПАО КАМАЗ
под заказ
1 185 ₽
В корзину
8
740.51-1111054-01
Полумуфта ведущая
Кол-во
1
?
Оставить заявку
9
7406.1111066
Втулка центрирующая
Кол-во
4
?
Оставить заявку
10
7482.1111068
Фланец центрирующий
Кол-во
1
?
Узнать цену
7482.1111068
Фланец КАМАЗ-ЕВРО центрирующий вала привода ТНВД
ПАО КАМАЗ
В наличии 2 шт.
1 039 ₽
В корзину
11
740.51-1111084
Болт полумуфты ведущей
Кол-во
1
?
Узнать цену
740.51-1111084
Болт КАМАЗ полумуфты ведущей ТНВД
ПАО КАМАЗ
В наличии 16 шт.
703 ₽
В корзину
12
740.1111570
Трубка отвода масла
Кол-во
1
?
Узнать цену
740.1111570
Трубка КАМАЗ отвода масла
ПАО КАМАЗ
под заказ
259 ₽
В корзину
13
740.1111572
Фланец трубы отвода масла
Кол-во
2
?
Узнать цену
740.1111572
Фланец КАМАЗ трубки отвода масла ТНВД
ПАО КАМАЗ
В наличии 14 шт.
199 ₽
В корзину
14
740.1111578
Кольцо уплотнительное крышки корпуса включателя
Кол-во
2
?
Оставить заявку
20
1/60432/21
Болт М8-6gх16
Кол-во
4
?
Оставить заявку
24
1/60448/21
Болт М8-6gх80
Кол-во
4
?
Оставить заявку
28
1/59709/31
Болт М10х1,25-6gх35
Кол-во
2
?
Оставить заявку
33
1/02844/60
Прокладка уплотнительная 10х16х1,5
Кол-во
8
?
Оставить заявку
38
1/05166/73
Шайба 8 пружинная
Кол-во
8
?
Оставить заявку
41
870007
Болт М10х1,25-6gх23
Кол-во
4
?
Оставить заявку
42
870012
Болт М10х1,25-6gх30
Кол-во
2
?
Оставить заявку
44
870813
Шпонка сегментная 6х9х22
Кол-во
1
?
Узнать цену
870813
Шпонка КАМАЗ коленвала вилки сцепления 6х9х22
ПАО КАМАЗ
В наличии 10 шт.
75 ₽
В корзину
47
3371.1111005-20.05
Насос топливный высокого давления
Кол-во
1
?
Оставить заявку
Нужна помощь в подборе запчастей?
Напишите нам и оставьте ваши контактные данные. Мы перезвоним вам в течение 30 минут или раньше!
Кратвольд Елена
Менеджер по продажам
7 (3513) 289-777
koleso787@bk.ru
Вы должны включить JavaScript чтобы использовать эту форму.
Ваш вопрос
Email
Телефон
Отправляя форму вы подтверждаете согласие с
политикой обработки персональных данных
.
Отправить
Оставьте это поле пустым