Каталог запчастей
Запчасти Камаз
Запчасти Урал
Спецпредложения
О компании
Контакты
+7 (3513) 289-777
Отправить готовую заявку
Группа компаний A-GROUP
Каталог
Запчасти УРАЛ
Запчасти КАМАЗ
Двигатель
Система питания
Система выпуска газов
Система охлаждения
Механизмы управления
Рулевое управление
Тормозная система
Кабина и кузов
Кабина
Оперение кабины
Платформа и кузов
Трансмиссия
Коробка передач
Коробка раздаточная
Сцепление
Карданная передача
Мосты
Ходовая часть
Колеса и ступицы
Ось передняя
Подвеска
Рама
Электрооборудование
Приборы
Специальное оборудование
Устройство седельно-сцепное
Лебедка
Газовое оборудование
Прочие запчасти
Инструмент и принадлежности
Рукава и РТИ
Крепеж
Подшипники
Запчасти двигателя
Система выпуска газов
Система охлаждения
Система питания
Кабина и оперение
Передок кабины
Оперение кабины
Боковина кабины
Двери кабины
Задок кабины
Основание кабины
Крыша кабины
Сиденья кабины
Вентиляция и отопление кабины
Трансмиссия
Коробка передач
Раздаточная коробка
Карданный вал
Сцепление
Передний мост
Средний мост
Задний мост
Ходовая часть
Рама
Подвеска балансирная
Колеса и ступицы
Механизмы управления
Рулевое управление
Тормозная система
Платформа
Электрооборудование
Приборы
Оборудование и инструменты
Коробка отбора мощности
Лебедка
Устройство седельно-сцепное
Инструменты
Поиск
Графические каталоги
0
Группа компаний A-GROUP
Поиск
0
+7 (3513) 289-777
Обратный звонок
Отправить готовую заявку
Группа компаний A-GROUP
0
Меню
Поиск
Каталог запчастей
Запчасти Камаз
Запчасти Урал
Спецпредложения
О компании
Контакты
Главная
Графические каталоги
КамАЗ
КамАЗ-4308 (Евро 3)
43081-2402021-10 Шестерня ведущая заднего моста
43081-2402021-10 Шестерня ведущая заднего моста КамАЗ-4308 (Евро 3)
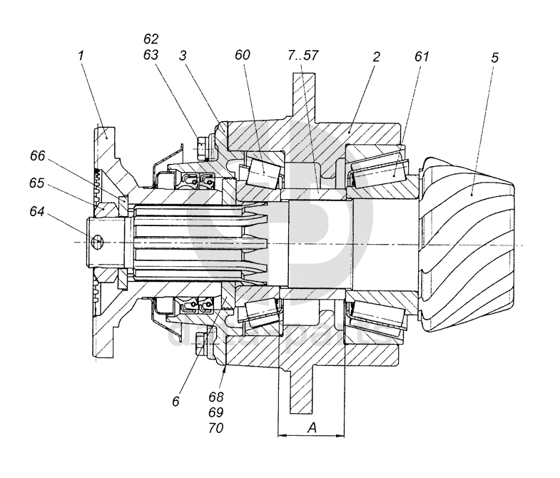
1
2
3
5
6
7
8
9
10
11
12
13
14
15
16
17
18
19
20
21
22
23
24
25
26
27
28
29
30
31
32
33
34
35
36
37
38
39
40
41
42
43
44
45
46
47
48
49
50
51
52
53
54
55
56
57
60
61
62
63
64
65
66
68
69
70
100
%
1
53205-2402036
Фланец ведущего вала в сборе
Кол-во
1
?
Узнать цену
53205-2402036
Фланец КАМАЗ-ЕВРО ведущего вала
ПАО КАМАЗ
В наличии 6 шт.
4 092 ₽
В корзину
2
43081-2402048
Стакан подшипников
Кол-во
1
?
Узнать цену
43081-2402048
Стакан подшипников
ПАО КАМАЗ
под заказ
17 951 ₽
В корзину
3
43081-2402050
Крышка стакана подшипников
Кол-во
1
?
Узнать цену
43081-2402050
Крышка стакана подшипников
ПАО КАМАЗ
под заказ
5 335 ₽
В корзину
5
43081-2402017-20
Шестерня ведущая заднего моста
Кол-во
1
?
Оставить заявку
5
43081-2402017-30
Шестерня ведущая заднего моста
Кол-во
1
?
Оставить заявку
5
43081-2402017-10
Шестерня ведущая заднего моста
Кол-во
1
?
Оставить заявку
5
43081-2402017-40
Шестерня ведущая заднего моста
Кол-во
1
?
Оставить заявку
6
53205-2402175
Шайба маслоотгонная
Кол-во
1
?
Узнать цену
53205-2402175
Шайба опорная
ПАО КАМАЗ
В наличии 29 шт.
644 ₽
В корзину
7
43081-2402188
Втулка регулировочная
Кол-во
1
?
Узнать цену
43081-2402188
Втулка регулировочная
ПАО КАМАЗ
под заказ
1 611 ₽
В корзину
8
43081-2402189
Втулка регулировочная
Кол-во
1
?
Узнать цену
43081-2402189
Втулка регулировочная
ПАО КАМАЗ
под заказ
1 606 ₽
В корзину
9
43081-2402190
Втулка регулировочная
Кол-во
1
?
Оставить заявку
10
43081-2402191
Втулка регулировочная
Кол-во
1
?
Оставить заявку
11
43081-2402192
Втулка регулировочная
Кол-во
1
?
Оставить заявку
12
43081-2402193
Втулка регулировочная
Кол-во
1
?
Оставить заявку
13
43081-2402194
Втулка регулировочная
Кол-во
1
?
Оставить заявку
14
43081-2402195
Втулка регулировочная
Кол-во
1
?
Оставить заявку
15
43081-2402196
Втулка регулировочная
Кол-во
1
?
Оставить заявку
16
43081-2402197
Втулка регулировочная
Кол-во
1
?
Оставить заявку
17
43081-2402198
Втулка регулировочная
Кол-во
1
?
Оставить заявку
18
43081-2402199
Втулка регулировочная
Кол-во
1
?
Оставить заявку
19
43081-2402200
Втулка регулировочная
Кол-во
1
?
Узнать цену
43081-2402200
Втулка регулировочная
ПАО КАМАЗ
под заказ
1 207 ₽
В корзину
20
43081-2402201
Втулка регулировочная
Кол-во
1
?
Оставить заявку
21
43081-2402202
Втулка регулировочная
Кол-во
1
?
Узнать цену
43081-2402202
Втулка регулировочная
ПАО КАМАЗ
под заказ
1 604 ₽
В корзину
22
43081-2402203
Втулка регулировочная
Кол-во
1
?
Оставить заявку
23
43081-2402204
Втулка регулировочная
Кол-во
1
?
Оставить заявку
24
43081-2402205
Втулка регулировочная
Кол-во
1
?
Оставить заявку
25
43081-2402206
Втулка регулировочная
Кол-во
1
?
Оставить заявку
26
43081-2402207
Втулка регулировочная
Кол-во
1
?
Оставить заявку
27
43081-2402208
Втулка регулировочная
Кол-во
1
?
Оставить заявку
28
43081-2402209
Втулка регулировочная
Кол-во
1
?
Оставить заявку
29
43081-2402210
Втулка регулировочная
Кол-во
1
?
Узнать цену
43081-2402210
Втулка регулировочная
ПАО КАМАЗ
под заказ
1 189 ₽
В корзину
30
43081-2402211
Втулка регулировочная
Кол-во
1
?
Оставить заявку
31
43081-2402212
Втулка регулировочная
Кол-во
1
?
Оставить заявку
32
43081-2402213
Втулка регулировочная
Кол-во
1
?
Оставить заявку
33
43081-2402214
Втулка регулировочная
Кол-во
1
?
Оставить заявку
34
43081-2402215
Втулка регулировочная
Кол-во
1
?
Узнать цену
43081-2402215
Втулка регулировочная
ПАО КАМАЗ
под заказ
1 180 ₽
В корзину
35
43081-2402216
Втулка регулировочная
Кол-во
1
?
Оставить заявку
36
43081-2402217
Втулка регулировочная
Кол-во
1
?
Оставить заявку
37
43081-2402218
Втулка регулировочная
Кол-во
1
?
Оставить заявку
38
43081-2402219
Втулка регулировочная
Кол-во
1
?
Узнать цену
43081-2402219
Втулка регулировочная
ПАО КАМАЗ
под заказ
1 616 ₽
В корзину
39
43081-2402220
Втулка регулировочная
Кол-во
1
?
Узнать цену
43081-2402220
Втулка регулировочная
ПАО КАМАЗ
под заказ
1 200 ₽
В корзину
40
43081-2402221
Втулка регулировочная
Кол-во
1
?
Оставить заявку
41
43081-2402222
Втулка регулировочная
Кол-во
1
?
Оставить заявку
42
43081-2402223
Втулка регулировочная
Кол-во
1
?
Оставить заявку
43
43081-2402224
Втулка регулировочная
Кол-во
1
?
Оставить заявку
44
43081-2402225
Втулка регулировочная
Кол-во
1
?
Оставить заявку
45
43081-2402226
Втулка регулировочная
Кол-во
1
?
Оставить заявку
46
43081-2402227
Втулка регулировочная
Кол-во
1
?
Оставить заявку
47
43081-2402228
Втулка регулировочная
Кол-во
1
?
Оставить заявку
48
43081-2402229
Втулка регулировочная
Кол-во
1
?
Оставить заявку
49
43081-2402230
Втулка регулировочная
Кол-во
1
?
Оставить заявку
50
43081-2402231
Втулка регулировочная
Кол-во
1
?
Оставить заявку
51
43081-2402232
Втулка регулировочная
Кол-во
1
?
Оставить заявку
52
43081-2402233
Втулка регулировочная
Кол-во
1
?
Оставить заявку
53
43081-2402234
Втулка регулировочная
Кол-во
1
?
Оставить заявку
54
43081-2402235
Втулка регулировочная
Кол-во
1
?
Оставить заявку
55
43081-2402236
Втулка регулировочная
Кол-во
1
?
Оставить заявку
56
43081-2402237
Втулка регулировочная
Кол-во
1
?
Узнать цену
43081-2402237
Втулка регулировочная
ПАО КАМАЗ
под заказ
1 369 ₽
В корзину
57
43081-2402238
Втулка регулировочная
Кол-во
1
?
Узнать цену
43081-2402238
Втулка регулировочная
ПАО КАМАЗ
под заказ
1 114 ₽
В корзину
60
45104953003500
Подшипник 6-7311А роликовый конический однорядный
Кол-во
1
?
Оставить заявку
61
45104953003600
Подшипник 6-7612 А роликовый конический однорядный
Кол-во
1
?
Оставить заявку
62
1/60438/21
Болт М8-6gх30
Кол-во
8
?
Оставить заявку
63
1/05166/77
Шайба 8 пружинная
Кол-во
8
?
Оставить заявку
64
1/07350/01
Шплинт 4,7х50
Кол-во
1
?
Оставить заявку
65
853522
Гайка прорезная МЗЗх1,5-6Н
Кол-во
1
?
Узнать цену
853522
Гайка М33х1.5-6Н КАМАЗ фланца среднего моста
ПАО КАМАЗ
В наличии 13 шт.
296 ₽
В корзину
66
862500
Шайба плоская 34х60х6
Кол-во
1
?
Узнать цену
862500
Шайба КАМАЗ гайки хвостовика МОД 34х60х6мм (плоская)
ПАО КАМАЗ
под заказ
149 ₽
В корзину
68
45104001000100
Герметик Локтайт 518
Кол-во
1
?
Оставить заявку
69
45104001001100
Прокладка-герметик Фиксатор 18
Кол-во
1
?
Оставить заявку
70
45104001001200
Прокладка-герметик
Кол-во
1
?
Оставить заявку
Нужна помощь в подборе запчастей?
Напишите нам и оставьте ваши контактные данные. Мы перезвоним вам в течение 30 минут или раньше!
Кратвольд Елена
Менеджер по продажам
7 (3513) 289-777
koleso787@bk.ru
Вы должны включить JavaScript чтобы использовать эту форму.
Ваш вопрос
Email
Телефон
Отправляя форму вы подтверждаете согласие с
политикой обработки персональных данных
.
Отправить
Оставьте это поле пустым