Каталог запчастей
Запчасти Камаз
Запчасти Урал
Спецпредложения
О компании
Контакты
+7 (3513) 289-777
Отправить готовую заявку
Группа компаний A-GROUP
Каталог
Запчасти УРАЛ
Запчасти КАМАЗ
Двигатель
Система питания
Система выпуска газов
Система охлаждения
Механизмы управления
Рулевое управление
Тормозная система
Кабина и кузов
Кабина
Оперение кабины
Платформа и кузов
Трансмиссия
Коробка передач
Коробка раздаточная
Сцепление
Карданная передача
Мосты
Ходовая часть
Колеса и ступицы
Ось передняя
Подвеска
Рама
Электрооборудование
Приборы
Специальное оборудование
Устройство седельно-сцепное
Лебедка
Газовое оборудование
Прочие запчасти
Инструмент и принадлежности
Рукава и РТИ
Крепеж
Подшипники
Запчасти двигателя
Система выпуска газов
Система охлаждения
Система питания
Кабина и оперение
Передок кабины
Оперение кабины
Боковина кабины
Двери кабины
Задок кабины
Основание кабины
Крыша кабины
Сиденья кабины
Вентиляция и отопление кабины
Трансмиссия
Коробка передач
Раздаточная коробка
Карданный вал
Сцепление
Передний мост
Средний мост
Задний мост
Ходовая часть
Рама
Подвеска балансирная
Колеса и ступицы
Механизмы управления
Рулевое управление
Тормозная система
Платформа
Электрооборудование
Приборы
Оборудование и инструменты
Коробка отбора мощности
Лебедка
Устройство седельно-сцепное
Инструменты
Поиск
Графические каталоги
0
Группа компаний A-GROUP
Поиск
0
+7 (3513) 289-777
Обратный звонок
Отправить готовую заявку
Группа компаний A-GROUP
0
Меню
Поиск
Каталог запчастей
Запчасти Камаз
Запчасти Урал
Спецпредложения
О компании
Контакты
Главная
Графические каталоги
КамАЗ
КамАЗ-65201 Евро 2-3
65201-1000263 Агрегат силовой 740.50-360
65201-1000263 Агрегат силовой 740.50-360 КамАЗ-65201 Евро 2-3
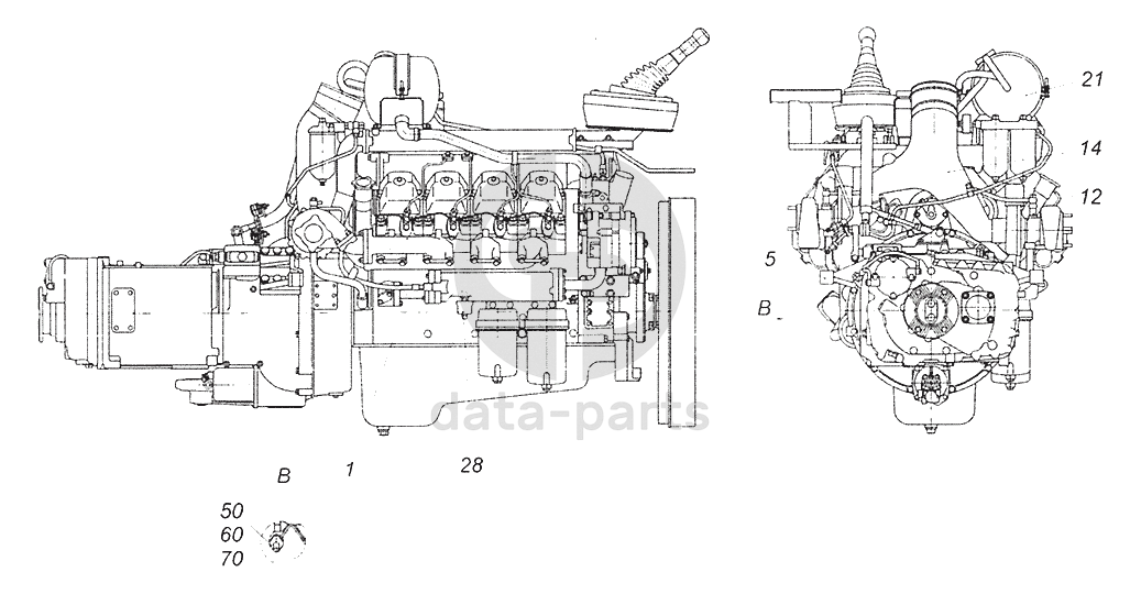
1
5
12
14
21
28
50
60
70
100
%
1
740.60-1000300-95
Агрегат силовой
Кол-во
1
?
Оставить заявку
1
740.60-1000300-96
Агрегат силовой
Кол-во
1
?
Оставить заявку
5
6520-1001000
Установка кронштейнов силового агрегата
Кол-во
1
?
Оставить заявку
5
65201-1001000
Установка кронштейнов силового агрегата
Кол-во
1
?
Оставить заявку
12
6520-1104000-90
Установка топливопроводов
Кол-во
1
?
Оставить заявку
14
6520-1109048
Установка тройника
Кол-во
1
?
Оставить заявку
21
6520-1311005
Установка расширительного бачка
Кол-во
1
?
Оставить заявку
28
740.62-3800001
Установка датчиков на двигателе
Кол-во
1
?
Оставить заявку
50
53205-8106065
Штуцер подводящий
Кол-во
1
?
Узнать цену
53205-8106065
Штуцер КАМАЗ отводящий ПЖД
ПАО КАМАЗ
под заказ
626 ₽
В корзину
60
1/60436/21
Болт М8-6gх25
Кол-во
2
?
Оставить заявку
70
1/05166/77
Шайба 8 пружинная
Кол-во
2
?
Оставить заявку
Нужна помощь в подборе запчастей?
Напишите нам и оставьте ваши контактные данные. Мы перезвоним вам в течение 30 минут или раньше!
Кратвольд Елена
Менеджер по продажам
7 (3513) 289-777
koleso787@bk.ru
Вы должны включить JavaScript чтобы использовать эту форму.
Ваш вопрос
Email
Телефон
Отправляя форму вы подтверждаете согласие с
политикой обработки персональных данных
.
Отправить
Оставьте это поле пустым