Каталог запчастей
Запчасти Камаз
Запчасти Урал
Спецпредложения
О компании
Контакты
7 (3513) 289-777
Отправить готовую заявку
Группа компаний A-GROUP
Каталог
Запчасти УРАЛ
Запчасти КАМАЗ
Двигатель
Система питания
Система выпуска газов
Система охлаждения
Механизмы управления
Рулевое управление
Тормозная система
Кабина и кузов
Кабина
Оперение кабины
Платформа и кузов
Трансмиссия
Коробка передач
Коробка раздаточная
Сцепление
Карданная передача
Мосты
Ходовая часть
Колеса и ступицы
Ось передняя
Подвеска
Рама
Электрооборудование
Приборы
Специальное оборудование
Устройство седельно-сцепное
Лебедка
Газовое оборудование
Прочие запчасти
Инструмент и принадлежности
Рукава и РТИ
Крепеж
Подшипники
Запчасти двигателя
Система выпуска газов
Система охлаждения
Система питания
Кабина и оперение
Передок кабины
Оперение кабины
Боковина кабины
Двери кабины
Задок кабины
Основание кабины
Крыша кабины
Сиденья кабины
Вентиляция и отопление кабины
Трансмиссия
Коробка передач
Раздаточная коробка
Карданный вал
Сцепление
Передний мост
Средний мост
Задний мост
Ходовая часть
Рама
Подвеска балансирная
Колеса и ступицы
Механизмы управления
Рулевое управление
Тормозная система
Платформа
Электрооборудование
Приборы
Оборудование и инструменты
Коробка отбора мощности
Лебедка
Устройство седельно-сцепное
Инструменты
Поиск
Графические каталоги
0
Группа компаний A-GROUP
Поиск
0
+7 (3513) 289-777
Обратный звонок
Отправить готовую заявку
Группа компаний A-GROUP
0
Меню
Поиск
Каталог запчастей
Запчасти Камаз
Запчасти Урал
Спецпредложения
О компании
Контакты
Главная
Графические каталоги
КамАЗ
КамАЗ-43501 (4х4)
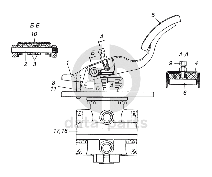
5320-3514108 Кран тормозной двухсекционный с педалью в сборе
5320-3514108
1
2
3
4
5
6
8
9
10
11
17
18
100
%
1
5320-3514108
Кран тормозной двухсекционный с педалью в сборе
Кол-во
0
?
Узнать цену
5320-3514108
Кран КАМАЗ-ЕВРО тормозной 2-х секционный в сборе с педалью
ПАО КАМАЗ
под заказ
21 290.56 ₽
В корзину
1
5320-3514012
Педаль
Кол-во
1
?
Узнать цену
5320-3514012
Педаль тормоза КАМАЗ-ЕВРО
ПАО КАМАЗ
под заказ
340.92 ₽
В корзину
1
5320-3514012
Педаль
Кол-во
0
?
Узнать цену
5320-3514012
Педаль тормоза КАМАЗ-ЕВРО
ПАО КАМАЗ
под заказ
340.92 ₽
В корзину
2
5320-3514176
Ось
Кол-во
1
?
Оставить заявку
2
5320-3514176
Ось
Кол-во
0
?
Оставить заявку
3
5320-3514188
Элемент нажимной
Кол-во
2
?
Оставить заявку
3
5320-3514188
Элемент нажимной
Кол-во
0
?
Оставить заявку
4
5320-3514190
Вставка
Кол-во
0
?
Узнать цену
5320-3514190
Вставка
ПАО КАМАЗ
под заказ
25.73 ₽
В корзину
4
5320-3514190
Вставка
Кол-во
1
?
Узнать цену
5320-3514190
Вставка
ПАО КАМАЗ
под заказ
25.73 ₽
В корзину
5
5320-1602048
Накладка площадки педали сцепления
Кол-во
0
?
Оставить заявку
5
5320-1602048
Накладка площадки педали сцепления
Кол-во
1
?
Оставить заявку
6
5320-3514192
Ролик
Кол-во
1
?
Узнать цену
5320-3514192
Ролик
ПАО КАМАЗ
под заказ
71.47 ₽
В корзину
6
5320-3514192
Ролик
Кол-во
0
?
Узнать цену
5320-3514192
Ролик
ПАО КАМАЗ
под заказ
71.47 ₽
В корзину
8
853062
Болт М8-6gх45
Кол-во
0
?
Оставить заявку
8
853062
Болт М8-6gх45
Кол-во
1
?
Оставить заявку
9
1/60436/21
Болт М8-6gх25
Кол-во
0
?
Оставить заявку
9
1/60436/21
Болт М8-6gх25
Кол-во
1
?
Оставить заявку
10
1/26386/01
Шайба плоская 10,6х18х2
Кол-во
2
?
Оставить заявку
10
1/26386/01
Шайба плоская 10,6х18х2
Кол-во
0
?
Оставить заявку
11
1/61001/11
Гайка М8-6Н
Кол-во
1
?
Оставить заявку
11
1/61001/11
Гайка М8-6Н
Кол-во
0
?
Оставить заявку
17
100-3514108-10
Кран тормозной двухсекционный с педалью
Кол-во
1
?
Оставить заявку
17
100-3514108-10
Кран тормозной двухсекционный с педалью
Кол-во
0
?
Оставить заявку
18
8648-3514108-10
Кран тормозной двухсекционный
Кол-во
1
?
Оставить заявку
18
8648-3514108-10
Кран тормозной двухсекционный
Кол-во
0
?
Оставить заявку
Нужна помощь в подборе запчастей?
Напишите нам и оставьте ваши контактные данные. Мы перезвоним вам в течение 30 минут или раньше!
Кратвольд Елена
Менеджер по продажам
7 (3513) 289-777
koleso787@bk.ru
Вы должны включить JavaScript чтобы использовать эту форму.
Ваш вопрос
Email
Телефон
Отправляя форму вы подтверждаете согласие с
политикой обработки персональных данных
.
Отправить
Оставьте это поле пустым