Каталог запчастей
Запчасти Камаз
Запчасти Урал
Спецпредложения
О компании
Контакты
+7 (3513) 289-777
Отправить готовую заявку
Группа компаний A-GROUP
Каталог
Запчасти УРАЛ
Запчасти КАМАЗ
Двигатель
Система питания
Система выпуска газов
Система охлаждения
Механизмы управления
Рулевое управление
Тормозная система
Кабина и кузов
Кабина
Оперение кабины
Платформа и кузов
Трансмиссия
Коробка передач
Коробка раздаточная
Сцепление
Карданная передача
Мосты
Ходовая часть
Колеса и ступицы
Ось передняя
Подвеска
Рама
Электрооборудование
Приборы
Специальное оборудование
Устройство седельно-сцепное
Лебедка
Газовое оборудование
Прочие запчасти
Инструмент и принадлежности
Рукава и РТИ
Крепеж
Подшипники
Запчасти двигателя
Система выпуска газов
Система охлаждения
Система питания
Кабина и оперение
Передок кабины
Оперение кабины
Боковина кабины
Двери кабины
Задок кабины
Основание кабины
Крыша кабины
Сиденья кабины
Вентиляция и отопление кабины
Трансмиссия
Коробка передач
Раздаточная коробка
Карданный вал
Сцепление
Передний мост
Средний мост
Задний мост
Ходовая часть
Рама
Подвеска балансирная
Колеса и ступицы
Механизмы управления
Рулевое управление
Тормозная система
Платформа
Электрооборудование
Приборы
Оборудование и инструменты
Коробка отбора мощности
Лебедка
Устройство седельно-сцепное
Инструменты
Поиск
Графические каталоги
0
Группа компаний A-GROUP
Поиск
0
+7 (3513) 289-777
Обратный звонок
Отправить готовую заявку
Группа компаний A-GROUP
0
Меню
Поиск
Каталог запчастей
Запчасти Камаз
Запчасти Урал
Спецпредложения
О компании
Контакты
Главная
Графические каталоги
КамАЗ
КамАЗ-43501 (4х4)
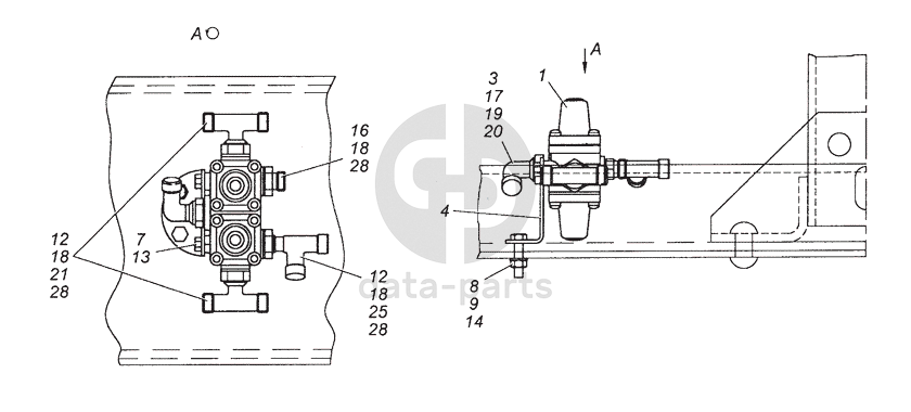
6350-3500015 Установка четырехконтурного защитного клапана
6350-3500015 Установка четырехконтурного защитного клапана КамАЗ-43501 (4х4)
1
3
4
7
8
9
12
12
13
14
16
17
18
18
18
19
20
21
25
28
28
28
100
%
1
53205-3515400-10
Клапан защитный четырехконтурный в сборе
Кол-во
1
?
Оставить заявку
3
740-1003439
Кольцо уплотнительное
Кол-во
1
?
Оставить заявку
4
5320-3515219-10
Кронштейн
Кол-во
1
?
Узнать цену
5320-3515219-10
Кронштейн
ПАО КАМАЗ
под заказ
177 ₽
В корзину
7
1/60432/21
Болт М8-6gх16
Кол-во
2
?
Оставить заявку
8
1/13070/21
Болт М10х1,25-6gх40
Кол-во
2
?
Оставить заявку
9
1/21647/11
Гайка М10х1,25-6Н
Кол-во
2
?
Оставить заявку
12
1/07914/11
Гайка низкая М16х1,5-6Н
Кол-во
3
?
Оставить заявку
13
1/05166/77
Шайба 8 пружинная
Кол-во
2
?
Оставить заявку
14
1/05168/77
Шайба 10 пружинная
Кол-во
2
?
Оставить заявку
16
853976
Штуцер ввертный
Кол-во
1
?
Узнать цену
853976
Штуцер
ПАО КАМАЗ
под заказ
157 ₽
В корзину
17
861021
Гайка М22х1,5-6Н
Кол-во
1
?
Узнать цену
861021
Гайка М22х1.5 клапана контрольного крана тормозного
ПАО КАМАЗ
В наличии 97 шт.
135 ₽
В корзину
18
861023
Шайба
Кол-во
4
?
Узнать цену
861023
Шайба
ПАО КАМАЗ
под заказ
15 ₽
В корзину
19
861024
Шайба
Кол-во
1
?
Узнать цену
861024
Шайба
ПАО КАМАЗ
В наличии 100 шт.
15 ₽
В корзину
20
861007
Угольник
Кол-во
1
?
Узнать цену
861007
Угольник КАМАЗ М22х18 ГТК Н/О
ПАО КАМАЗ
под заказ
742 ₽
В корзину
21
861035
Тройник
Кол-во
2
?
Узнать цену
861035
Тройник
ПАО КАМАЗ
под заказ
761 ₽
В корзину
25
861349
Тройник
Кол-во
1
?
Узнать цену
861349
Тройник
ПАО КАМАЗ
В наличии 4 шт.
521 ₽
В корзину
28
864236
Кольцо уплотнительное
Кол-во
4
?
Оставить заявку
Нужна помощь в подборе запчастей?
Напишите нам и оставьте ваши контактные данные. Мы перезвоним вам в течение 30 минут или раньше!
Кратвольд Елена
Менеджер по продажам
7 (3513) 289-777
koleso787@bk.ru
Вы должны включить JavaScript чтобы использовать эту форму.
Ваш вопрос
Email
Телефон
Отправляя форму вы подтверждаете согласие с
политикой обработки персональных данных
.
Отправить
Оставьте это поле пустым