Каталог запчастей
Запчасти Камаз
Запчасти Урал
Спецпредложения
О компании
Контакты
+7 (3513) 289-777
Отправить готовую заявку
Группа компаний A-GROUP
Каталог
Запчасти УРАЛ
Запчасти КАМАЗ
Двигатель
Система питания
Система выпуска газов
Система охлаждения
Механизмы управления
Рулевое управление
Тормозная система
Кабина и кузов
Кабина
Оперение кабины
Платформа и кузов
Трансмиссия
Коробка передач
Коробка раздаточная
Сцепление
Карданная передача
Мосты
Ходовая часть
Колеса и ступицы
Ось передняя
Подвеска
Рама
Электрооборудование
Приборы
Специальное оборудование
Устройство седельно-сцепное
Лебедка
Газовое оборудование
Прочие запчасти
Инструмент и принадлежности
Рукава и РТИ
Крепеж
Подшипники
Запчасти двигателя
Система выпуска газов
Система охлаждения
Система питания
Кабина и оперение
Передок кабины
Оперение кабины
Боковина кабины
Двери кабины
Задок кабины
Основание кабины
Крыша кабины
Сиденья кабины
Вентиляция и отопление кабины
Трансмиссия
Коробка передач
Раздаточная коробка
Карданный вал
Сцепление
Передний мост
Средний мост
Задний мост
Ходовая часть
Рама
Подвеска балансирная
Колеса и ступицы
Механизмы управления
Рулевое управление
Тормозная система
Платформа
Электрооборудование
Приборы
Оборудование и инструменты
Коробка отбора мощности
Лебедка
Устройство седельно-сцепное
Инструменты
Поиск
Графические каталоги
0
Группа компаний A-GROUP
Поиск
0
+7 (3513) 289-777
Обратный звонок
Отправить готовую заявку
Группа компаний A-GROUP
0
Меню
Поиск
Каталог запчастей
Запчасти Камаз
Запчасти Урал
Спецпредложения
О компании
Контакты
Главная
Графические каталоги
КамАЗ
КамАЗ-43501 (4х4)
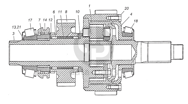
65111-1802150 Дифференциал раздаточной коробки в сборе
65111-1802150 Дифференциал раздаточной коробки в сборе КамАЗ-43501 (4х4)
1
3
4
6
7
8
10
11
12
13
14
17
18
20
21
100
%
1
65111-1802144
Шестерня привода заднего моста (сварка)
Кол-во
1
?
Узнать цену
65111-1802144
Шестерня КР КАМАЗ привода заднего моста
ПАО КАМАЗ
под заказ
19 149 ₽
В корзину
3
65111-1802155
Обойма дифференциала раздаточной коробки с сателлитами в сборе
Кол-во
1
?
Оставить заявку
4
65111-1802168
Ступица шестерни низшей передачи с втулкой в сборе
Кол-во
1
?
Узнать цену
65111-1802168
Ступица КАМАЗ шестерни раздаточной коробки
ПАО КАМАЗ
В наличии 1 шт.
4 949 ₽
В корзину
6
14.1701285
Ролик 5,5х15,8
Кол-во
98
?
Оставить заявку
7
4310-1802167
Втулка шлицевая
Кол-во
1
?
Узнать цену
4310-1802167
Втулка КАМАЗ-4310 шлицевая дифференциала раздаточной коробки
ПАО КАМАЗ
В наличии 1 шт.
4 888 ₽
В корзину
8
65111-1802180
Шестерня высшей передачи привода заднего моста
Кол-во
1
?
Узнать цену
65111-1802180
Шестерня КР КАМАЗ-4310 высшей передачи привода заднего моста
ПАО КАМАЗ
В наличии 1 шт.
19 038 ₽
В корзину
10
4310-1802343
Шайба опорная шестерни высшей передачи привода дифференциала
Кол-во
1
?
Узнать цену
4310-1802343
Шайба КАМАЗ опорная привода раздаточной коробки
ПАО КАМАЗ
под заказ
1 496 ₽
В корзину
11
65111-1802448
Кольцо распорное роликовых подшипников шестерни высшей передачи
Кол-во
1
?
Узнать цену
65111-1802448
Втулка КАМАЗ распорная шестерни высшей передачи раздаточной коробки
ПАО КАМАЗ
под заказ
1 423 ₽
В корзину
12
4310-1802451
Кольцо переднее
Кол-во
1
?
Узнать цену
4310-1802451
Кольцо КАМАЗ-4310 дифференциала коробки раздаточной переднее
ПАО КАМАЗ
под заказ
461 ₽
В корзину
13
65111-1802501
Кольцо стопорное А75
Кол-во
1
?
Оставить заявку
14
4310-1803018
Каретка включения первой передачи
Кол-во
1
?
Узнать цену
4310-1803018
Каретка
ПАО КАМАЗ
В наличии 5 шт.
3 627 ₽
В корзину
17
45104953080202
Кольцо внутреннее с сепаратором и роликами подшипника 7315А
Кол-во
0
?
Оставить заявку
18
45104953080402
Кольцо внутреннее с сепаратором и роликами подшипника 7218А
Кол-во
0
?
Оставить заявку
20
2101-1005127
Болт М10х1,25-6gх23,5
Кол-во
12
?
Оставить заявку
21
4799765008
Кольцо упорное наружное КУН-75
Кол-во
1
?
Оставить заявку
Нужна помощь в подборе запчастей?
Напишите нам и оставьте ваши контактные данные. Мы перезвоним вам в течение 30 минут или раньше!
Кратвольд Елена
Менеджер по продажам
7 (3513) 289-777
koleso787@bk.ru
Вы должны включить JavaScript чтобы использовать эту форму.
Ваш вопрос
Email
Телефон
Отправляя форму вы подтверждаете согласие с
политикой обработки персональных данных
.
Отправить
Оставьте это поле пустым