Каталог запчастей
Запчасти Камаз
Запчасти Урал
Спецпредложения
О компании
Контакты
+7 (3513) 289-777
Отправить готовую заявку
Группа компаний A-GROUP
Каталог
Запчасти УРАЛ
Запчасти КАМАЗ
Двигатель
Система питания
Система выпуска газов
Система охлаждения
Механизмы управления
Рулевое управление
Тормозная система
Кабина и кузов
Кабина
Оперение кабины
Платформа и кузов
Трансмиссия
Коробка передач
Коробка раздаточная
Сцепление
Карданная передача
Мосты
Ходовая часть
Колеса и ступицы
Ось передняя
Подвеска
Рама
Электрооборудование
Приборы
Специальное оборудование
Устройство седельно-сцепное
Лебедка
Газовое оборудование
Прочие запчасти
Инструмент и принадлежности
Рукава и РТИ
Крепеж
Подшипники
Запчасти двигателя
Система выпуска газов
Система охлаждения
Система питания
Кабина и оперение
Передок кабины
Оперение кабины
Боковина кабины
Двери кабины
Задок кабины
Основание кабины
Крыша кабины
Сиденья кабины
Вентиляция и отопление кабины
Трансмиссия
Коробка передач
Раздаточная коробка
Карданный вал
Сцепление
Передний мост
Средний мост
Задний мост
Ходовая часть
Рама
Подвеска балансирная
Колеса и ступицы
Механизмы управления
Рулевое управление
Тормозная система
Платформа
Электрооборудование
Приборы
Оборудование и инструменты
Коробка отбора мощности
Лебедка
Устройство седельно-сцепное
Инструменты
Поиск
Графические каталоги
0
Группа компаний A-GROUP
Поиск
0
+7 (3513) 289-777
Обратный звонок
Отправить готовую заявку
Группа компаний A-GROUP
0
Меню
Поиск
Каталог запчастей
Запчасти Камаз
Запчасти Урал
Спецпредложения
О компании
Контакты
Главная
Графические каталоги
КамАЗ
КамАЗ-43501 (4х4)
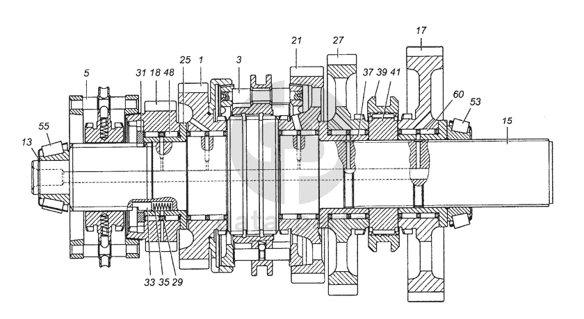
154.1701100 Вал вторичный коробки передач в сборе
154.1701100 Вал вторичный коробки передач в сборе КамАЗ-43501 (4х4)
1
3
5
13
15
17
18
21
25
27
29
31
33
35
37
39
41
48
53
55
60
100
%
1
154.1701130
Шестерня третьей передачи вторичного вала
Кол-во
1
?
Оставить заявку
3
154.1701150
Синхронизатор второй и третьей передач
Кол-во
1
?
Узнать цену
154.1701150
Синхронизатор КАМАЗ 2-3 передачи КПП-154
ПАО КАМАЗ
В наличии 4 шт.
21 390 ₽
В корзину
5
154.1701151
Синхронизатор четвертой и пятой передач
Кол-во
1
?
Узнать цену
154.1701151
Синхронизатор КАМАЗ 4-5 передачи КПП-154
ПАО КАМАЗ
В наличии 12 шт.
18 245 ₽
В корзину
13
740.1318066
Кольцо упорное
Кол-во
1
?
Оставить заявку
15
154.1701105
Вал вторичный коробки передач
Кол-во
1
?
Узнать цену
154.1701105
Вал КПП КАМАЗ вторичный КПП-154
ПАО КАМАЗ
В наличии 1 шт.
39 476 ₽
В корзину
17
154.1701112
Шестерня первой передачи
Кол-во
1
?
Узнать цену
154.1701112
Шестерня 1 передачи
ПАО КАМАЗ
под заказ
12 047 ₽
В корзину
18
154.1701115
Шестерня четвертой передачи вторичного вала
Кол-во
1
?
Узнать цену
154.1701115
Шестерня КПП КАМАЗ 4-й передачи вала вторичного КПП-154
ПАО КАМАЗ
под заказ
7 929 ₽
В корзину
21
154.1701127
Шестерня второй передачи вторичного вала
Кол-во
1
?
Узнать цену
154.1701127
Шестерня КПП КАМАЗ 2-й передачи вала вторичного КПП-154
ПАО КАМАЗ
В наличии 1 шт.
13 674 ₽
В корзину
25
154.1701139
Втулка шестерни четвертой передачи
Кол-во
1
?
Узнать цену
154.1701139
Втулка КАМАЗ шестерни 4-ой передачи вала вторичного КПП-154
ПАО КАМАЗ
В наличии 2 шт.
3 805 ₽
В корзину
27
154.1701140
Шестерня заднего хода
Кол-во
1
?
Узнать цену
154.1701140
Шестерня заднего хода
ПАО КАМАЗ
под заказ
10 655 ₽
В корзину
29
154.1701143
Втулка промежуточная роликов шестерни четвертой передачи
Кол-во
1
?
Узнать цену
154.1701143
Втулка КАМАЗ промежуточная роликов шестерни 4-й передачи
ПАО КАМАЗ
под заказ
800 ₽
В корзину
31
154.1701144
Шайба упорная шестерни четвертой передачи вторичного вала
Кол-во
1
?
Узнать цену
154.1701144
Шайба КАМАЗ упорная шестерни 4-й передачи вала вторичного КПП-154
ПАО КАМАЗ
В наличии 3 шт.
885 ₽
В корзину
33
14.1701145
Шпонка замковая упорной шайбы
Кол-во
1
?
Узнать цену
14.1701145
Шпонка
ПАО КАМАЗ
под заказ
85 ₽
В корзину
35
14.1701146
Пружина замковой шпонки
Кол-во
1
?
Оставить заявку
37
154.1701278
Втулка шестерни заднего хода вторичного вала
Кол-во
1
?
Узнать цену
154.1701278
Втулка КАМАЗ шестерни заднего хода КПП-154
ПАО КАМАЗ
В наличии 4 шт.
2 060 ₽
В корзину
39
14.1701280
Муфта включения первой передачи заднего хода
Кол-во
1
?
Оставить заявку
41
154.1701282
Втулка муфты
Кол-во
1
?
Узнать цену
154.1701282
Втулка КАМАЗ муфты шестерни 1-й передачи вала вторичного КПП-154
ПАО КАМАЗ
В наличии 3 шт.
4 813 ₽
В корзину
48
4693110292
Ролик 5,5x15,8 Д Ш ГОСТ 25255-82
Кол-во
98
?
Оставить заявку
53
6-7214АУ
Подшипник роликовый конический однорядный ГОСТ 520-89
Кол-во
1
?
Оставить заявку
55
7607А
Кольцо внутреннее с сепаратором и роликами подшипника
Кол-во
1
?
Оставить заявку
60
4625832408
Подшипник 664916Д роликовый радиальный с длинными цилиндрическими роликами двухрядный без колец
Кол-во
4
?
Оставить заявку
Нужна помощь в подборе запчастей?
Напишите нам и оставьте ваши контактные данные. Мы перезвоним вам в течение 30 минут или раньше!
Кратвольд Елена
Менеджер по продажам
7 (3513) 289-777
koleso787@bk.ru
Вы должны включить JavaScript чтобы использовать эту форму.
Ваш вопрос
Email
Телефон
Отправляя форму вы подтверждаете согласие с
политикой обработки персональных данных
.
Отправить
Оставьте это поле пустым