Каталог запчастей
Запчасти Камаз
Запчасти Урал
Спецпредложения
О компании
Контакты
7 (3513) 289-777
Отправить готовую заявку
Группа компаний A-GROUP
Каталог
Запчасти УРАЛ
Запчасти КАМАЗ
Двигатель
Система питания
Система выпуска газов
Система охлаждения
Механизмы управления
Рулевое управление
Тормозная система
Кабина и кузов
Кабина
Оперение кабины
Платформа и кузов
Трансмиссия
Коробка передач
Коробка раздаточная
Сцепление
Карданная передача
Мосты
Ходовая часть
Колеса и ступицы
Ось передняя
Подвеска
Рама
Электрооборудование
Приборы
Специальное оборудование
Устройство седельно-сцепное
Лебедка
Газовое оборудование
Прочие запчасти
Инструмент и принадлежности
Рукава и РТИ
Крепеж
Подшипники
Запчасти двигателя
Система выпуска газов
Система охлаждения
Система питания
Кабина и оперение
Передок кабины
Оперение кабины
Боковина кабины
Двери кабины
Задок кабины
Основание кабины
Крыша кабины
Сиденья кабины
Вентиляция и отопление кабины
Трансмиссия
Коробка передач
Раздаточная коробка
Карданный вал
Сцепление
Передний мост
Средний мост
Задний мост
Ходовая часть
Рама
Подвеска балансирная
Колеса и ступицы
Механизмы управления
Рулевое управление
Тормозная система
Платформа
Электрооборудование
Приборы
Оборудование и инструменты
Коробка отбора мощности
Лебедка
Устройство седельно-сцепное
Инструменты
Поиск
Графические каталоги
0
Группа компаний A-GROUP
Поиск
0
+7 (3513) 289-777
Обратный звонок
Отправить готовую заявку
Группа компаний A-GROUP
0
Меню
Поиск
Каталог запчастей
Запчасти Камаз
Запчасти Урал
Спецпредложения
О компании
Контакты
Главная
Графические каталоги
КамАЗ
КамАЗ-4350 (4х4)
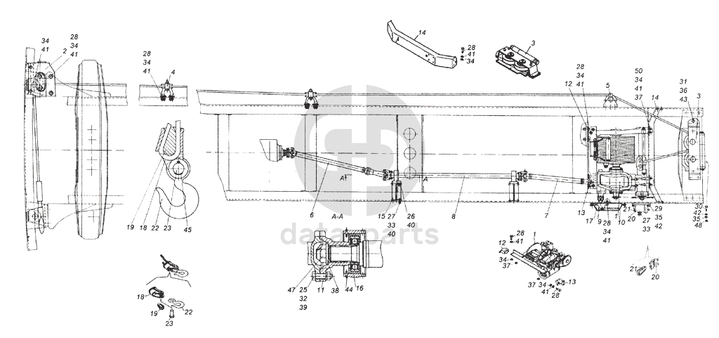
4326-4500010 Установка лебедки
1
1
2
3
3
4
5
6
7
8
9
10
11
12
12
13
13
14
14
15
16
17
18
18
19
19
20
20
21
21
22
22
23
23
25
26
27
27
28
28
28
28
28
28
28
29
30
31
32
33
33
34
34
34
34
34
34
34
34
34
35
35
36
37
37
37
38
39
40
40
41
41
41
41
41
41
41
41
41
42
42
43
44
45
47
48
50
100
%
1
4326-4501010
Лебедка с редуктором, поперечиной и тросоукладчиком
Кол-во
1
?
Оставить заявку
1
4326-4501010
Лебедка с редуктором, поперечиной и тросоукладчиком
Кол-во
0
?
Оставить заявку
2
4310-4501248
Ролики троса лебедки в сборе
Кол-во
1
?
Оставить заявку
2
4310-4501248
Ролики троса лебедки в сборе
Кол-во
0
?
Оставить заявку
3
4310-4501280
Ролики направляющие троса лебедки в сборе
Кол-во
1
?
Оставить заявку
3
4310-4501280
Ролики направляющие троса лебедки в сборе
Кол-во
0
?
Оставить заявку
4
4310-4501294
Ролик опорный троса в сборе
Кол-во
1
?
Оставить заявку
4
4310-4501294
Ролик опорный троса в сборе
Кол-во
0
?
Оставить заявку
5
4310-4501344
Ролик опорный в сборе
Кол-во
1
?
Оставить заявку
5
4310-4501344
Ролик опорный в сборе
Кол-во
0
?
Оставить заявку
6
4326-4502010
Вал карданный передний в сборе
Кол-во
1
?
Узнать цену
4326-4502010
Вал карданный КАМАЗ привода лебедки
ПАО КАМАЗ
под заказ
19 775.96 ₽
В корзину
6
4326-4502010
Вал карданный передний в сборе
Кол-во
0
?
Узнать цену
4326-4502010
Вал карданный КАМАЗ привода лебедки
ПАО КАМАЗ
под заказ
19 775.96 ₽
В корзину
7
4326-4502110
Вал карданный лебедки задний
Кол-во
0
?
Узнать цену
4326-4502110
Вал карданный КАМАЗ лебедки задний в сборе
ПАО КАМАЗ
под заказ
15 618.68 ₽
В корзину
7
4326-4502110
Вал карданный лебедки задний
Кол-во
1
?
Узнать цену
4326-4502110
Вал карданный КАМАЗ лебедки задний в сборе
ПАО КАМАЗ
под заказ
15 618.68 ₽
В корзину
8
4326-4502210-01
Вал карданный промежуточный лебедки
Кол-во
0
?
Узнать цену
4326-4502210-01
Вал карданный КАМАЗ промежуточный привода лебедки в сборе
ПАО КАМАЗ
под заказ
20 942.76 ₽
В корзину
8
4326-4502210-01
Вал карданный промежуточный лебедки
Кол-во
1
?
Узнать цену
4326-4502210-01
Вал карданный КАМАЗ промежуточный привода лебедки в сборе
ПАО КАМАЗ
под заказ
20 942.76 ₽
В корзину
9
4310-4503100
Рычаг включения лебедки в сборе
Кол-во
0
?
Узнать цену
4310-4503100
Рычаг
ПАО КАМАЗ
под заказ
3 271.46 ₽
В корзину
9
4310-4503100
Рычаг включения лебедки в сборе
Кол-во
1
?
Узнать цену
4310-4503100
Рычаг
ПАО КАМАЗ
под заказ
3 271.46 ₽
В корзину
10
4310-4503108
Крышка защитная рычага включения редуктора лебедки с основанием и осью в сборе
Кол-во
0
?
Узнать цену
4310-4503108
Крышка
ПАО КАМАЗ
под заказ
1 297.74 ₽
В корзину
10
4310-4503108
Крышка защитная рычага включения редуктора лебедки с основанием и осью в сборе
Кол-во
1
?
Узнать цену
4310-4503108
Крышка
ПАО КАМАЗ
под заказ
1 297.74 ₽
В корзину
11
4310-4204074-10
Фланец промежуточного карданного вала лебедки
Кол-во
1
?
Узнать цену
4310-4204074-10
Фланец
ПАО КАМАЗ
под заказ
2 160.44 ₽
В корзину
11
4310-4204074-10
Фланец промежуточного карданного вала лебедки
Кол-во
0
?
Узнать цену
4310-4204074-10
Фланец
ПАО КАМАЗ
под заказ
2 160.44 ₽
В корзину
12
4326-4501206
Кронштейн
Кол-во
0
?
Оставить заявку
12
4326-4501206
Кронштейн
Кол-во
1
?
Оставить заявку
13
4326-4501207
Кронштейн передней поперечины левый
Кол-во
1
?
Оставить заявку
13
4326-4501207
Кронштейн передней поперечины левый
Кол-во
0
?
Оставить заявку
14
4310-4501214
Поперечина
Кол-во
1
?
Узнать цену
4310-4501214
Поперечина КАМАЗ крепления лебедки
ПАО КАМАЗ
под заказ
4 927.29 ₽
В корзину
14
4310-4501214
Поперечина
Кол-во
0
?
Узнать цену
4310-4501214
Поперечина КАМАЗ крепления лебедки
ПАО КАМАЗ
под заказ
4 927.29 ₽
В корзину
15
4326-4502216
Кронштейн
Кол-во
2
?
Узнать цену
4326-4502216
Кронштейн
ПАО КАМАЗ
под заказ
5 709.92 ₽
В корзину
15
4326-4502216
Кронштейн
Кол-во
0
?
Узнать цену
4326-4502216
Кронштейн
ПАО КАМАЗ
под заказ
5 709.92 ₽
В корзину
16
4310-4502217
Кронштейн
Кол-во
0
?
Узнать цену
4310-4502217
Кронштейн
ПАО КАМАЗ
под заказ
1 382.20 ₽
В корзину
16
4310-4502217
Кронштейн
Кол-во
1
?
Узнать цену
4310-4502217
Кронштейн
ПАО КАМАЗ
под заказ
1 382.20 ₽
В корзину
17
4310-4503185
Муфта защитная штока вилки включения редуктора лебедки
Кол-во
1
?
Оставить заявку
17
4310-4503185
Муфта защитная штока вилки включения редуктора лебедки
Кол-во
0
?
Оставить заявку
18
4310-4504020
Коуш
Кол-во
0
?
Узнать цену
4310-4504020
Коуш
ПАО КАМАЗ
под заказ
2 890.92 ₽
В корзину
18
4310-4504020
Коуш
Кол-во
1
?
Узнать цену
4310-4504020
Коуш
ПАО КАМАЗ
под заказ
2 890.92 ₽
В корзину
19
4310-4504022
Клин
Кол-во
1
?
Узнать цену
4310-4504022
Клин
ПАО КАМАЗ
под заказ
484.56 ₽
В корзину
19
4310-4504022
Клин
Кол-во
0
?
Узнать цену
4310-4504022
Клин
ПАО КАМАЗ
под заказ
484.56 ₽
В корзину
20
4310-4504025
Кронштейн
Кол-во
0
?
Узнать цену
4310-4504025
Кронштейн
ПАО КАМАЗ
под заказ
4 067.49 ₽
В корзину
20
4310-4504025
Кронштейн
Кол-во
1
?
Узнать цену
4310-4504025
Кронштейн
ПАО КАМАЗ
под заказ
4 067.49 ₽
В корзину
21
4310-4504026
Клин
Кол-во
1
?
Узнать цену
4310-4504026
Клин кронштейна
ПАО КАМАЗ
под заказ
2 883.51 ₽
В корзину
21
4310-4504026
Клин
Кол-во
0
?
Узнать цену
4310-4504026
Клин кронштейна
ПАО КАМАЗ
под заказ
2 883.51 ₽
В корзину
22
4310-4504035
Крюк
Кол-во
0
?
Узнать цену
4310-4504035
Крюк КАМАЗ лебедки
ПАО КАМАЗ
под заказ
1 952.57 ₽
В корзину
22
4310-4504035
Крюк
Кол-во
1
?
Узнать цену
4310-4504035
Крюк КАМАЗ лебедки
ПАО КАМАЗ
под заказ
1 952.57 ₽
В корзину
23
4310-4504037
Палец
Кол-во
0
?
Узнать цену
4310-4504037
Палец
ПАО КАМАЗ
под заказ
644.26 ₽
В корзину
23
4310-4504037
Палец
Кол-во
1
?
Узнать цену
4310-4504037
Палец
ПАО КАМАЗ
под заказ
644.26 ₽
В корзину
25
1/60438/21
Болт М8-6gх30
Кол-во
16
?
Оставить заявку
25
1/60438/21
Болт М8-6gх30
Кол-во
0
?
Оставить заявку
26
1/13069/21
Болт М10х1,25-6gх30
Кол-во
4
?
Оставить заявку
26
1/13069/21
Болт М10х1,25-6gх30
Кол-во
0
?
Оставить заявку
27
1/59709/21
Болт М10х1,25-6gх35
Кол-во
0
?
Оставить заявку
27
1/59709/21
Болт М10х1,25-6gх35
Кол-во
9
?
Оставить заявку
28
1/55405/21
Болт М12х1,25-6gх35
Кол-во
0
?
Оставить заявку
28
1/55405/21
Болт М12х1,25-6gх35
Кол-во
35
?
Оставить заявку
29
1/13905/21
Болт М16х1,25-6gх40
Кол-во
0
?
Оставить заявку
29
1/13905/21
Болт М16х1,25-6gх40
Кол-во
4
?
Оставить заявку
30
1/13915/21
Болт М16х1,5-6gх45
Кол-во
0
?
Оставить заявку
30
1/13915/21
Болт М16х1,5-6gх45
Кол-во
3
?
Оставить заявку
31
1/59844/21
Болт М18х1,5-6gх55
Кол-во
5
?
Оставить заявку
31
1/59844/21
Болт М18х1,5-6gх55
Кол-во
0
?
Оставить заявку
32
1/61008/11
Гайка М8х1,25-6Н
Кол-во
0
?
Оставить заявку
32
1/61008/11
Гайка М8х1,25-6Н
Кол-во
12
?
Оставить заявку
33
1/21647/21
Гайка М10х1,25-6Н
Кол-во
9
?
Оставить заявку
33
1/21647/21
Гайка М10х1,25-6Н
Кол-во
0
?
Оставить заявку
34
1/61015/11
Гайка М12х1,25-6Н
Кол-во
39
?
Оставить заявку
34
1/61015/11
Гайка М12х1,25-6Н
Кол-во
0
?
Оставить заявку
35
1/21641/21
Гайка М16х1,5-6Н
Кол-во
7
?
Оставить заявку
35
1/21641/21
Гайка М16х1,5-6Н
Кол-во
0
?
Оставить заявку
36
1/21642/11
Гайка
Кол-во
5
?
Оставить заявку
36
1/21642/11
Гайка
Кол-во
0
?
Оставить заявку
37
1/05200/01
Шайба плоская 12х22х3
Кол-во
10
?
Оставить заявку
37
1/05200/01
Шайба плоская 12х22х3
Кол-во
0
?
Оставить заявку
38
1/05204/01
Шайба плоская 21х35х4
Кол-во
0
?
Оставить заявку
38
1/05204/01
Шайба плоская 21х35х4
Кол-во
1
?
Оставить заявку
39
1/05166/77
Шайба 8 пружинная
Кол-во
0
?
Оставить заявку
39
1/05166/77
Шайба 8 пружинная
Кол-во
16
?
Оставить заявку
40
1/05168/77
Шайба 10 пружинная
Кол-во
12
?
Оставить заявку
40
1/05168/77
Шайба 10 пружинная
Кол-во
0
?
Оставить заявку
41
1/05170/77
Шайба 12 пружинная
Кол-во
41
?
Оставить заявку
41
1/05170/77
Шайба 12 пружинная
Кол-во
0
?
Оставить заявку
42
1/05172/77
Шайба 16 пружинная
Кол-во
0
?
Оставить заявку
42
1/05172/77
Шайба 16 пружинная
Кол-во
7
?
Оставить заявку
43
1/05173/77
Шайба пружинная
Кол-во
5
?
Оставить заявку
43
1/05173/77
Шайба пружинная
Кол-во
0
?
Оставить заявку
44
1/07964/01
Шплинт разводной 3х20
Кол-во
0
?
Оставить заявку
44
1/07964/01
Шплинт разводной 3х20
Кол-во
2
?
Оставить заявку
45
1/07985/01
Шплинт 5,7х50
Кол-во
0
?
Оставить заявку
45
1/07985/01
Шплинт 5,7х50
Кол-во
1
?
Оставить заявку
47
853503
Гайка фланца
Кол-во
0
?
Оставить заявку
47
853503
Гайка фланца
Кол-во
1
?
Оставить заявку
48
853614
Шайба плоская 16,4х35х8
Кол-во
0
?
Оставить заявку
48
853614
Шайба плоская 16,4х35х8
Кол-во
2
?
Оставить заявку
50
1/35301/21
Шпилька М12х1,25х18х30
Кол-во
4
?
Оставить заявку
50
1/35301/21
Шпилька М12х1,25х18х30
Кол-во
0
?
Оставить заявку
Нужна помощь в подборе запчастей?
Напишите нам и оставьте ваши контактные данные. Мы перезвоним вам в течение 30 минут или раньше!
Кратвольд Елена
Менеджер по продажам
7 (3513) 289-777
koleso787@bk.ru
Вы должны включить JavaScript чтобы использовать эту форму.
Ваш вопрос
Email
Телефон
Отправляя форму вы подтверждаете согласие с
политикой обработки персональных данных
.
Отправить
Оставьте это поле пустым