Каталог запчастей
Запчасти Камаз
Запчасти Урал
Спецпредложения
О компании
Контакты
+7 (3513) 289-777
Отправить готовую заявку
Группа компаний A-GROUP
Каталог
Запчасти УРАЛ
Запчасти КАМАЗ
Двигатель
Система питания
Система выпуска газов
Система охлаждения
Механизмы управления
Рулевое управление
Тормозная система
Кабина и кузов
Кабина
Оперение кабины
Платформа и кузов
Трансмиссия
Коробка передач
Коробка раздаточная
Сцепление
Карданная передача
Мосты
Ходовая часть
Колеса и ступицы
Ось передняя
Подвеска
Рама
Электрооборудование
Приборы
Специальное оборудование
Устройство седельно-сцепное
Лебедка
Газовое оборудование
Прочие запчасти
Инструмент и принадлежности
Рукава и РТИ
Крепеж
Подшипники
Запчасти двигателя
Система выпуска газов
Система охлаждения
Система питания
Кабина и оперение
Передок кабины
Оперение кабины
Боковина кабины
Двери кабины
Задок кабины
Основание кабины
Крыша кабины
Сиденья кабины
Вентиляция и отопление кабины
Трансмиссия
Коробка передач
Раздаточная коробка
Карданный вал
Сцепление
Передний мост
Средний мост
Задний мост
Ходовая часть
Рама
Подвеска балансирная
Колеса и ступицы
Механизмы управления
Рулевое управление
Тормозная система
Платформа
Электрооборудование
Приборы
Оборудование и инструменты
Коробка отбора мощности
Лебедка
Устройство седельно-сцепное
Инструменты
Поиск
Графические каталоги
0
Группа компаний A-GROUP
Поиск
0
+7 (3513) 289-777
Обратный звонок
Отправить готовую заявку
Группа компаний A-GROUP
0
Меню
Поиск
Каталог запчастей
Запчасти Камаз
Запчасти Урал
Спецпредложения
О компании
Контакты
Главная
Графические каталоги
КамАЗ
КамАЗ-4350 (4х4)
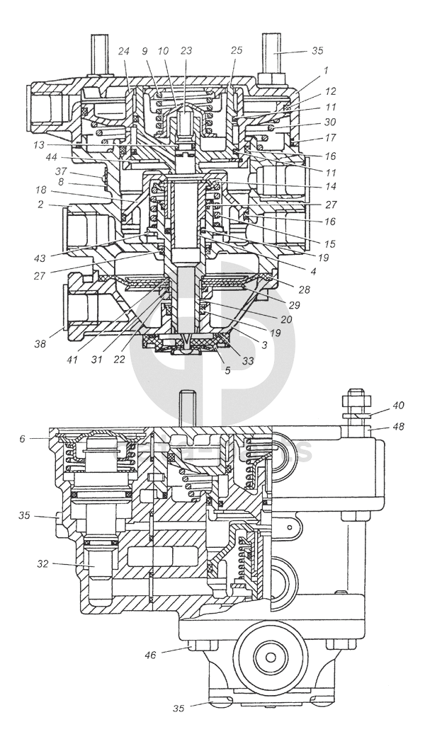
25.3522210 Клапан управления тормозами прицепа с клапаном обрыва в сборе
25.3522210 Клапан управления тормозами прицепа с клапаном обрыва в сборе КамАЗ-4350 (4х4)
1
2
3
4
5
6
8
9
10
11
11
12
13
14
15
16
16
17
18
19
19
20
22
23
24
25
27
27
28
29
30
31
32
33
35
35
36
37
38
40
41
43
44
46
48
100
%
1
25.3522220
Корпус верхний в сборе
Кол-во
1
?
Оставить заявку
2
25.3522230
Корпус средний в сборе
Кол-во
1
?
Оставить заявку
3
25.3522250
Корпус нижний в сборе
Кол-во
1
?
Оставить заявку
4
100-3522060
Клапан в сборе
Кол-во
1
?
Оставить заявку
5
25.3522270
Окно выпускное в сборе
Кол-во
1
?
Оставить заявку
6
25.3522280
Клапан обрыва в сборе
Кол-во
1
?
Оставить заявку
8
100-3512099
Табличка
Кол-во
1
?
Оставить заявку
9
100-3522022
Пружина
Кол-во
1
?
Оставить заявку
10
100-3522023
Тарелка пружины
Кол-во
1
?
Оставить заявку
11
100-3522024
Кольцо
Кол-во
2
?
Оставить заявку
12
100-3522025
Кольцо
Кол-во
1
?
Оставить заявку
13
100-3522026
Кольцо
Кол-во
1
?
Оставить заявку
14
100-3522027
Тарелка пружины
Кол-во
1
?
Оставить заявку
15
100-3522028
Пружина
Кол-во
1
?
Оставить заявку
16
100-3522029
Кольцо
Кол-во
2
?
Оставить заявку
17
100-3522032
Кольцо
Кол-во
1
?
Оставить заявку
18
100-3522035
Поршень средний
Кол-во
1
?
Оставить заявку
19
100-3522037
Кольцо
Кол-во
2
?
Оставить заявку
20
25.3522240
Поршень нижний
Кол-во
1
?
Оставить заявку
22
100-3522054
Гайка
Кол-во
1
?
Оставить заявку
23
100-3522055
Винт регулировочный
Кол-во
1
?
Оставить заявку
24
100-3522056
Поршень верхний большой
Кол-во
1
?
Оставить заявку
25
100-3522058
Поршень верхний малый
Кол-во
1
?
Оставить заявку
27
100-3522063
Кольцо
Кол-во
2
?
Оставить заявку
28
100-3522065
Мембрана
Кол-во
1
?
Оставить заявку
29
100-3522066
Шайба
Кол-во
2
?
Оставить заявку
30
100-3522068
Пружина
Кол-во
1
?
Оставить заявку
31
100-3522069
Кольцо
Кол-во
1
?
Оставить заявку
32
100-3533057
Кольцо
Кол-во
3
?
Оставить заявку
33
100-3534030
Кольцо
Кол-во
1
?
Оставить заявку
35
301543
Болт М8-6g
Кол-во
6
?
Оставить заявку
36
302206
Винт
Кол-во
2
?
Оставить заявку
37
304183
Заклепка пустотелая
Кол-во
2
?
Оставить заявку
38
305131
Пробка транспортная
Кол-во
6
?
Оставить заявку
40
305890
Шайба 8 пружинная
Кол-во
2
?
Оставить заявку
41
309791
Кольцо уплотнительное
Кол-во
1
?
Оставить заявку
43
489306
Кольцо упорное
Кол-во
1
?
Оставить заявку
44
489312
Кольцо упорное
Кол-во
1
?
Оставить заявку
46
201458
Болт М8-6gх25
Кол-во
4
?
Оставить заявку
48
250510
Гайка М8-6Н
Кол-во
6
?
Оставить заявку
Нужна помощь в подборе запчастей?
Напишите нам и оставьте ваши контактные данные. Мы перезвоним вам в течение 30 минут или раньше!
Кратвольд Елена
Менеджер по продажам
7 (3513) 289-777
koleso787@bk.ru
Вы должны включить JavaScript чтобы использовать эту форму.
Ваш вопрос
Email
Телефон
Отправляя форму вы подтверждаете согласие с
политикой обработки персональных данных
.
Отправить
Оставьте это поле пустым