Каталог запчастей
Запчасти Камаз
Запчасти Урал
Спецпредложения
О компании
Контакты
+7 (3513) 289-777
Отправить готовую заявку
Группа компаний A-GROUP
Каталог
Запчасти УРАЛ
Запчасти КАМАЗ
Двигатель
Система питания
Система выпуска газов
Система охлаждения
Механизмы управления
Рулевое управление
Тормозная система
Кабина и кузов
Кабина
Оперение кабины
Платформа и кузов
Трансмиссия
Коробка передач
Коробка раздаточная
Сцепление
Карданная передача
Мосты
Ходовая часть
Колеса и ступицы
Ось передняя
Подвеска
Рама
Электрооборудование
Приборы
Специальное оборудование
Устройство седельно-сцепное
Лебедка
Газовое оборудование
Прочие запчасти
Инструмент и принадлежности
Рукава и РТИ
Крепеж
Подшипники
Запчасти двигателя
Система выпуска газов
Система охлаждения
Система питания
Кабина и оперение
Передок кабины
Оперение кабины
Боковина кабины
Двери кабины
Задок кабины
Основание кабины
Крыша кабины
Сиденья кабины
Вентиляция и отопление кабины
Трансмиссия
Коробка передач
Раздаточная коробка
Карданный вал
Сцепление
Передний мост
Средний мост
Задний мост
Ходовая часть
Рама
Подвеска балансирная
Колеса и ступицы
Механизмы управления
Рулевое управление
Тормозная система
Платформа
Электрооборудование
Приборы
Оборудование и инструменты
Коробка отбора мощности
Лебедка
Устройство седельно-сцепное
Инструменты
Поиск
Графические каталоги
0
Группа компаний A-GROUP
Поиск
0
+7 (3513) 289-777
Обратный звонок
Отправить готовую заявку
Группа компаний A-GROUP
0
Меню
Поиск
Каталог запчастей
Запчасти Камаз
Запчасти Урал
Спецпредложения
О компании
Контакты
Главная
Графические каталоги
КамАЗ
КамАЗ-4350 (4х4)
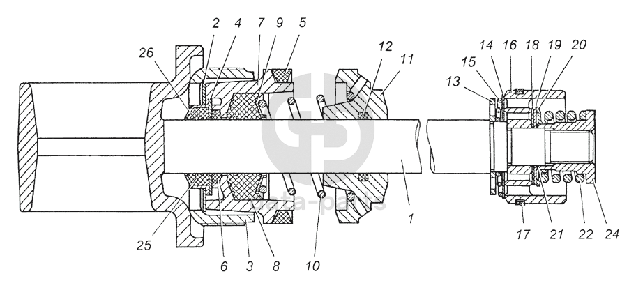
4310-2905600 Шток с поршнем в сборе
4310-2905600 Шток с поршнем в сборе КамАЗ-4350 (4х4)
1
2
3
4
5
6
7
8
9
10
11
12
13
14
15
16
17
18
19
20
21
22
24
25
26
100
%
1
4310-2905605
Шток с проушиной в сборе
Кол-во
1
?
Оставить заявку
2
5320-2905609
Прокладка
Кол-во
1
?
Оставить заявку
3
5320-2905610
Гайка резервуара
Кол-во
1
?
Оставить заявку
4
5320-2905611
Шайба
Кол-во
1
?
Оставить заявку
5
5320-2905613
Сальник резервуара
Кол-во
1
?
Оставить заявку
6
5320-2905614
Сальник штока
Кол-во
1
?
Оставить заявку
7
5320-2905615
Обойма сальника
Кол-во
1
?
Оставить заявку
8
5320-2905616
Сальник штока
Кол-во
1
?
Оставить заявку
9
5320-2905617
Шайба сальника
Кол-во
1
?
Оставить заявку
10
5320-2905618
Пружина сальника
Кол-во
1
?
Оставить заявку
11
5320-2905619
Направляющая штока
Кол-во
1
?
Оставить заявку
12
5320-2905621
Сальник направляющий
Кол-во
1
?
Оставить заявку
13
53212-2905628
Ограничительная тарелка
Кол-во
1
?
Оставить заявку
14
5320-2905631
Тарелка перепускного клапана
Кол-во
1
?
Оставить заявку
15
5320-2905633
Пружина перепускного клапана
Кол-во
1
?
Оставить заявку
16
5320-2905635-01
Поршень
Кол-во
1
?
Оставить заявку
17
5320-2905636
Кольцо поршневое
Кол-во
1
?
Оставить заявку
18
5320-2905637
Диск дроссельный
Кол-во
1
?
Оставить заявку
19
5320-2905638
Диск клапана отбоя
Кол-во
2
?
Оставить заявку
20
5320-2905640
Тарелка клапана
Кол-во
1
?
Оставить заявку
21
5320-2905641
Шайба клапана
Кол-во
1
?
Оставить заявку
22
5320-2905642
Пружина клапана отбоя
Кол-во
1
?
Оставить заявку
24
53212-2905644
Гайка клапана отбоя
Кол-во
1
?
Оставить заявку
25
5320-2905646
Сальник штока верхний
Кол-во
1
?
Оставить заявку
26
5320-2905647
Обойма верхнего сальника
Кол-во
1
?
Оставить заявку
Нужна помощь в подборе запчастей?
Напишите нам и оставьте ваши контактные данные. Мы перезвоним вам в течение 30 минут или раньше!
Кратвольд Елена
Менеджер по продажам
7 (3513) 289-777
koleso787@bk.ru
Вы должны включить JavaScript чтобы использовать эту форму.
Ваш вопрос
Email
Телефон
Отправляя форму вы подтверждаете согласие с
политикой обработки персональных данных
.
Отправить
Оставьте это поле пустым