Каталог запчастей
Запчасти Камаз
Запчасти Урал
Спецпредложения
О компании
Контакты
+7 (3513) 289-777
Отправить готовую заявку
Группа компаний A-GROUP
Каталог
Запчасти УРАЛ
Запчасти КАМАЗ
Двигатель
Система питания
Система выпуска газов
Система охлаждения
Механизмы управления
Рулевое управление
Тормозная система
Кабина и кузов
Кабина
Оперение кабины
Платформа и кузов
Трансмиссия
Коробка передач
Коробка раздаточная
Сцепление
Карданная передача
Мосты
Ходовая часть
Колеса и ступицы
Ось передняя
Подвеска
Рама
Электрооборудование
Приборы
Специальное оборудование
Устройство седельно-сцепное
Лебедка
Газовое оборудование
Прочие запчасти
Инструмент и принадлежности
Рукава и РТИ
Крепеж
Подшипники
Запчасти двигателя
Система выпуска газов
Система охлаждения
Система питания
Кабина и оперение
Передок кабины
Оперение кабины
Боковина кабины
Двери кабины
Задок кабины
Основание кабины
Крыша кабины
Сиденья кабины
Вентиляция и отопление кабины
Трансмиссия
Коробка передач
Раздаточная коробка
Карданный вал
Сцепление
Передний мост
Средний мост
Задний мост
Ходовая часть
Рама
Подвеска балансирная
Колеса и ступицы
Механизмы управления
Рулевое управление
Тормозная система
Платформа
Электрооборудование
Приборы
Оборудование и инструменты
Коробка отбора мощности
Лебедка
Устройство седельно-сцепное
Инструменты
Поиск
Графические каталоги
0
Группа компаний A-GROUP
Поиск
0
+7 (3513) 289-777
Обратный звонок
Отправить готовую заявку
Группа компаний A-GROUP
0
Меню
Поиск
Каталог запчастей
Запчасти Камаз
Запчасти Урал
Спецпредложения
О компании
Контакты
Главная
Графические каталоги
КамАЗ
КамАЗ-4350 (4х4)
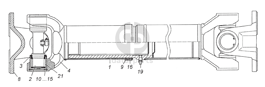
6540-2205011 -50 Вал карданный среднего моста в сборе
6540-2205011 -50 Вал карданный среднего моста в сборе КамАЗ-4350 (4х4)
1
2
3
4
8
9
10
11
12
13
14
15
16
19
21
100
%
1
6540-2205015-50
Вал карданный
Кол-во
1
?
Оставить заявку
2
53205-2205026-10
Крестовина карданного вала в сборе
Кол-во
2
?
Узнать цену
53205-2205026-10
Крестовина КАМАЗ-ЕВРО, МАЗ вала карданного большая
ПАО КАМАЗ
под заказ
3 038 ₽
В корзину
3
53205-2205042
Уплотнение подшипника
Кол-во
8
?
Оставить заявку
4
53205-2205047
Вилка скользящая
Кол-во
1
?
Узнать цену
53205-2205047
Вилка скользящая в сборе
ПАО КАМАЗ
под заказ
27 305 ₽
В корзину
8
53205-2205023-20
Вилка-фланец
Кол-во
2
?
Узнать цену
53205-2205023-20
Вилка-фланец КАМАЗ-ЕВРО вала карданного среднего моста
ПАО КАМАЗ
В наличии 2 шт.
4 241 ₽
В корзину
9
53205-2205034
Шайба
Кол-во
2
?
Узнать цену
53205-2205034
Шайба
ПАО КАМАЗ
под заказ
26 ₽
В корзину
10
53205-2205040
Кольцо стопорное
Кол-во
8
?
Узнать цену
53205-2205040
Кольцо КАМАЗ-ЕВРО стопорное крестовины вала карданного
ПАО КАМАЗ
В наличии 6 шт.
302 ₽
В корзину
11
53205-2205041
Кольцо стопорное
Кол-во
8
?
Узнать цену
53205-2205041
Кольцо стопорное
ПАО КАМАЗ
под заказ
401 ₽
В корзину
12
53205-2205044
Кольцо стопорное
Кол-во
8
?
Узнать цену
53205-2205044
Кольцо стопорное
ПАО КАМАЗ
под заказ
401 ₽
В корзину
13
53205-2205045
Кольцо стопорное
Кол-во
8
?
Узнать цену
53205-2205045
Кольцо стопорное
ПАО КАМАЗ
под заказ
235 ₽
В корзину
14
53205-2205046
Кольцо стопорное
Кол-во
8
?
Узнать цену
53205-2205046
Кольцо стопорное
ПАО КАМАЗ
под заказ
235 ₽
В корзину
15
53205-2205049
Кольцо стопорное
Кол-во
8
?
Узнать цену
53205-2205049
Кольцо стопорное
ПАО КАМАЗ
под заказ
401 ₽
В корзину
16
53205-2205085-10
Кольцо уплотнительное
Кол-во
1
?
Оставить заявку
19
864006
Масленка 1.3.Ц6хр.ГОСТ 19853-74
Кол-во
1
?
Оставить заявку
21
804707AC10
Подшипник роликовый игольчатый с одним наружным кольцом ТУ 37.006.065-90
Кол-во
8
?
Узнать цену
804707АС10
ПОДШИПНИК РОЛИКОВЫЙ
АО АЗ Урал
под заказ
15 ₽
В корзину
Нужна помощь в подборе запчастей?
Напишите нам и оставьте ваши контактные данные. Мы перезвоним вам в течение 30 минут или раньше!
Кратвольд Елена
Менеджер по продажам
7 (3513) 289-777
koleso787@bk.ru
Вы должны включить JavaScript чтобы использовать эту форму.
Ваш вопрос
Email
Телефон
Отправляя форму вы подтверждаете согласие с
политикой обработки персональных данных
.
Отправить
Оставьте это поле пустым