Каталог запчастей
Запчасти Камаз
Запчасти Урал
Спецпредложения
О компании
Контакты
+7 (3513) 289-777
Отправить готовую заявку
Группа компаний A-GROUP
Каталог
Запчасти УРАЛ
Запчасти КАМАЗ
Двигатель
Система питания
Система выпуска газов
Система охлаждения
Механизмы управления
Рулевое управление
Тормозная система
Кабина и кузов
Кабина
Оперение кабины
Платформа и кузов
Трансмиссия
Коробка передач
Коробка раздаточная
Сцепление
Карданная передача
Мосты
Ходовая часть
Колеса и ступицы
Ось передняя
Подвеска
Рама
Электрооборудование
Приборы
Специальное оборудование
Устройство седельно-сцепное
Лебедка
Газовое оборудование
Прочие запчасти
Инструмент и принадлежности
Рукава и РТИ
Крепеж
Подшипники
Запчасти двигателя
Система выпуска газов
Система охлаждения
Система питания
Кабина и оперение
Передок кабины
Оперение кабины
Боковина кабины
Двери кабины
Задок кабины
Основание кабины
Крыша кабины
Сиденья кабины
Вентиляция и отопление кабины
Трансмиссия
Коробка передач
Раздаточная коробка
Карданный вал
Сцепление
Передний мост
Средний мост
Задний мост
Ходовая часть
Рама
Подвеска балансирная
Колеса и ступицы
Механизмы управления
Рулевое управление
Тормозная система
Платформа
Электрооборудование
Приборы
Оборудование и инструменты
Коробка отбора мощности
Лебедка
Устройство седельно-сцепное
Инструменты
Поиск
Графические каталоги
0
Группа компаний A-GROUP
Поиск
0
+7 (3513) 289-777
Обратный звонок
Отправить готовую заявку
Группа компаний A-GROUP
0
Меню
Поиск
Каталог запчастей
Запчасти Камаз
Запчасти Урал
Спецпредложения
О компании
Контакты
Главная
Графические каталоги
КамАЗ
КамАЗ-4350 (4х4)
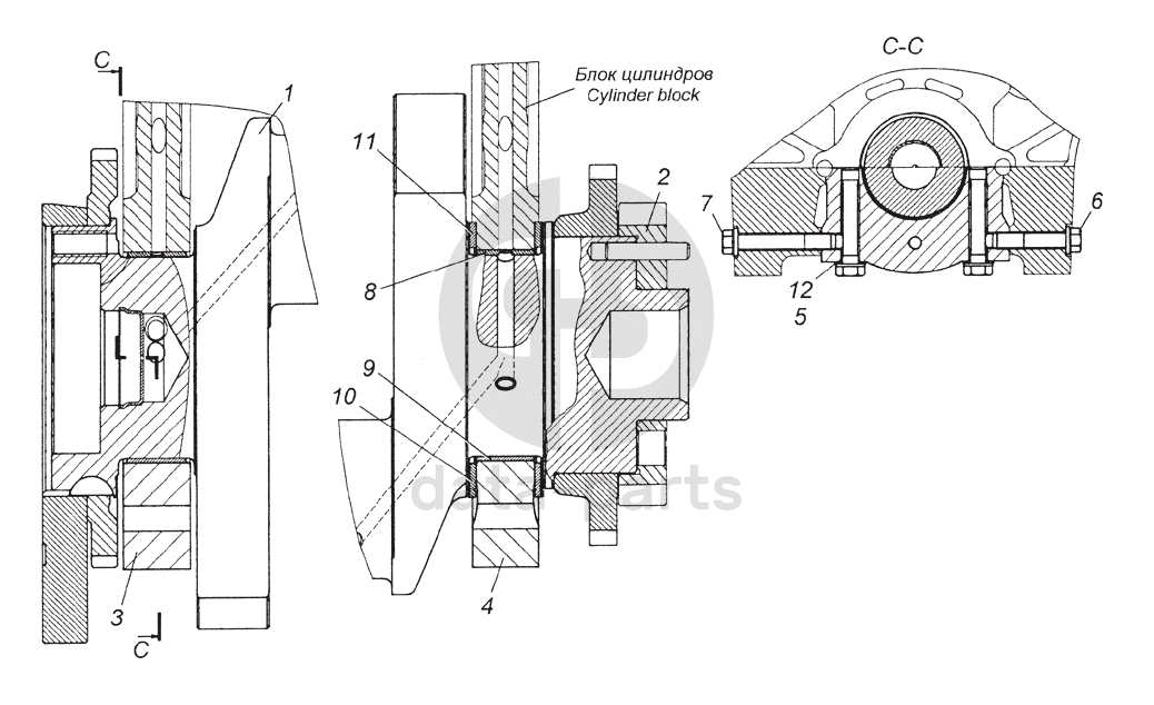
740.50-1005007 Установка коленчатого вала
740.50-1005007 Установка коленчатого вала КамАЗ-4350 (4х4)
1
2
8
9
10
11
12
100
%
1
740.50-1005008
Вал коленчатый в сборе
Кол-во
1
?
Узнать цену
740.50-1005008
Вал коленчатый КАМАЗ-ЕВРО-2 (замена 966173)
ПАО КАМАЗ
под заказ
235 744 ₽
В корзину
2
7406.1005031
Шестерня коленчатого вала в сборе
Кол-во
1
?
Узнать цену
7406.1005031
Шестерня
ПАО КАМАЗ
В наличии 1 шт.
10 666 ₽
В корзину
8
7405.1005170
Вкладыш подшипника коленчатого вала верхний
Кол-во
5
?
Оставить заявку
9
7405.1005171
Вкладыш подшипника коленчатого вала нижний
Кол-во
5
?
Оставить заявку
10
740.1005183
Полукольцо упорного подшипника коленчатого вала нижнее
Кол-во
2
?
Оставить заявку
11
740.1005184
Полукольцо упорного подшипника коленчатого вала верхнее
Кол-во
2
?
Оставить заявку
12
870458
Шайба 16,4х28
Кол-во
10
?
Узнать цену
870458
Шайба
ПАО КАМАЗ
под заказ
111 ₽
В корзину
Нужна помощь в подборе запчастей?
Напишите нам и оставьте ваши контактные данные. Мы перезвоним вам в течение 30 минут или раньше!
Кратвольд Елена
Менеджер по продажам
7 (3513) 289-777
koleso787@bk.ru
Вы должны включить JavaScript чтобы использовать эту форму.
Ваш вопрос
Email
Телефон
Отправляя форму вы подтверждаете согласие с
политикой обработки персональных данных
.
Отправить
Оставьте это поле пустым