Каталог запчастей
Запчасти Камаз
Запчасти Урал
Спецпредложения
О компании
Контакты
+7 (3513) 289-777
Отправить готовую заявку
Группа компаний A-GROUP
Каталог
Запчасти УРАЛ
Запчасти КАМАЗ
Двигатель
Система питания
Система выпуска газов
Система охлаждения
Механизмы управления
Рулевое управление
Тормозная система
Кабина и кузов
Кабина
Оперение кабины
Платформа и кузов
Трансмиссия
Коробка передач
Коробка раздаточная
Сцепление
Карданная передача
Мосты
Ходовая часть
Колеса и ступицы
Ось передняя
Подвеска
Рама
Электрооборудование
Приборы
Специальное оборудование
Устройство седельно-сцепное
Лебедка
Газовое оборудование
Прочие запчасти
Инструмент и принадлежности
Рукава и РТИ
Крепеж
Подшипники
Запчасти двигателя
Система выпуска газов
Система охлаждения
Система питания
Кабина и оперение
Передок кабины
Оперение кабины
Боковина кабины
Двери кабины
Задок кабины
Основание кабины
Крыша кабины
Сиденья кабины
Вентиляция и отопление кабины
Трансмиссия
Коробка передач
Раздаточная коробка
Карданный вал
Сцепление
Передний мост
Средний мост
Задний мост
Ходовая часть
Рама
Подвеска балансирная
Колеса и ступицы
Механизмы управления
Рулевое управление
Тормозная система
Платформа
Электрооборудование
Приборы
Оборудование и инструменты
Коробка отбора мощности
Лебедка
Устройство седельно-сцепное
Инструменты
Поиск
Графические каталоги
0
Группа компаний A-GROUP
Поиск
0
+7 (3513) 289-777
Обратный звонок
Отправить готовую заявку
Группа компаний A-GROUP
0
Меню
Поиск
Каталог запчастей
Запчасти Камаз
Запчасти Урал
Спецпредложения
О компании
Контакты
Главная
Графические каталоги
КамАЗ
КамАЗ-4350 (4х4)
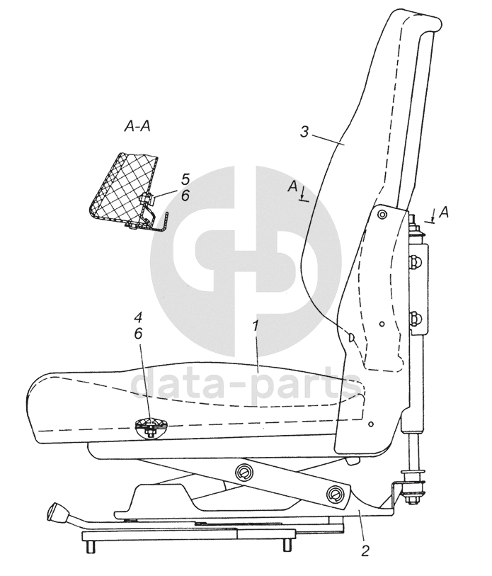
53205-6800010 Сиденье водителя в сборе
53205-6800010 Сиденье водителя в сборе КамАЗ-4350 (4х4)
53205-6800010
532057-6800010
53205-6800010-01
1
1
1
2
3
3
4
5
6
6
100
%
1
53205-6803010-01
Подушка сиденья водителя
Кол-во
1
?
Оставить заявку
1
53205-6803010
Подушка сиденья водителя
Кол-во
1
?
Оставить заявку
1
532057-6803010
Подушка сиденья водителя
Кол-во
1
?
Оставить заявку
2
5320-6804010
Механизм подрессоривания сиденья в сборе
Кол-во
1
?
Оставить заявку
3
53205-6805010
Спинка сиденья водителя
Кол-во
1
?
Оставить заявку
3
532057-6805010
Спинка сиденья водителя
Кол-во
1
?
Оставить заявку
4
251645
Гайка М8-6Н ОСТ 37.001.197-75
Кол-во
4
?
Оставить заявку
5
1/32792/11
Винт М6-6gх16
Кол-во
4
?
Оставить заявку
6
1/05166/77
Шайба 8 пружинная
Кол-во
8
?
Оставить заявку
None
532057-6800010
Сиденье водителя в сборе
Кол-во
0
?
Оставить заявку
None
53205-6800010
Сиденье водителя
Кол-во
0
?
Оставить заявку
None
53205-6800010-01
Сиденье водителя
Кол-во
0
?
Оставить заявку
Нужна помощь в подборе запчастей?
Напишите нам и оставьте ваши контактные данные. Мы перезвоним вам в течение 30 минут или раньше!
Кратвольд Елена
Менеджер по продажам
7 (3513) 289-777
koleso787@bk.ru
Вы должны включить JavaScript чтобы использовать эту форму.
Ваш вопрос
Email
Телефон
Отправляя форму вы подтверждаете согласие с
политикой обработки персональных данных
.
Отправить
Оставьте это поле пустым