Каталог запчастей
Запчасти Камаз
Запчасти Урал
Спецпредложения
О компании
Контакты
+7 (3513) 289-777
Отправить готовую заявку
Группа компаний A-GROUP
Каталог
Запчасти УРАЛ
Запчасти КАМАЗ
Двигатель
Система питания
Система выпуска газов
Система охлаждения
Механизмы управления
Рулевое управление
Тормозная система
Кабина и кузов
Кабина
Оперение кабины
Платформа и кузов
Трансмиссия
Коробка передач
Коробка раздаточная
Сцепление
Карданная передача
Мосты
Ходовая часть
Колеса и ступицы
Ось передняя
Подвеска
Рама
Электрооборудование
Приборы
Специальное оборудование
Устройство седельно-сцепное
Лебедка
Газовое оборудование
Прочие запчасти
Инструмент и принадлежности
Рукава и РТИ
Крепеж
Подшипники
Запчасти двигателя
Система выпуска газов
Система охлаждения
Система питания
Кабина и оперение
Передок кабины
Оперение кабины
Боковина кабины
Двери кабины
Задок кабины
Основание кабины
Крыша кабины
Сиденья кабины
Вентиляция и отопление кабины
Трансмиссия
Коробка передач
Раздаточная коробка
Карданный вал
Сцепление
Передний мост
Средний мост
Задний мост
Ходовая часть
Рама
Подвеска балансирная
Колеса и ступицы
Механизмы управления
Рулевое управление
Тормозная система
Платформа
Электрооборудование
Приборы
Оборудование и инструменты
Коробка отбора мощности
Лебедка
Устройство седельно-сцепное
Инструменты
Поиск
Графические каталоги
0
Группа компаний A-GROUP
Поиск
0
+7 (3513) 289-777
Обратный звонок
Отправить готовую заявку
Группа компаний A-GROUP
0
Меню
Поиск
Каталог запчастей
Запчасти Камаз
Запчасти Урал
Спецпредложения
О компании
Контакты
Главная
Графические каталоги
КамАЗ
КамАЗ-43261 (Евро-1, 2)
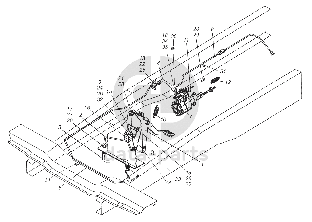
4310-1600006 Установка педали и привода выключения сцепления
4310-1600006 Установка педали и привода выключения сцепления КамАЗ-43261 (Евро-1, 2)
1
2
3
4
5
7
8
9
10
11
12
13
14
15
16
17
18
19
21
22
23
24
25
26
26
27
28
29
30
31
31
32
32
33
34
35
36
100
%
1
5320-1602008
Педаль сцепления с кронштейном и главным цилиндром в сборе
Кол-во
1
?
Узнать цену
5320-1602008
Педаль КАМАЗ сцепления
ПАО КАМАЗ
под заказ
12 998 ₽
В корзину
2
5320-1602588
Трубка от главного цилиндра в сборе
Кол-во
1
?
Узнать цену
5320-1602588
Трубка КАМАЗ сцепления
ПАО КАМАЗ
В наличии 8 шт.
402 ₽
В корзину
3
5320-1602590
Шланг гибкий привода управления сцепления в сборе
Кол-во
1
?
Узнать цену
5320-1602590
Шланг КАМАЗ ПГУ
ПАО КАМАЗ
под заказ
1 369 ₽
В корзину
4
4310-1602590
Шланг гибкий привода управления сцеплением в сборе
Кол-во
1
?
Узнать цену
4310-1602590
Шланг КАМАЗ ПГУ с изогнутым наконечником
ПАО КАМАЗ
В наличии 4 шт.
1 096 ₽
В корзину
5
5320-1602592
Трубка привода управления сцеплением в сборе
Кол-во
1
?
Узнать цену
5320-1602592
Трубка
ПАО КАМАЗ
под заказ
1 624 ₽
В корзину
7
5320-1609510
Усилитель пневмогидравлический в сборе
Кол-во
1
?
Оставить заявку
8
5320-1609616-02
Трубка подвода воздуха
Кол-во
1
?
Оставить заявку
9
5320-1602560
Бачок главного цилиндра в сборе
Кол-во
1
?
Узнать цену
5320-1602560
Бачок ГЦС КАМАЗ
ПАО КАМАЗ
В наличии 10 шт.
468 ₽
В корзину
10
5320-1602034
Пружина оттяжная педали сцепления
Кол-во
1
?
Оставить заявку
11
5320-1602157
Скоба
Кол-во
1
?
Узнать цену
5320-1602157
Скоба КАМАЗ пружины оттяжной
ПАО КАМАЗ
под заказ
53 ₽
В корзину
12
5320-1609160
Пружина
Кол-во
1
?
Оставить заявку
13
5320-1602601
Скоба шланга привода управления сцеплением
Кол-во
1
?
Узнать цену
5320-1602601
Скоба шланга
ПАО КАМАЗ
под заказ
104 ₽
В корзину
14
5320-1602074
Уплотнитель
Кол-во
1
?
Оставить заявку
15
5320-1602076
Кронштейн бачка
Кол-во
1
?
Узнать цену
5320-1602076
Кронштейн
ПАО КАМАЗ
под заказ
99 ₽
В корзину
16
5320-1602563
Хомут крепления бачка
Кол-во
1
?
Узнать цену
5320-1602563
Хомут
ПАО КАМАЗ
под заказ
58 ₽
В корзину
17
5320-1602603
Штуцер соединительный
Кол-во
3
?
Оставить заявку
18
861001
Угольник ввертный
Кол-во
1
?
Узнать цену
861001
Угольник
ПАО КАМАЗ
В наличии 1 шт.
307 ₽
В корзину
19
853544-П
Гайкодержатель М6
Кол-во
2
?
Оставить заявку
21
1/13069/21
Болт М10х1,25-6gх30
Кол-во
3
?
Оставить заявку
22
1/55403/21
Болт М12х1,25-6gх25
Кол-во
1
?
Оставить заявку
23
1/55407/21
Болт М12х1,25-6gх45
Кол-во
2
?
Оставить заявку
24
1/58962/11
Гайка ЕМ6-6Н
Кол-во
2
?
Узнать цену
1/58962/11
Гайка М6Х1 Камаз
ПАО Автодизель (ЯМЗ)
под заказ
15 ₽
В корзину
25
1/61015/15
Гайка табл. ВАЗ 10112 М12х1,25
Кол-во
1
?
Оставить заявку
26
1/09020/21
Болт М6-6gх12
Кол-во
4
?
Оставить заявку
27
1/07914/11
Гайка низкая М16х1,5-6Н
Кол-во
3
?
Оставить заявку
28
1/05168/77
Шайба 10 пружинная
Кол-во
3
?
Оставить заявку
29
1/05170/77
Шайба 12 пружинная
Кол-во
2
?
Оставить заявку
30
1/05172/77
Шайба 16 пружинная
Кол-во
3
?
Оставить заявку
31
853922
Скоба
Кол-во
2
?
Узнать цену
853922
Скоба КАМАЗ привода вспомогательного тормоза
ПАО КАМАЗ
под заказ
36 ₽
В корзину
32
1/05164/73
Шайба 6 пружинная
Кол-во
4
?
Оставить заявку
33
1/01685/90
Хомут 12
Кол-во
1
?
Оставить заявку
34
1/07912/11
Гайка низкая М12х1,5-6Н
Кол-во
1
?
Оставить заявку
35
861022
Шайба 10
Кол-во
1
?
Узнать цену
861022
Шайба
ПАО КАМАЗ
под заказ
45 ₽
В корзину
36
864210
Кольцо уплотнительное
Кол-во
1
?
Оставить заявку
Нужна помощь в подборе запчастей?
Напишите нам и оставьте ваши контактные данные. Мы перезвоним вам в течение 30 минут или раньше!
Кратвольд Елена
Менеджер по продажам
7 (3513) 289-777
koleso787@bk.ru
Вы должны включить JavaScript чтобы использовать эту форму.
Ваш вопрос
Email
Телефон
Отправляя форму вы подтверждаете согласие с
политикой обработки персональных данных
.
Отправить
Оставьте это поле пустым