Каталог запчастей
Запчасти Камаз
Запчасти Урал
Спецпредложения
О компании
Контакты
+7 (3513) 289-777
Отправить готовую заявку
Группа компаний A-GROUP
Каталог
Запчасти УРАЛ
Запчасти КАМАЗ
Двигатель
Система питания
Система выпуска газов
Система охлаждения
Механизмы управления
Рулевое управление
Тормозная система
Кабина и кузов
Кабина
Оперение кабины
Платформа и кузов
Трансмиссия
Коробка передач
Коробка раздаточная
Сцепление
Карданная передача
Мосты
Ходовая часть
Колеса и ступицы
Ось передняя
Подвеска
Рама
Электрооборудование
Приборы
Специальное оборудование
Устройство седельно-сцепное
Лебедка
Газовое оборудование
Прочие запчасти
Инструмент и принадлежности
Рукава и РТИ
Крепеж
Подшипники
Запчасти двигателя
Система выпуска газов
Система охлаждения
Система питания
Кабина и оперение
Передок кабины
Оперение кабины
Боковина кабины
Двери кабины
Задок кабины
Основание кабины
Крыша кабины
Сиденья кабины
Вентиляция и отопление кабины
Трансмиссия
Коробка передач
Раздаточная коробка
Карданный вал
Сцепление
Передний мост
Средний мост
Задний мост
Ходовая часть
Рама
Подвеска балансирная
Колеса и ступицы
Механизмы управления
Рулевое управление
Тормозная система
Платформа
Электрооборудование
Приборы
Оборудование и инструменты
Коробка отбора мощности
Лебедка
Устройство седельно-сцепное
Инструменты
Поиск
Графические каталоги
0
Группа компаний A-GROUP
Поиск
0
+7 (3513) 289-777
Обратный звонок
Отправить готовую заявку
Группа компаний A-GROUP
0
Меню
Поиск
Каталог запчастей
Запчасти Камаз
Запчасти Урал
Спецпредложения
О компании
Контакты
Главная
Графические каталоги
КамАЗ
КамАЗ-43261 (Евро-1, 2)
Система питания двигателя
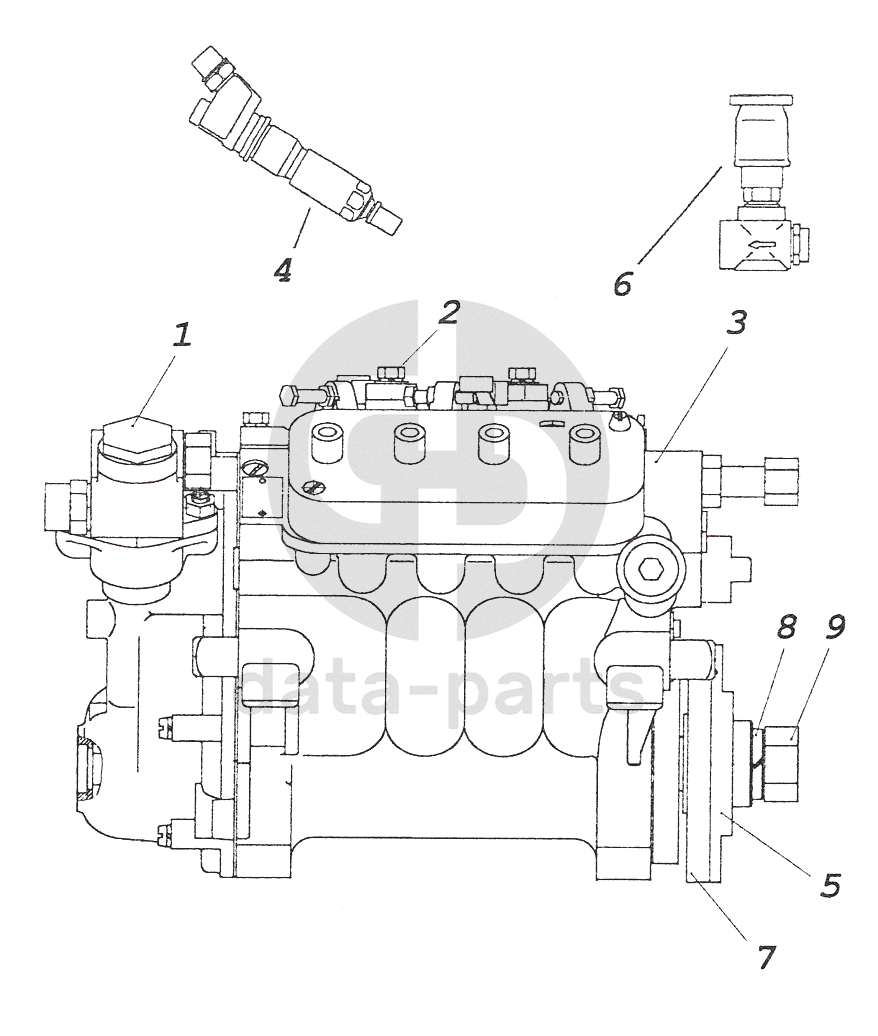
Система питания двигателя КамАЗ-43261 (Евро-1, 2)
1
2
3
4
4
5
6
7
8
9
100
%
1
332.1106010-01
Топливный насос низкого давления
Кол-во
1
?
Оставить заявку
2
332.1110-40 (тип)
Регулятор (в запчасти не поставляется)
Кол-во
1
?
Оставить заявку
3
337.1111005-42
Топливный насос высокого давления в сборе
Кол-во
1
?
Узнать цену
337.1111005-42
Насос топливный КАМАЗ высокого давления дв.740.13-260Е1
ПАО Автодизель (ЯМЗ)
под заказ
138 302 ₽
В корзину
4
273.1112010-20
Форсунка
Кол-во
8
?
Узнать цену
273.1112010-20
Форсунка КАМАЗ-ЕВРО-2
ПАО Автодизель (ЯМЗ)
под заказ
3 014 ₽
В корзину
4
273.1112010-31
Форсунка
Кол-во
8
?
Узнать цену
273.1112010-31
Форсунка КАМАЗ-ЕВРО-1
ПАО Автодизель (ЯМЗ)
под заказ
2 027 ₽
В корзину
5
337.1111059-01
Фланец ведомой полумуфты
Кол-во
1
?
Узнать цену
337.1111059-01
Фланец ведомой полумуфты для ТНВД-337
ПАО Автодизель (ЯМЗ)
под заказ
4 315 ₽
В корзину
6
37.1141010
Насос предпусковой прокачки топлива
Кол-во
1
?
Узнать цену
37.1141010
Насос топливный КАМАЗ предпусковой универсальный
ПАО Автодизель (ЯМЗ)
под заказ
3 466 ₽
В корзину
7
337.1111066
Полумуфта ведомая
Кол-во
1
?
Оставить заявку
8
1/05174/71
Шайба пружинная
Кол-во
1
?
Оставить заявку
9
320-88337
Гайка М20х1,5-6Н
Кол-во
1
?
Оставить заявку
Нужна помощь в подборе запчастей?
Напишите нам и оставьте ваши контактные данные. Мы перезвоним вам в течение 30 минут или раньше!
Кратвольд Елена
Менеджер по продажам
7 (3513) 289-777
koleso787@bk.ru
Вы должны включить JavaScript чтобы использовать эту форму.
Ваш вопрос
Email
Телефон
Отправляя форму вы подтверждаете согласие с
политикой обработки персональных данных
.
Отправить
Оставьте это поле пустым