Каталог запчастей
Запчасти Камаз
Запчасти Урал
Спецпредложения
О компании
Контакты
+7 (3513) 289-777
Отправить готовую заявку
Группа компаний A-GROUP
Каталог
Запчасти УРАЛ
Запчасти КАМАЗ
Двигатель
Система питания
Система выпуска газов
Система охлаждения
Механизмы управления
Рулевое управление
Тормозная система
Кабина и кузов
Кабина
Оперение кабины
Платформа и кузов
Трансмиссия
Коробка передач
Коробка раздаточная
Сцепление
Карданная передача
Мосты
Ходовая часть
Колеса и ступицы
Ось передняя
Подвеска
Рама
Электрооборудование
Приборы
Специальное оборудование
Устройство седельно-сцепное
Лебедка
Газовое оборудование
Прочие запчасти
Инструмент и принадлежности
Рукава и РТИ
Крепеж
Подшипники
Запчасти двигателя
Система выпуска газов
Система охлаждения
Система питания
Кабина и оперение
Передок кабины
Оперение кабины
Боковина кабины
Двери кабины
Задок кабины
Основание кабины
Крыша кабины
Сиденья кабины
Вентиляция и отопление кабины
Трансмиссия
Коробка передач
Раздаточная коробка
Карданный вал
Сцепление
Передний мост
Средний мост
Задний мост
Ходовая часть
Рама
Подвеска балансирная
Колеса и ступицы
Механизмы управления
Рулевое управление
Тормозная система
Платформа
Электрооборудование
Приборы
Оборудование и инструменты
Коробка отбора мощности
Лебедка
Устройство седельно-сцепное
Инструменты
Поиск
Графические каталоги
0
Группа компаний A-GROUP
Поиск
0
+7 (3513) 289-777
Обратный звонок
Отправить готовую заявку
Группа компаний A-GROUP
0
Меню
Поиск
Каталог запчастей
Запчасти Камаз
Запчасти Урал
Спецпредложения
О компании
Контакты
Главная
Графические каталоги
КамАЗ
КамАЗ-4326
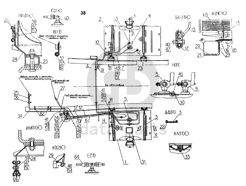
Установка топливного бака, фильтра грубой очистки топлива и топливопроводов
Установка топливного бака, фильтра грубой очистки топлива и топливопроводов КамАЗ-4326
1
2
3
3
4
5
5
6
7
9
10
12
13
13
14
15
16
17
17
18
21
22
23
23
24
24
25
26
27
28
29
29
29
30
31
32
33
34
38
39
40
43
45
47
47
47
48
48
48
48
48
50
50
51
51
51
51
53
54
56
57
60
61
62
63
64
65
66
70
100
%
1
5410-1101010-10
Бак топливный в сборе
Кол-во
1
?
Оставить заявку
2
5511-1101010-10
Бак топливный
Кол-во
1
?
Оставить заявку
3
5320-1101110-20
Хомут крепления топливного бака
Кол-во
4
?
Узнать цену
5320-1101110-20
Хомут крепления топливного бака
ПАО КАМАЗ
под заказ
539 ₽
В корзину
4
5320-1104012
Трубка приемная с фильтром в сборе
Кол-во
1
?
Узнать цену
5320-1104012
Топливоприемник КАМАЗ-5320 250л
ПАО КАМАЗ
В наличии 2 шт.
1 316 ₽
В корзину
5
5410-1104012-10
Трубка приемная с фильтром в сборе
Кол-во
1
?
Узнать цену
5410-1104012-10
Топливоприемник КАМАЗ-43261 43501 53501 с фильтром в сборе
ПАО КАМАЗ
под заказ
2 793 ₽
В корзину
6
43101-1104025-10
Трубка
Кол-во
1
?
Оставить заявку
7
43101-1104077-10
Трубка
Кол-во
1
?
Оставить заявку
9
5410-1104136
Трубка слива топлива в бак с угольником в сборе
Кол-во
1
?
Узнать цену
5410-1104136
Трубка слива топлива
ПАО КАМАЗ
под заказ
3 488 ₽
В корзину
10
43101-1104152-10
Трубка
Кол-во
1
?
Оставить заявку
12
43101-1104180-10
Трубка
Кол-во
1
?
Оставить заявку
13
4310-1104182
Трубка в сборе
Кол-во
1
?
Узнать цену
4310-1104182
Трубка подвода воздуха
ПАО КАМАЗ
под заказ
616 ₽
В корзину
14
43114-1104260
Трубка
Кол-во
1
?
Оставить заявку
15
43101-1104273-10
Трубка
Кол-во
1
?
Оставить заявку
16
43101-1104280-10
Трубка
Кол-во
1
?
Оставить заявку
17
740.1104458
Скоба крепления топливных трубок
Кол-во
6
?
Оставить заявку
18
740.1105010-01
Фильтр грубой очистки топлива в сборе
Кол-во
1
?
Оставить заявку
21
5320-1101104-10
Кронштейн крепления топливного бака
Кол-во
4
?
Узнать цену
5320-1101104-10
Кронштейн КАМАЗ бака топливного 250л
ПАО КАМАЗ
под заказ
1 367 ₽
В корзину
22
5320-1101113
Прокладка
Кол-во
4
?
Оставить заявку
23
53205-1101118
Проставка
Кол-во
4
?
Оставить заявку
24
5320-1104083
Кронштейн крепления топливных трубопроводов
Кол-во
2
?
Узнать цену
5320-1104083
Кронштейн
ПАО КАМАЗ
под заказ
89 ₽
В корзину
25
5320-1104102
Рукав соединительный топливопроводов
Кол-во
2
?
Оставить заявку
26
5320-1104119
Скоба крепления топливопроводов
Кол-во
3
?
Узнать цену
5320-1104119
Скоба топливопровода
ПАО КАМАЗ
под заказ
40 ₽
В корзину
27
5320-1104159
Шланг соединительный топливных трубопроводов
Кол-во
1
?
Оставить заявку
28
740.1104429
Наконечник
Кол-во
2
?
Узнать цену
740.1104429
Наконечник КАМАЗ системы питания
ПАО КАМАЗ
В наличии 10 шт.
477 ₽
В корзину
29
55102-1101109
Прокладка кронштейна крепления топливного бака
Кол-во
8
?
Оставить заявку
30
5320-3827013
Прокладка датчика
Кол-во
2
?
Оставить заявку
31
4310-3903030
Табличка инструкционная: о пользовании распределительного топливного крана
Кол-во
1
?
Оставить заявку
32
43114-3909055
Втулка
Кол-во
1
?
Оставить заявку
33
4310-1103080
Заглушка
Кол-во
2
?
Оставить заявку
34
43114-1105019
Кронштейн
Кол-во
1
?
Узнать цену
43114-1105019
Кронштейн
ПАО КАМАЗ
под заказ
140 ₽
В корзину
38
1/60432/21
Болт М8-6gх16
Кол-во
1
?
Оставить заявку
39
1/60434/21
Болт М8-6gх20
Кол-во
1
?
Оставить заявку
40
1/60439/21
Болт М8-6gх35
Кол-во
3
?
Оставить заявку
43
1/55411/21
Болт М12х1,25-6gх65
Кол-во
8
?
Оставить заявку
45
1/03893/01
Винт М5-6gх10
Кол-во
10
?
Оставить заявку
47
1/61008/11
Гайка М8х1,25-6Н
Кол-во
5
?
Оставить заявку
48
1/61015/11
Гайка М12х1,25-6Н
Кол-во
28
?
Оставить заявку
50
1/05166/77
Шайба 8 пружинная
Кол-во
2
?
Оставить заявку
51
1/05170/77
Шайба 12 пружинная
Кол-во
20
?
Оставить заявку
53
1/26467/01
Шайба плоская 8х20х2
Кол-во
1
?
Оставить заявку
54
1/05200/01
Шайба плоская 12х22х3
Кол-во
4
?
Оставить заявку
56
1/01688/90
Хомут 19 в сборе
Кол-во
4
?
Оставить заявку
57
1/02800/60
Прокладка уплотнительная 14х20х1,5
Кол-во
4
?
Узнать цену
1/02800/60
ПРОКЛАДКА 14Х20Х1.5,
АО АЗ Урал
под заказ
25 ₽
В корзину
60
853965
Угольник 6 ввертный
Кол-во
1
?
Узнать цену
853965
Угольник КАМАЗ М10х10
ПАО КАМАЗ
В наличии 13 шт.
263 ₽
В корзину
61
864415
Хомут
Кол-во
1
?
Оставить заявку
62
864601
Скоба крепления трубопровода
Кол-во
2
?
Узнать цену
864601
Скоба
ПАО КАМАЗ
под заказ
25 ₽
В корзину
63
864857
Угольник ввертный
Кол-во
1
?
Узнать цену
864857
Угольник М16хК18 топливозаборника ввертный
ПАО КАМАЗ
под заказ
307 ₽
В корзину
64
864869
Тройник 6 ввертный
Кол-во
1
?
Узнать цену
864869
Тройник КАМАЗ М10х1.0-К1/8
ПАО КАМАЗ
В наличии 6 шт.
226 ₽
В корзину
65
864920
Тройник 6 проходной
Кол-во
1
?
Узнать цену
864920
Тройник КАМАЗ М10х1.0
ПАО КАМАЗ
В наличии 11 шт.
164 ₽
В корзину
66
870005
Болт М14х1,5-6gх30
Кол-во
2
?
Оставить заявку
70
43101-1104148-10
Трубка
Кол-во
1
?
Оставить заявку
Нужна помощь в подборе запчастей?
Напишите нам и оставьте ваши контактные данные. Мы перезвоним вам в течение 30 минут или раньше!
Кратвольд Елена
Менеджер по продажам
7 (3513) 289-777
koleso787@bk.ru
Вы должны включить JavaScript чтобы использовать эту форму.
Ваш вопрос
Email
Телефон
Отправляя форму вы подтверждаете согласие с
политикой обработки персональных данных
.
Отправить
Оставьте это поле пустым