Каталог запчастей
Запчасти Камаз
Запчасти Урал
Спецпредложения
О компании
Контакты
+7 (3513) 289-777
Отправить готовую заявку
Группа компаний A-GROUP
Каталог
Запчасти УРАЛ
Запчасти КАМАЗ
Двигатель
Система питания
Система выпуска газов
Система охлаждения
Механизмы управления
Рулевое управление
Тормозная система
Кабина и кузов
Кабина
Оперение кабины
Платформа и кузов
Трансмиссия
Коробка передач
Коробка раздаточная
Сцепление
Карданная передача
Мосты
Ходовая часть
Колеса и ступицы
Ось передняя
Подвеска
Рама
Электрооборудование
Приборы
Специальное оборудование
Устройство седельно-сцепное
Лебедка
Газовое оборудование
Прочие запчасти
Инструмент и принадлежности
Рукава и РТИ
Крепеж
Подшипники
Запчасти двигателя
Система выпуска газов
Система охлаждения
Система питания
Кабина и оперение
Передок кабины
Оперение кабины
Боковина кабины
Двери кабины
Задок кабины
Основание кабины
Крыша кабины
Сиденья кабины
Вентиляция и отопление кабины
Трансмиссия
Коробка передач
Раздаточная коробка
Карданный вал
Сцепление
Передний мост
Средний мост
Задний мост
Ходовая часть
Рама
Подвеска балансирная
Колеса и ступицы
Механизмы управления
Рулевое управление
Тормозная система
Платформа
Электрооборудование
Приборы
Оборудование и инструменты
Коробка отбора мощности
Лебедка
Устройство седельно-сцепное
Инструменты
Поиск
Графические каталоги
0
Группа компаний A-GROUP
Поиск
0
+7 (3513) 289-777
Обратный звонок
Отправить готовую заявку
Группа компаний A-GROUP
0
Меню
Поиск
Каталог запчастей
Запчасти Камаз
Запчасти Урал
Спецпредложения
О компании
Контакты
Главная
Графические каталоги
КамАЗ
КамАЗ-4308
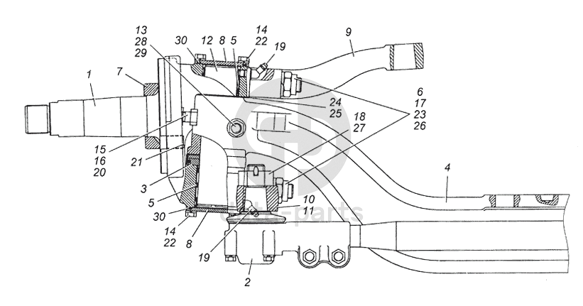
Ось передняя в сборе 4308-3000015
Ось передняя в сборе 4308-3000015 КамАЗ-4308
1
2
3
4
5
5
6
7
8
8
9
10
11
12
13
14
14
15
16
17
18
19
19
20
21
22
22
23
24
25
26
27
28
29
30
30
100
%
1
4308-3001012
Кулак поворотный в сборе
Кол-во
2
?
Узнать цену
4308-3001012
Кулак поворотный КАМАЗ-4308 в сборе
ПАО КАМАЗ
В наличии 2 шт.
51 493 ₽
В корзину
2
4308-3414052-10
Тяга рулевой трапеции в сборе
Кол-во
1
?
Оставить заявку
3
4308-3001024
Опорный подшипник
Кол-во
2
?
Узнать цену
4308-3001024
Подшипник шкворня КАМАЗ-4308 опорный
ПАО КАМАЗ
под заказ
2 685 ₽
В корзину
4
4308-3001010-10
Балка передней оси
Кол-во
1
?
Оставить заявку
5
53205-3001017
Втулка
Кол-во
4
?
Оставить заявку
6
5320-2919105
Втулка кронштейна
Кол-во
6
?
Узнать цену
5320-2919105
Втулка КАМАЗ кронштейна штанги реактивной
ПАО КАМАЗ
В наличии 100 шт.
29 ₽
В корзину
7
4308-3103050
Кольцо манжеты
Кол-во
2
?
Оставить заявку
8
6520-3001055
Крышка нижняя
Кол-во
4
?
Узнать цену
6520-3001055
Крышка нижняя
ПАО КАМАЗ
под заказ
456 ₽
В корзину
9
4308-3101035-10
Рычаг тяги сошки
Кол-во
1
?
Оставить заявку
10
4308-3001030
Рычаг поворотного кулака правый
Кол-во
1
?
Узнать цену
4308-3001030
Рычаг поворотного кулака
ПАО КАМАЗ
под заказ
5 942 ₽
В корзину
11
4308-3001031
Рычаг поворотного кулака левый
Кол-во
1
?
Узнать цену
4308-3001031
Рычаг поворотного кулака
ПАО КАМАЗ
В наличии 1 шт.
5 895 ₽
В корзину
12
4308-3001019
Шкворень
Кол-во
2
?
Узнать цену
4308-3001019
Шкворень КАМАЗ-4308 кулака поворотного
ПАО КАМАЗ
В наличии 11 шт.
3 920 ₽
В корзину
13
5320-3001025
Клин шкворня
Кол-во
2
?
Узнать цену
5320-3001025
Клин шкворня КАМАЗ
ПАО КАМАЗ
В наличии 359 шт.
155 ₽
В корзину
14
1/09024/21
Болт М6-6gх20
Кол-во
16
?
Оставить заявку
15
1/13762/21
Болт М16х1,5-6gх35
Кол-во
2
?
Оставить заявку
16
1/21641/11
Гайка М16х1,5-6Н
Кол-во
2
?
Оставить заявку
17
853528
Гайка М20х1,5-6Н
Кол-во
6
?
Узнать цену
853528
ГАЙКА М20Х1,5-6Н
АО АЗ Урал
под заказ
44 ₽
В корзину
18
853514
Гайка М24х1,5-6Н
Кол-во
2
?
Оставить заявку
19
864009
Масленка 2.3.45 Ц6хр. ГОСТ 19853-74
Кол-во
4
?
Оставить заявку
20
864307
Пробка транспортная
Кол-во
2
?
Оставить заявку
21
864308
Пробка транспортная
Кол-во
2
?
Оставить заявку
22
1/05164/77
Шайба 6 пружинная
Кол-во
16
?
Оставить заявку
23
1/05174/77
Шайба 20 пружинная
Кол-во
6
?
Оставить заявку
24
853638
Шайба плоская 46х80х1,5
Кол-во
2
?
Узнать цену
853638
Шайба КАМАЗ шкворня регулировочная h=1.00мм
ПАО КАМАЗ
В наличии 282 шт.
50 ₽
В корзину
25
853639
Шайба плоская 46х80х0,25 регулировочная
Кол-во
6
?
Узнать цену
853639
Шайба КАМАЗ шкворня регулировочная h=0.25мм
ПАО КАМАЗ
В наличии 50 шт.
52 ₽
В корзину
26
853305
Шпилька М20х1,5-6gх28х60
Кол-во
6
?
Узнать цену
853305
ШПИЛЬКА М20Х1.5Х60
АО АЗ Урал
под заказ
168 ₽
В корзину
27
1/07350/01
Шплинт 4,7х50
Кол-во
2
?
Оставить заявку
28
1/61015/11
Гайка М12х1,25-6Н
Кол-во
2
?
Оставить заявку
29
1/05170/77
Шайба 12 пружинная
Кол-во
2
?
Оставить заявку
30
2108-1003284
Кольцо уплотнительное
Кол-во
4
?
Оставить заявку
Нужна помощь в подборе запчастей?
Напишите нам и оставьте ваши контактные данные. Мы перезвоним вам в течение 30 минут или раньше!
Кратвольд Елена
Менеджер по продажам
7 (3513) 289-777
koleso787@bk.ru
Вы должны включить JavaScript чтобы использовать эту форму.
Ваш вопрос
Email
Телефон
Отправляя форму вы подтверждаете согласие с
политикой обработки персональных данных
.
Отправить
Оставьте это поле пустым