Каталог запчастей
Запчасти Камаз
Запчасти Урал
Спецпредложения
О компании
Контакты
+7 (3513) 289-777
Отправить готовую заявку
Группа компаний A-GROUP
Каталог
Запчасти УРАЛ
Запчасти КАМАЗ
Двигатель
Система питания
Система выпуска газов
Система охлаждения
Механизмы управления
Рулевое управление
Тормозная система
Кабина и кузов
Кабина
Оперение кабины
Платформа и кузов
Трансмиссия
Коробка передач
Коробка раздаточная
Сцепление
Карданная передача
Мосты
Ходовая часть
Колеса и ступицы
Ось передняя
Подвеска
Рама
Электрооборудование
Приборы
Специальное оборудование
Устройство седельно-сцепное
Лебедка
Газовое оборудование
Прочие запчасти
Инструмент и принадлежности
Рукава и РТИ
Крепеж
Подшипники
Запчасти двигателя
Система выпуска газов
Система охлаждения
Система питания
Кабина и оперение
Передок кабины
Оперение кабины
Боковина кабины
Двери кабины
Задок кабины
Основание кабины
Крыша кабины
Сиденья кабины
Вентиляция и отопление кабины
Трансмиссия
Коробка передач
Раздаточная коробка
Карданный вал
Сцепление
Передний мост
Средний мост
Задний мост
Ходовая часть
Рама
Подвеска балансирная
Колеса и ступицы
Механизмы управления
Рулевое управление
Тормозная система
Платформа
Электрооборудование
Приборы
Оборудование и инструменты
Коробка отбора мощности
Лебедка
Устройство седельно-сцепное
Инструменты
Поиск
Графические каталоги
0
Группа компаний A-GROUP
Поиск
0
+7 (3513) 289-777
Обратный звонок
Отправить готовую заявку
Группа компаний A-GROUP
0
Меню
Поиск
Каталог запчастей
Запчасти Камаз
Запчасти Урал
Спецпредложения
О компании
Контакты
Главная
Графические каталоги
КамАЗ
КамАЗ-4308
Вал вторичный коробки передач 141.1701100-20
Вал вторичный коробки передач 141.1701100-20 КамАЗ-4308
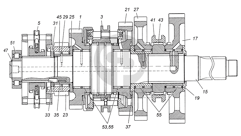
1
3
5
15
17
19
21
23
25
27
29
31
33
35
37
41
43
45
47
51
53
55
55
100
%
1
141.1701130
Шестерня 3-й передачи вторичного вала
Кол-во
1
?
Узнать цену
141.1701130
Шестерня КПП УРАЛ 3-й передачи вала вторичного
ПАО КАМАЗ
под заказ
12 034 ₽
В корзину
3
14.1701150
Синхронизатор второй и третьей передачи в сборе
Кол-во
1
?
Узнать цену
14.1701150
Синхронизатор КАМАЗ 2-3 передачи
ПАО КАМАЗ
В наличии 1 шт.
12 768 ₽
В корзину
5
142.1701151
Синхронизатор четвертой и пятой передач в сборе
Кол-во
1
?
Узнать цену
142.1701151
Синхронизатор КАМАЗ 4-5 передачи
ПАО КАМАЗ
В наличии 24 шт.
11 279 ₽
В корзину
15
142.1701105
Вал вторичный
Кол-во
1
?
Узнать цену
142.1701105
Вал КПП КАМАЗ вторичный
ПАО КАМАЗ
В наличии 4 шт.
22 396 ₽
В корзину
17
14.1701112
Шестерня первой передачи
Кол-во
1
?
Узнать цену
14.1701112
Шестерня КПП КАМАЗ 1-й передачи вала вторичного
ПАО КАМАЗ
В наличии 4 шт.
11 542 ₽
В корзину
19
14.1701122
Шайба упорная
Кол-во
1
?
Узнать цену
14.1701122
Шайба КАМАЗ упорная вала вторичного КПП
ПАО КАМАЗ
В наличии 8 шт.
528 ₽
В корзину
21
14.1701127
Шестерня второй передачи
Кол-во
1
?
Узнать цену
14.1701127
Шестерня КПП КАМАЗ 2-й передачи вала вторичного
ПАО КАМАЗ
В наличии 2 шт.
8 159 ₽
В корзину
23
141.1701132-20
Шестерня 5-й передачи вторичного вала
Кол-во
1
?
Узнать цену
141.1701132-20
Шестерня КПП КАМАЗ-4308 ЛИАЗ 5-й передачи вала вторичного
ПАО КАМАЗ
под заказ
6 400 ₽
В корзину
25
14.1701139
Втулка шестерни четвертой передачи
Кол-во
1
?
Узнать цену
14.1701139
Втулка КАМАЗ шестерни 4-ой передачи вала вторичного
ПАО КАМАЗ
под заказ
1 275 ₽
В корзину
27
14.1701140
Шестерня заднего хода
Кол-во
1
?
Узнать цену
14.1701140
Шестерня КПП КАМАЗ заднего хода вала вторичного КПП-14 152 154
ПАО КАМАЗ
под заказ
8 398 ₽
В корзину
29
14.1701143
Втулка промежуточная роликов шестерни четвертой передачи
Кол-во
1
?
Узнать цену
14.1701143
Втулка КАМАЗ промежуточная роликов шестерни 4-й передачи
ПАО КАМАЗ
В наличии 6 шт.
219 ₽
В корзину
31
141.1701144
Шайба упорная шестерни 5-й передачи вторичного вала
Кол-во
1
?
Узнать цену
141.1701144
Шайба
ПАО КАМАЗ
под заказ
1 812 ₽
В корзину
33
14.1701145
Шпонка замковая упорной шайбы
Кол-во
1
?
Узнать цену
14.1701145
Шпонка
ПАО КАМАЗ
под заказ
85 ₽
В корзину
35
14.1701146
Пружина замковой шпонки
Кол-во
1
?
Оставить заявку
37
14.1701278
Втулка шестерни заднего хода
Кол-во
1
?
Узнать цену
14.1701278
Втулка КАМАЗ шестерни заднего хода КПП
ПАО КАМАЗ
В наличии 3 шт.
1 255 ₽
В корзину
41
14.1701280
Муфта включения первой передачи заднего хода
Кол-во
1
?
Оставить заявку
43
14.1701282
Втулка шестерни первой передачи
Кол-во
1
?
Оставить заявку
45
14.1701285
Ролик 5,5х15,8
Кол-во
88
?
Оставить заявку
47
14.1701067
Кольцо В40 ГОСТ 13941-86
Кол-во
1
?
Оставить заявку
51
4622536668
Подшипник 76-592708М1 роликовый радиальный с короткими цилиндрическими роликами
Кол-во
1
?
Оставить заявку
53
4625832411
Подшипник 664916Е роликовый радиальный с длинными цилиндрическими роликами двухрядный без колец
Кол-во
2
?
Оставить заявку
55
4525832408
Подшипник 664916Д роликовый радиальный с длинными цилиндрическими роликами двухрядный без колец
Кол-во
4
?
Оставить заявку
Нужна помощь в подборе запчастей?
Напишите нам и оставьте ваши контактные данные. Мы перезвоним вам в течение 30 минут или раньше!
Кратвольд Елена
Менеджер по продажам
7 (3513) 289-777
koleso787@bk.ru
Вы должны включить JavaScript чтобы использовать эту форму.
Ваш вопрос
Email
Телефон
Отправляя форму вы подтверждаете согласие с
политикой обработки персональных данных
.
Отправить
Оставьте это поле пустым