Каталог запчастей
Запчасти Камаз
Запчасти Урал
Спецпредложения
О компании
Контакты
+7 (3513) 289-777
Отправить готовую заявку
Группа компаний A-GROUP
Каталог
Запчасти УРАЛ
Запчасти КАМАЗ
Двигатель
Система питания
Система выпуска газов
Система охлаждения
Механизмы управления
Рулевое управление
Тормозная система
Кабина и кузов
Кабина
Оперение кабины
Платформа и кузов
Трансмиссия
Коробка передач
Коробка раздаточная
Сцепление
Карданная передача
Мосты
Ходовая часть
Колеса и ступицы
Ось передняя
Подвеска
Рама
Электрооборудование
Приборы
Специальное оборудование
Устройство седельно-сцепное
Лебедка
Газовое оборудование
Прочие запчасти
Инструмент и принадлежности
Рукава и РТИ
Крепеж
Подшипники
Запчасти двигателя
Система выпуска газов
Система охлаждения
Система питания
Кабина и оперение
Передок кабины
Оперение кабины
Боковина кабины
Двери кабины
Задок кабины
Основание кабины
Крыша кабины
Сиденья кабины
Вентиляция и отопление кабины
Трансмиссия
Коробка передач
Раздаточная коробка
Карданный вал
Сцепление
Передний мост
Средний мост
Задний мост
Ходовая часть
Рама
Подвеска балансирная
Колеса и ступицы
Механизмы управления
Рулевое управление
Тормозная система
Платформа
Электрооборудование
Приборы
Оборудование и инструменты
Коробка отбора мощности
Лебедка
Устройство седельно-сцепное
Инструменты
Поиск
Графические каталоги
0
Группа компаний A-GROUP
Поиск
0
+7 (3513) 289-777
Обратный звонок
Отправить готовую заявку
Группа компаний A-GROUP
0
Меню
Поиск
Каталог запчастей
Запчасти Камаз
Запчасти Урал
Спецпредложения
О компании
Контакты
Главная
Графические каталоги
КамАЗ
КамАЗ-4308
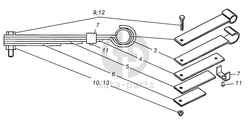
Рессора кабины в сборе 5320-5001080
Рессора кабины в сборе 5320-5001080 КамАЗ-4308
2
3
4
5
6
7
7
9
10
11
11
12
13
100
%
2
5320-5001085
Лист №1
Кол-во
1
?
Оставить заявку
3
5320-5001087
Лист №2
Кол-во
1
?
Оставить заявку
4
5320-5001089
Лист №3
Кол-во
1
?
Оставить заявку
5
5320-5001087
Лист №2
Кол-во
0
?
Оставить заявку
6
5320-5001093
Лист №5
Кол-во
1
?
Оставить заявку
7
5320-5001095
Хомут листа
Кол-во
1
?
Оставить заявку
9
1/13069/21
Болт М10х1,25-6gх30
Кол-во
1
?
Оставить заявку
10
1/21647/11
Гайка М10х1,25-6Н
Кол-во
1
?
Оставить заявку
11
1/05351/00
Заклепка 6х12
Кол-во
1
?
Оставить заявку
12
Болт М10х1,25-6gх30. 109.016 ГОСТ 7798-70
Болт М10х1,25-6gх30. 109.016 ГОСТ 7798-70
Кол-во
1
?
Оставить заявку
13
Гайка М10х1,25-6Н.4.016 ГОСТ 5915-70
Гайка М10х1,25-6Н.4.016 ГОСТ 5915-70
Кол-во
2
?
Оставить заявку
Нужна помощь в подборе запчастей?
Напишите нам и оставьте ваши контактные данные. Мы перезвоним вам в течение 30 минут или раньше!
Кратвольд Елена
Менеджер по продажам
7 (3513) 289-777
koleso787@bk.ru
Вы должны включить JavaScript чтобы использовать эту форму.
Ваш вопрос
Email
Телефон
Отправляя форму вы подтверждаете согласие с
политикой обработки персональных данных
.
Отправить
Оставьте это поле пустым