Каталог запчастей
Запчасти Камаз
Запчасти Урал
Спецпредложения
О компании
Контакты
+7 (3513) 289-777
Отправить готовую заявку
Группа компаний A-GROUP
Каталог
Запчасти УРАЛ
Запчасти КАМАЗ
Двигатель
Система питания
Система выпуска газов
Система охлаждения
Механизмы управления
Рулевое управление
Тормозная система
Кабина и кузов
Кабина
Оперение кабины
Платформа и кузов
Трансмиссия
Коробка передач
Коробка раздаточная
Сцепление
Карданная передача
Мосты
Ходовая часть
Колеса и ступицы
Ось передняя
Подвеска
Рама
Электрооборудование
Приборы
Специальное оборудование
Устройство седельно-сцепное
Лебедка
Газовое оборудование
Прочие запчасти
Инструмент и принадлежности
Рукава и РТИ
Крепеж
Подшипники
Запчасти двигателя
Система выпуска газов
Система охлаждения
Система питания
Кабина и оперение
Передок кабины
Оперение кабины
Боковина кабины
Двери кабины
Задок кабины
Основание кабины
Крыша кабины
Сиденья кабины
Вентиляция и отопление кабины
Трансмиссия
Коробка передач
Раздаточная коробка
Карданный вал
Сцепление
Передний мост
Средний мост
Задний мост
Ходовая часть
Рама
Подвеска балансирная
Колеса и ступицы
Механизмы управления
Рулевое управление
Тормозная система
Платформа
Электрооборудование
Приборы
Оборудование и инструменты
Коробка отбора мощности
Лебедка
Устройство седельно-сцепное
Инструменты
Поиск
Графические каталоги
0
Группа компаний A-GROUP
Поиск
0
+7 (3513) 289-777
Обратный звонок
Отправить готовую заявку
Группа компаний A-GROUP
0
Меню
Поиск
Каталог запчастей
Запчасти Камаз
Запчасти Урал
Спецпредложения
О компании
Контакты
Главная
Графические каталоги
КамАЗ
КамАЗ-65226
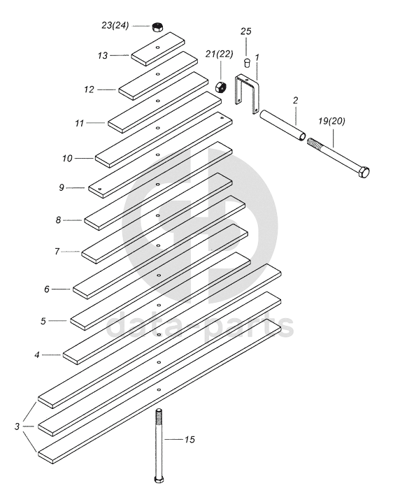
6520-2912012 Рессора задняя
6520-2912012 Рессора задняя КамАЗ-65226
1
2
3
4
5
6
7
8
9
10
11
12
13
15
19
20
21
22
23
24
25
100
%
1
6520-2912060
Хомут
Кол-во
2
?
Оставить заявку
2
6520-2912068
Втулка распорная
Кол-во
2
?
Оставить заявку
3
6520-2912101
Лист задней рессоры
Кол-во
3
?
Оставить заявку
4
6520-2912104
Лист задней рессоры
Кол-во
1
?
Оставить заявку
5
6520-2912105
Лист задней рессоры
Кол-во
1
?
Оставить заявку
6
6520-2912106
Лист задней рессоры
Кол-во
1
?
Оставить заявку
7
6520-2912107
Лист задней рессоры
Кол-во
1
?
Оставить заявку
8
6520-2912108
Лист задней рессоры
Кол-во
1
?
Оставить заявку
9
6520-2912109
Лист задней рессоры
Кол-во
1
?
Оставить заявку
10
6520-2912110
Лист задней рессоры
Кол-во
1
?
Оставить заявку
11
6520-2912111
Лист задней рессоры
Кол-во
1
?
Оставить заявку
12
6520-2912112
Лист задней рессоры
Кол-во
1
?
Оставить заявку
13
6520-2912113
Лист задней рессоры
Кол-во
1
?
Оставить заявку
15
6520-2912132
Болт рессоры М16х1,5-6gх305
Кол-во
1
?
Оставить заявку
19
БолтМ10x1,25
Болт
Кол-во
2
?
Оставить заявку
20
1/59724/31
Болт М10х1,25-6gх130
Кол-во
2
?
Оставить заявку
21
ГайкаМ10x1,25
Гайка
Кол-во
2
?
Оставить заявку
22
1/21647/11
Гайка М10х1,25-6Н
Кол-во
2
?
Оставить заявку
23
ГайкаМ16x1,5
Гайка
Кол-во
1
?
Оставить заявку
24
1/21641/21
Гайка М16х1,5-6Н
Кол-во
1
?
Оставить заявку
25
Заклепка12x40.01.10.01
Заклепка
Кол-во
2
?
Оставить заявку
Нужна помощь в подборе запчастей?
Напишите нам и оставьте ваши контактные данные. Мы перезвоним вам в течение 30 минут или раньше!
Кратвольд Елена
Менеджер по продажам
7 (3513) 289-777
koleso787@bk.ru
Вы должны включить JavaScript чтобы использовать эту форму.
Ваш вопрос
Email
Телефон
Отправляя форму вы подтверждаете согласие с
политикой обработки персональных данных
.
Отправить
Оставьте это поле пустым