Каталог запчастей
Запчасти Камаз
Запчасти Урал
Спецпредложения
О компании
Контакты
+7 (3513) 289-777
Отправить готовую заявку
Группа компаний A-GROUP
Каталог
Запчасти УРАЛ
Запчасти КАМАЗ
Двигатель
Система питания
Система выпуска газов
Система охлаждения
Механизмы управления
Рулевое управление
Тормозная система
Кабина и кузов
Кабина
Оперение кабины
Платформа и кузов
Трансмиссия
Коробка передач
Коробка раздаточная
Сцепление
Карданная передача
Мосты
Ходовая часть
Колеса и ступицы
Ось передняя
Подвеска
Рама
Электрооборудование
Приборы
Специальное оборудование
Устройство седельно-сцепное
Лебедка
Газовое оборудование
Прочие запчасти
Инструмент и принадлежности
Рукава и РТИ
Крепеж
Подшипники
Запчасти двигателя
Система выпуска газов
Система охлаждения
Система питания
Кабина и оперение
Передок кабины
Оперение кабины
Боковина кабины
Двери кабины
Задок кабины
Основание кабины
Крыша кабины
Сиденья кабины
Вентиляция и отопление кабины
Трансмиссия
Коробка передач
Раздаточная коробка
Карданный вал
Сцепление
Передний мост
Средний мост
Задний мост
Ходовая часть
Рама
Подвеска балансирная
Колеса и ступицы
Механизмы управления
Рулевое управление
Тормозная система
Платформа
Электрооборудование
Приборы
Оборудование и инструменты
Коробка отбора мощности
Лебедка
Устройство седельно-сцепное
Инструменты
Поиск
Графические каталоги
0
Группа компаний A-GROUP
Поиск
0
+7 (3513) 289-777
Обратный звонок
Отправить готовую заявку
Группа компаний A-GROUP
0
Меню
Поиск
Каталог запчастей
Запчасти Камаз
Запчасти Урал
Спецпредложения
О компании
Контакты
Главная
Графические каталоги
КамАЗ
КамАЗ-65226
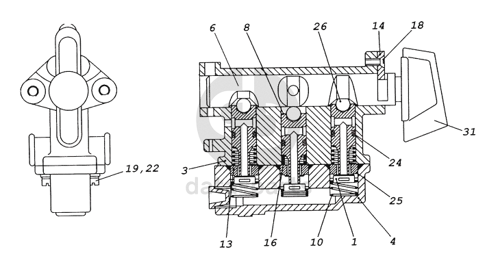
63501-1804010-10 Кран управления раздаточной коробки
63501-1804010-10 Кран управления раздаточной коробки КамАЗ-65226
1
3
4
6
8
10
13
14
16
18
19
22
24
25
26
31
100
%
1
5320-2511076
Клапан крана в сборе
Кол-во
3
?
Оставить заявку
3
63501-1804012
Корпус крана
Кол-во
1
?
Оставить заявку
4
63501-1804014
Крышка
Кол-во
1
?
Оставить заявку
6
63501-1804018-10
Вал кулачковый
Кол-во
1
?
Оставить заявку
8
63501-1804030
Шток
Кол-во
3
?
Оставить заявку
10
5320-2511069
Пружина клапана
Кол-во
3
?
Оставить заявку
13
5320-2511079
Седло клапана
Кол-во
3
?
Оставить заявку
14
55112-8606322
Упор
Кол-во
1
?
Оставить заявку
15
55112-8606332
Пружина
Кол-во
1
?
Оставить заявку
16
55112-8606334
Пружина штока
Кол-во
3
?
Оставить заявку
18
1/32973/01
Винт М4-6gх10
Кол-во
2
?
Оставить заявку
19
1/03767/01
Винт М6-6gх16
Кол-во
4
?
Оставить заявку
22
1/05164/77
Шайба 6 пружинная
Кол-во
4
?
Оставить заявку
24
864210
Кольцо уплотнительное
Кол-во
3
?
Оставить заявку
25
864211
Кольцо уплотнительное
Кол-во
3
?
Оставить заявку
26
864711
Шарик-фиксатор БV7.938 мм
Кол-во
3
?
Оставить заявку
27
864309
Пробка транспортная
Кол-во
4
?
Оставить заявку
28
870837
Заглушка
Кол-во
1
?
Оставить заявку
31
П602-3709290
Ручка
Кол-во
1
?
Оставить заявку
Нужна помощь в подборе запчастей?
Напишите нам и оставьте ваши контактные данные. Мы перезвоним вам в течение 30 минут или раньше!
Кратвольд Елена
Менеджер по продажам
7 (3513) 289-777
koleso787@bk.ru
Вы должны включить JavaScript чтобы использовать эту форму.
Ваш вопрос
Email
Телефон
Отправляя форму вы подтверждаете согласие с
политикой обработки персональных данных
.
Отправить
Оставьте это поле пустым