Каталог запчастей
Запчасти Камаз
Запчасти Урал
Спецпредложения
О компании
Контакты
+7 (3513) 289-777
Отправить готовую заявку
Группа компаний A-GROUP
Каталог
Запчасти УРАЛ
Запчасти КАМАЗ
Двигатель
Система питания
Система выпуска газов
Система охлаждения
Механизмы управления
Рулевое управление
Тормозная система
Кабина и кузов
Кабина
Оперение кабины
Платформа и кузов
Трансмиссия
Коробка передач
Коробка раздаточная
Сцепление
Карданная передача
Мосты
Ходовая часть
Колеса и ступицы
Ось передняя
Подвеска
Рама
Электрооборудование
Приборы
Специальное оборудование
Устройство седельно-сцепное
Лебедка
Газовое оборудование
Прочие запчасти
Инструмент и принадлежности
Рукава и РТИ
Крепеж
Подшипники
Запчасти двигателя
Система выпуска газов
Система охлаждения
Система питания
Кабина и оперение
Передок кабины
Оперение кабины
Боковина кабины
Двери кабины
Задок кабины
Основание кабины
Крыша кабины
Сиденья кабины
Вентиляция и отопление кабины
Трансмиссия
Коробка передач
Раздаточная коробка
Карданный вал
Сцепление
Передний мост
Средний мост
Задний мост
Ходовая часть
Рама
Подвеска балансирная
Колеса и ступицы
Механизмы управления
Рулевое управление
Тормозная система
Платформа
Электрооборудование
Приборы
Оборудование и инструменты
Коробка отбора мощности
Лебедка
Устройство седельно-сцепное
Инструменты
Поиск
Графические каталоги
0
Группа компаний A-GROUP
Поиск
0
+7 (3513) 289-777
Обратный звонок
Отправить готовую заявку
Группа компаний A-GROUP
0
Меню
Поиск
Каталог запчастей
Запчасти Камаз
Запчасти Урал
Спецпредложения
О компании
Контакты
Главная
Графические каталоги
КамАЗ
КамАЗ-53605 (Евро-4)
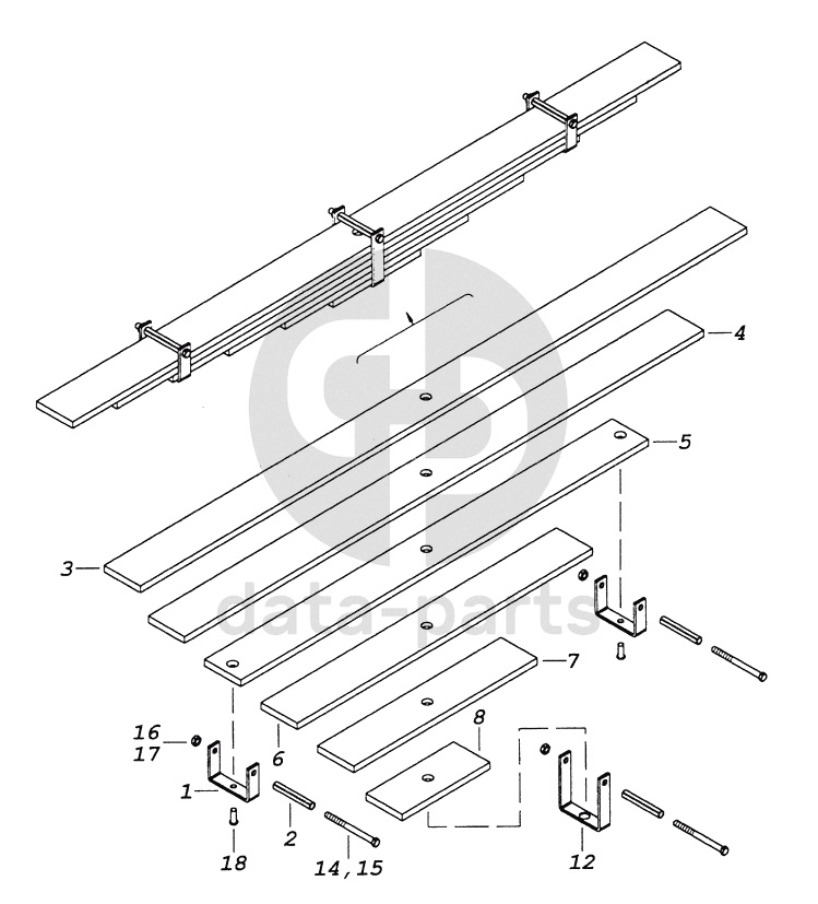
5425-2913012-01 Рессора задняя дополнительная
5425-2913012-01 Рессора задняя дополнительная КамАЗ-53605 (Евро-4)
1
2
3
4
5
6
7
8
12
14
15
16
17
18
100
%
1
5425-2913060-01
Хомут
Кол-во
2
?
Оставить заявку
2
5320-2912068
Втулка распорная
Кол-во
2
?
Оставить заявку
3
5425-2913101-01
Лист рессоры
Кол-во
1
?
Оставить заявку
4
5425-2913102-01
Лист рессоры
Кол-во
1
?
Оставить заявку
5
5425-2913103-01
Лист рессоры
Кол-во
1
?
Оставить заявку
6
5425-2913104-01
Лист рессоры
Кол-во
1
?
Оставить заявку
7
5425-2913105-01
Лист рессоры
Кол-во
1
?
Оставить заявку
8
5425-2913106-01
Лист рессоры
Кол-во
1
?
Оставить заявку
12
5425-2912149-01
Хомут стяжной
Кол-во
1
?
Оставить заявку
14
45104991000100
Болт М10х1,25-6gх120.88.016 ГОСТ7798-80
Кол-во
3
?
Оставить заявку
15
1/59722/21
Болт М10х1,25-6gх120
Кол-во
3
?
Оставить заявку
16
45104993001000
Гайка М10х1,25-6Н 6.016 ГОСТ 5915-70
Кол-во
3
?
Оставить заявку
17
1/21647/11
Гайка М10х1,25-6Н
Кол-во
3
?
Оставить заявку
18
45104994100100
Заклепка 10х26.01.10.01 ГОСТ 10299-80
Кол-во
2
?
Оставить заявку
Нужна помощь в подборе запчастей?
Напишите нам и оставьте ваши контактные данные. Мы перезвоним вам в течение 30 минут или раньше!
Кратвольд Елена
Менеджер по продажам
7 (3513) 289-777
koleso787@bk.ru
Вы должны включить JavaScript чтобы использовать эту форму.
Ваш вопрос
Email
Телефон
Отправляя форму вы подтверждаете согласие с
политикой обработки персональных данных
.
Отправить
Оставьте это поле пустым