Каталог запчастей
Запчасти Камаз
Запчасти Урал
Спецпредложения
О компании
Контакты
+7 (3513) 289-777
Отправить готовую заявку
Группа компаний A-GROUP
Каталог
Запчасти УРАЛ
Запчасти КАМАЗ
Двигатель
Система питания
Система выпуска газов
Система охлаждения
Механизмы управления
Рулевое управление
Тормозная система
Кабина и кузов
Кабина
Оперение кабины
Платформа и кузов
Трансмиссия
Коробка передач
Коробка раздаточная
Сцепление
Карданная передача
Мосты
Ходовая часть
Колеса и ступицы
Ось передняя
Подвеска
Рама
Электрооборудование
Приборы
Специальное оборудование
Устройство седельно-сцепное
Лебедка
Газовое оборудование
Прочие запчасти
Инструмент и принадлежности
Рукава и РТИ
Крепеж
Подшипники
Запчасти двигателя
Система выпуска газов
Система охлаждения
Система питания
Кабина и оперение
Передок кабины
Оперение кабины
Боковина кабины
Двери кабины
Задок кабины
Основание кабины
Крыша кабины
Сиденья кабины
Вентиляция и отопление кабины
Трансмиссия
Коробка передач
Раздаточная коробка
Карданный вал
Сцепление
Передний мост
Средний мост
Задний мост
Ходовая часть
Рама
Подвеска балансирная
Колеса и ступицы
Механизмы управления
Рулевое управление
Тормозная система
Платформа
Электрооборудование
Приборы
Оборудование и инструменты
Коробка отбора мощности
Лебедка
Устройство седельно-сцепное
Инструменты
Поиск
Графические каталоги
0
Группа компаний A-GROUP
Поиск
0
+7 (3513) 289-777
Обратный звонок
Отправить готовую заявку
Группа компаний A-GROUP
0
Меню
Поиск
Каталог запчастей
Запчасти Камаз
Запчасти Урал
Спецпредложения
О компании
Контакты
Главная
Графические каталоги
КамАЗ
КамАЗ-43255 (Евро-2)
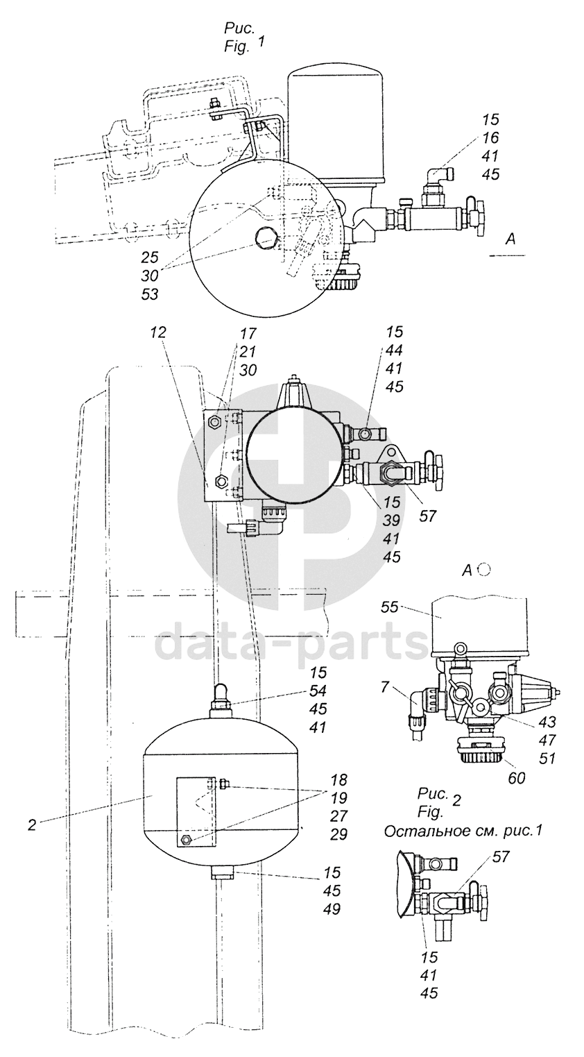
65115-3500011-46 Установка осушителя
65115-3500011-46 Установка осушителя КамАЗ-43255 (Евро-2)
2
7
7
12
15
15
15
15
15
15
16
17
18
19
21
25
27
29
30
30
39
41
41
41
41
41
43
44
45
45
45
45
45
45
47
49
51
53
54
55
55
57
57
57
60
100
%
2
65115-3511013
Ресивер регенерационный
Кол-во
1
?
Узнать цену
65115-3511013
Ресивер регенерационный
ПАО КАМАЗ
под заказ
3 123 ₽
В корзину
7
54115-3724048-74
Соединительный кабель
Кол-во
1
?
Оставить заявку
7
54115-3724048-22
Соединительный кабель
Кол-во
1
?
Оставить заявку
12
53205-3511021
Кронштейн
Кол-во
1
?
Узнать цену
53205-3511021
Кронштейн
ПАО КАМАЗ
В наличии 1 шт.
2 137 ₽
В корзину
15
740,1003439
Кольцо уплотнительное
Кол-во
6
?
Оставить заявку
16
53205-3511020
Угольник
Кол-во
1
?
Узнать цену
53205-3511020
Угольник КАМАЗ М22х22 влагоотделителя ввертный
ПАО КАМАЗ
под заказ
690 ₽
В корзину
17
1/55404/21
Болт М12х1,25-6gх30
Кол-во
2
?
Оставить заявку
18
1/60436/21
Болт М8-6gх25
Кол-во
2
?
Оставить заявку
19
1/61008/11
Гайка М8х1,25-6Н
Кол-во
2
?
Оставить заявку
21
1/61015/11
Гайка М12х1,25-6Н
Кол-во
2
?
Оставить заявку
25
1/07912/11
Гайка низкая М12х1,5-6Н
Кол-во
3
?
Оставить заявку
27
1/26470/01
Шайба плоская 8,45х25х2,5
Кол-во
2
?
Оставить заявку
29
1/05164/77
Шайба 6 пружинная
Кол-во
2
?
Оставить заявку
30
1/05170/77
Шайба 12 пружинная
Кол-во
5
?
Оставить заявку
39
861017
Штуцер проходной
Кол-во
1
?
Оставить заявку
41
861021
Гайка М22х1,5-6Н
Кол-во
4
?
Узнать цену
861021
Гайка М22х1.5 клапана контрольного крана тормозного
ПАО КАМАЗ
В наличии 97 шт.
135 ₽
В корзину
43
861022
Шайба 10
Кол-во
1
?
Узнать цену
861022
Шайба
ПАО КАМАЗ
под заказ
45 ₽
В корзину
44
861032
Тройник
Кол-во
1
?
Узнать цену
861032
Тройник
ПАО КАМАЗ
под заказ
761 ₽
В корзину
45
861024
Шайба
Кол-во
6
?
Узнать цену
861024
Шайба
ПАО КАМАЗ
В наличии 100 шт.
15 ₽
В корзину
47
864204
Кольцо уплотнительное
Кол-во
1
?
Оставить заявку
49
864323
Пробка М22х1,5-6Н
Кол-во
1
?
Оставить заявку
51
864894
Штуцер ввертный
Кол-во
1
?
Узнать цену
864894
Штуцер КАМАЗ проходной М12х14х1.5 (нп)
ПАО КАМАЗ
под заказ
120 ₽
В корзину
53
853323
Шпилька
Кол-во
3
?
Узнать цену
853323
Шпилька
ПАО КАМАЗ
под заказ
161 ₽
В корзину
54
861005
Угольник ввертный
Кол-во
1
?
Узнать цену
861005
Угольник КАМАЗ М14х22
ПАО КАМАЗ
В наличии 5 шт.
742 ₽
В корзину
55
45104351100190
Осушитель LА 6273
Кол-во
1
?
Оставить заявку
55
45104351100790
Осушитель 432.410.102.0
Кол-во
1
?
Оставить заявку
57
45104351100590
Клапан накачки шин 463.711.100.0
Кол-во
1
?
Оставить заявку
57
45104351100390
Клапан накачки шин ZВ3167
Кол-во
1
?
Оставить заявку
60
45104350600200
Глушитель 8089.00.00.000
Кол-во
1
?
Оставить заявку
Нужна помощь в подборе запчастей?
Напишите нам и оставьте ваши контактные данные. Мы перезвоним вам в течение 30 минут или раньше!
Кратвольд Елена
Менеджер по продажам
7 (3513) 289-777
koleso787@bk.ru
Вы должны включить JavaScript чтобы использовать эту форму.
Ваш вопрос
Email
Телефон
Отправляя форму вы подтверждаете согласие с
политикой обработки персональных данных
.
Отправить
Оставьте это поле пустым