Каталог запчастей
Запчасти Камаз
Запчасти Урал
Спецпредложения
О компании
Контакты
+7 (3513) 289-777
Отправить готовую заявку
Группа компаний A-GROUP
Каталог
Запчасти УРАЛ
Запчасти КАМАЗ
Двигатель
Система питания
Система выпуска газов
Система охлаждения
Механизмы управления
Рулевое управление
Тормозная система
Кабина и кузов
Кабина
Оперение кабины
Платформа и кузов
Трансмиссия
Коробка передач
Коробка раздаточная
Сцепление
Карданная передача
Мосты
Ходовая часть
Колеса и ступицы
Ось передняя
Подвеска
Рама
Электрооборудование
Приборы
Специальное оборудование
Устройство седельно-сцепное
Лебедка
Газовое оборудование
Прочие запчасти
Инструмент и принадлежности
Рукава и РТИ
Крепеж
Подшипники
Запчасти двигателя
Система выпуска газов
Система охлаждения
Система питания
Кабина и оперение
Передок кабины
Оперение кабины
Боковина кабины
Двери кабины
Задок кабины
Основание кабины
Крыша кабины
Сиденья кабины
Вентиляция и отопление кабины
Трансмиссия
Коробка передач
Раздаточная коробка
Карданный вал
Сцепление
Передний мост
Средний мост
Задний мост
Ходовая часть
Рама
Подвеска балансирная
Колеса и ступицы
Механизмы управления
Рулевое управление
Тормозная система
Платформа
Электрооборудование
Приборы
Оборудование и инструменты
Коробка отбора мощности
Лебедка
Устройство седельно-сцепное
Инструменты
Поиск
Графические каталоги
0
Группа компаний A-GROUP
Поиск
0
+7 (3513) 289-777
Обратный звонок
Отправить готовую заявку
Группа компаний A-GROUP
0
Меню
Поиск
Каталог запчастей
Запчасти Камаз
Запчасти Урал
Спецпредложения
О компании
Контакты
Главная
Графические каталоги
КамАЗ
КамАЗ-5308 (Евро 3)
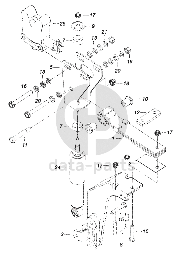
5308-5001008-20 Задняя подвеска правая (левая)
5308-5001008-20 Задняя подвеска правая (левая) КамАЗ-5308 (Евро 3)
1
2
3
3
5
5
7
7
8
9
10
11
12
13
13
15
15
16
17
17
17
18
19
20
20
21
24
24
24
25
25
100
%
1
5320-5001080
Рессора в сборе
Кол-во
1
?
Оставить заявку
2
4310-5001105
Прокладка листа рессоры №5
Кол-во
1
?
Узнать цену
4310-5001105
Прокладка
ПАО КАМАЗ
под заказ
149 ₽
В корзину
3
5308-5001155
Кронштейн амортизатора левый
Кол-во
1
?
Узнать цену
5308-5001155
Кронштейн амортизатора
ПАО КАМАЗ
под заказ
12 245 ₽
В корзину
3
5308-5001154
Кронштейн амортизатора правый
Кол-во
1
?
Узнать цену
5308-5001154
Кронштейн амортизатора
ПАО КАМАЗ
под заказ
12 245 ₽
В корзину
5
5308-5001104-29
Обойма рессоры
Кол-во
1
?
Узнать цену
5308-5001104-29
Обойма рессоры
ПАО КАМАЗ
под заказ
1 654 ₽
В корзину
5
5308-5001105-29
Обойма рессоры
Кол-во
1
?
Узнать цену
5308-5001105-29
Обойма рессоры
ПАО КАМАЗ
под заказ
1 654 ₽
В корзину
7
5320-1302037
Подушка крепления радиатора
Кол-во
2
?
Оставить заявку
8
5320-5001058
Стремянка
Кол-во
1
?
Узнать цену
5320-5001058
Стремянка КАМАЗ рессоры кабины
ПАО КАМАЗ
В наличии 20 шт.
128 ₽
В корзину
9
5320-5001079
Шайба опорная
Кол-во
1
?
Узнать цену
5320-5001079
Шайба
ПАО КАМАЗ
под заказ
46 ₽
В корзину
10
5320-5001099
Втулка рессоры
Кол-во
2
?
Оставить заявку
11
5320-5001103
Ось ушка рессоры
Кол-во
1
?
Оставить заявку
12
53205-5001097
Прокладка рессоры
Кол-во
1
?
Узнать цену
53205-5001097
Прокладка
ПАО КАМАЗ
под заказ
216 ₽
В корзину
13
65115-5018056
Втулка
Кол-во
8
?
Оставить заявку
15
1\\58887\\21
Болт М10х1,25-6gх55
Кол-во
2
?
Оставить заявку
16
1\\55415/31
Болт М12x1.25-6gx90
Кол-во
2
?
Оставить заявку
17
251646
Гайка М10х1,25-6Н ОСТ 37.001.197-75
Кол-во
4
?
Оставить заявку
18
251647
Гайка М12х1,25-6Н ОСТ 37.001.197-97
Кол-во
1
?
Оставить заявку
19
1/61015/21
Гайка М12х1,25-6Н
Кол-во
2
?
Оставить заявку
20
1\\05200\\01
Шайба плоская 12x22
Кол-во
8
?
Оставить заявку
21
1\\05170\\73
Шайба пружинная 12
Кол-во
8
?
Оставить заявку
24
53.5001004
Амортизатор подвески кабины с шарниром
Кол-во
1
?
Оставить заявку
24
20.5001010
Амортизатор подвески кабины
Кол-во
1
?
Оставить заявку
24
45104500100100
Амортизатор в сборе
Кол-во
1
?
Оставить заявку
25
45104501800590
Гидравлический замок 1604 100
Кол-во
1
?
Оставить заявку
25
45104501800790
Замок кабины гидравлический V13.0000
Кол-во
1
?
Оставить заявку
Нужна помощь в подборе запчастей?
Напишите нам и оставьте ваши контактные данные. Мы перезвоним вам в течение 30 минут или раньше!
Кратвольд Елена
Менеджер по продажам
7 (3513) 289-777
koleso787@bk.ru
Вы должны включить JavaScript чтобы использовать эту форму.
Ваш вопрос
Email
Телефон
Отправляя форму вы подтверждаете согласие с
политикой обработки персональных данных
.
Отправить
Оставьте это поле пустым