Каталог запчастей
Запчасти Камаз
Запчасти Урал
Спецпредложения
О компании
Контакты
+7 (3513) 289-777
Отправить готовую заявку
Группа компаний A-GROUP
Каталог
Запчасти УРАЛ
Запчасти КАМАЗ
Двигатель
Система питания
Система выпуска газов
Система охлаждения
Механизмы управления
Рулевое управление
Тормозная система
Кабина и кузов
Кабина
Оперение кабины
Платформа и кузов
Трансмиссия
Коробка передач
Коробка раздаточная
Сцепление
Карданная передача
Мосты
Ходовая часть
Колеса и ступицы
Ось передняя
Подвеска
Рама
Электрооборудование
Приборы
Специальное оборудование
Устройство седельно-сцепное
Лебедка
Газовое оборудование
Прочие запчасти
Инструмент и принадлежности
Рукава и РТИ
Крепеж
Подшипники
Запчасти двигателя
Система выпуска газов
Система охлаждения
Система питания
Кабина и оперение
Передок кабины
Оперение кабины
Боковина кабины
Двери кабины
Задок кабины
Основание кабины
Крыша кабины
Сиденья кабины
Вентиляция и отопление кабины
Трансмиссия
Коробка передач
Раздаточная коробка
Карданный вал
Сцепление
Передний мост
Средний мост
Задний мост
Ходовая часть
Рама
Подвеска балансирная
Колеса и ступицы
Механизмы управления
Рулевое управление
Тормозная система
Платформа
Электрооборудование
Приборы
Оборудование и инструменты
Коробка отбора мощности
Лебедка
Устройство седельно-сцепное
Инструменты
Поиск
Графические каталоги
0
Группа компаний A-GROUP
Поиск
0
+7 (3513) 289-777
Обратный звонок
Отправить готовую заявку
Группа компаний A-GROUP
0
Меню
Поиск
Каталог запчастей
Запчасти Камаз
Запчасти Урал
Спецпредложения
О компании
Контакты
Главная
Графические каталоги
КамАЗ
КамАЗ-5308 (Евро 3)
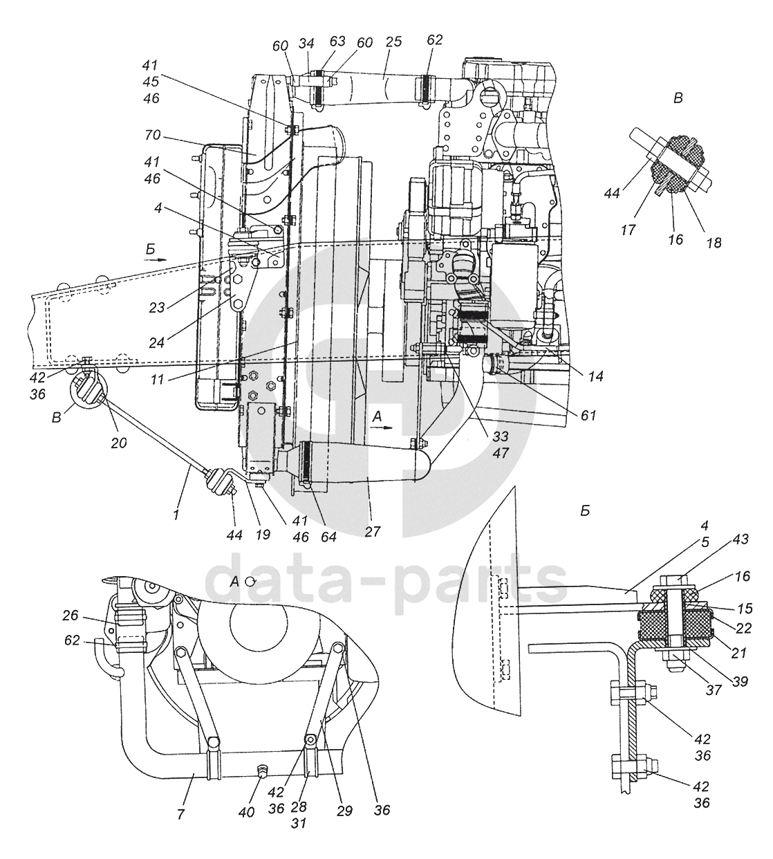
5308-1300023 Установка радиатора
5308-1300023 Установка радиатора КамАЗ-5308 (Евро 3)
1
4
4
5
7
11
14
15
16
16
17
18
19
20
21
22
23
24
25
26
27
28
29
31
33
34
36
36
36
36
36
37
39
40
41
41
41
42
42
42
42
43
44
44
45
46
46
46
47
60
60
61
62
62
63
64
27
70
100
%
1
4308-1302034
Тяга крепления радиатора
Кол-во
1
?
Оставить заявку
4
4308-1302078-51
Кронштейн крепления радиатора правый
Кол-во
1
?
Оставить заявку
5
4308-1302079-51
Кронштейн крепления радиатора левый
Кол-во
1
?
Оставить заявку
7
43255-1303028
Труба отводящая
Кол-во
1
?
Узнать цену
43255-1303028
Колено КАМАЗ-43255 системы охлаждения
ПАО КАМАЗ
под заказ
7 288 ₽
В корзину
11
43085-1309010-20
Кожух вентилятора
Кол-во
1
?
Узнать цену
43085-1309010-20
Кожух вентилятора
ПАО КАМАЗ
под заказ
7 648 ₽
В корзину
14
7405.1013292-01
Рукав
Кол-во
1
?
Оставить заявку
15
6520-1302031
Втулка распорная
Кол-во
2
?
Узнать цену
6520-1302031
Втулка распорная
ПАО КАМАЗ
под заказ
95 ₽
В корзину
16
5320-1302037
Подушка крепления радиатора
Кол-во
6
?
Оставить заявку
17
65115-1302037
Втулка распорная тяги
Кол-во
2
?
Узнать цену
65115-1302037
Втулка
ПАО КАМАЗ
под заказ
68 ₽
В корзину
18
5320-1302038
Чашка буфера тяги
Кол-во
4
?
Узнать цену
5320-1302038
Чашка КАМАЗ буфера тяги
ПАО КАМАЗ
под заказ
26 ₽
В корзину
19
4308-1302047-20
Кронштейн тяги радиатора задний
Кол-во
1
?
Узнать цену
4308-1302047-20
Кронштейн тяги радиатора задний
ПАО КАМАЗ
под заказ
1 046 ₽
В корзину
20
4308-1302048-20
Кронштейн тяги радиатора передний
Кол-во
1
?
Узнать цену
4308-1302048-20
Кронштейн
ПАО КАМАЗ
под заказ
607 ₽
В корзину
21
5320-1302060
Подушка подвески радиатора
Кол-во
2
?
Оставить заявку
22
5320-1302062
Чашка подвески радиатора
Кол-во
4
?
Узнать цену
5320-1302062
Чашка КАМАЗ подвески радиатора
ПАО КАМАЗ
под заказ
149 ₽
В корзину
23
5308-1302178
Кронштейн подвески радиатора правый
Кол-во
1
?
Оставить заявку
24
5308-1302179
Кронштейн подвески радиатора левый
Кол-во
1
?
Оставить заявку
25
54115-1303010-29
Рукав
Кол-во
1
?
Оставить заявку
26
54115-1303027-29
Рукав
Кол-во
1
?
Оставить заявку
27
45104130000690
Рукав
Кол-во
1
?
Оставить заявку
27
4308-1303027-50О
Рукав
Кол-во
1
?
Оставить заявку
28
6560-1303076
Хомут
Кол-во
2
?
Узнать цену
6560-1303076
Хомут
ПАО КАМАЗ
под заказ
248 ₽
В корзину
29
54115-1303077-29
Кронштейн трубы отводящей нижней
Кол-во
2
?
Оставить заявку
31
5297-1303079
Прокладка хомута
Кол-во
2
?
Оставить заявку
33
54115-1303179-29
Стойка
Кол-во
2
?
Оставить заявку
34
5320-1311063-02
Рукав
Кол-во
1
?
Оставить заявку
36
251646
Гайка М10х1,25-6Н ОСТ 37.001.197-75
Кол-во
10
?
Оставить заявку
37
251647
Гайка М12х1,25-6Н ОСТ 37.001.197-97
Кол-во
2
?
Оставить заявку
39
252045
Шайба плоская 12х34 ОСТ 37.001.144-96
Кол-во
4
?
Оставить заявку
40
262542
Пробка КГ1/4"
Кол-во
1
?
Оставить заявку
41
1/60432/21
Болт М8-6gх16
Кол-во
16
?
Оставить заявку
42
1/13069/21
Болт М10х1,25-6gх30
Кол-во
8
?
Оставить заявку
43
1/55412/31
Болт М12х1,25-6gх70
Кол-во
2
?
Оставить заявку
44
1/21647/11
Гайка М10х1,25-6Н
Кол-во
3
?
Оставить заявку
45
1/05196/01
Шайба плоская 8х17
Кол-во
8
?
Узнать цену
1/05196/01
Шайба 8*17 1/05196
ПАО Автодизель (ЯМЗ)
под заказ
20 ₽
В корзину
46
1/05166/73
Шайба 8 пружинная
Кол-во
16
?
Оставить заявку
47
1/05170/73
Шайба 12 пружинная
Кол-во
2
?
Оставить заявку
60
45104998011090
Хомут с червячной резьбой ТОRR0 12-22/9-С7W1
Кол-во
2
?
Оставить заявку
61
45104998011290
Хомут TORRO 30-45/12-C7W1
Кол-во
2
?
Оставить заявку
62
45104998011093
Хомут с Т-образным Болт ом 300200225
Кол-во
4
?
Оставить заявку
63
45104998010593
Хомут
Кол-во
1
?
Оставить заявку
64
45104998010693
Хомут с Т-образным Болт ом 300200300
Кол-во
1
?
Оставить заявку
70
45104130101011
Радиатор
Кол-во
1
?
Оставить заявку
Нужна помощь в подборе запчастей?
Напишите нам и оставьте ваши контактные данные. Мы перезвоним вам в течение 30 минут или раньше!
Кратвольд Елена
Менеджер по продажам
7 (3513) 289-777
koleso787@bk.ru
Вы должны включить JavaScript чтобы использовать эту форму.
Ваш вопрос
Email
Телефон
Отправляя форму вы подтверждаете согласие с
политикой обработки персональных данных
.
Отправить
Оставьте это поле пустым