Каталог запчастей
Запчасти Камаз
Запчасти Урал
Спецпредложения
О компании
Контакты
+7 (3513) 289-777
Отправить готовую заявку
Группа компаний A-GROUP
Каталог
Запчасти УРАЛ
Запчасти КАМАЗ
Двигатель
Система питания
Система выпуска газов
Система охлаждения
Механизмы управления
Рулевое управление
Тормозная система
Кабина и кузов
Кабина
Оперение кабины
Платформа и кузов
Трансмиссия
Коробка передач
Коробка раздаточная
Сцепление
Карданная передача
Мосты
Ходовая часть
Колеса и ступицы
Ось передняя
Подвеска
Рама
Электрооборудование
Приборы
Специальное оборудование
Устройство седельно-сцепное
Лебедка
Газовое оборудование
Прочие запчасти
Инструмент и принадлежности
Рукава и РТИ
Крепеж
Подшипники
Запчасти двигателя
Система выпуска газов
Система охлаждения
Система питания
Кабина и оперение
Передок кабины
Оперение кабины
Боковина кабины
Двери кабины
Задок кабины
Основание кабины
Крыша кабины
Сиденья кабины
Вентиляция и отопление кабины
Трансмиссия
Коробка передач
Раздаточная коробка
Карданный вал
Сцепление
Передний мост
Средний мост
Задний мост
Ходовая часть
Рама
Подвеска балансирная
Колеса и ступицы
Механизмы управления
Рулевое управление
Тормозная система
Платформа
Электрооборудование
Приборы
Оборудование и инструменты
Коробка отбора мощности
Лебедка
Устройство седельно-сцепное
Инструменты
Поиск
Графические каталоги
0
Группа компаний A-GROUP
Поиск
0
+7 (3513) 289-777
Обратный звонок
Отправить готовую заявку
Группа компаний A-GROUP
0
Меню
Поиск
Каталог запчастей
Запчасти Камаз
Запчасти Урал
Спецпредложения
О компании
Контакты
Главная
Графические каталоги
КамАЗ
КамАЗ-43502 (Евро 4)
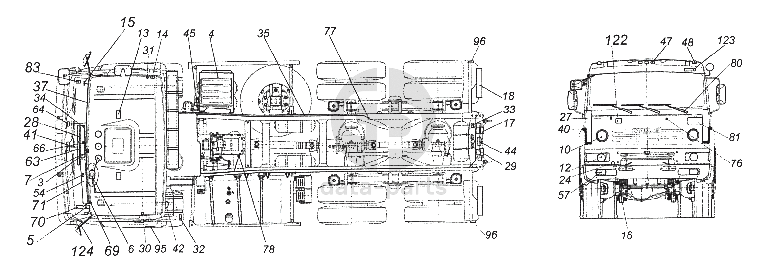
4350-3700060-30 Электрооборудование. Расположение на панели приборов
4350-3700060-30 Электрооборудование. Расположение на панели приборов КамАЗ-43502 (Евро 4)
5
7
15
28
37
41
63
66
69
71
122
124
100
%
5
5308-3710004
Установка выключателя аккумуляторной батареи
Кол-во
1
?
Оставить заявку
7
43118-3710001-14
Установка выключателей
Кол-во
1
?
Оставить заявку
15
53205-3714003
Установка плафона освещения вещевого ящика
Кол-во
1
?
Оставить заявку
28
4308-3722001-30
Установка предохранителей
Кол-во
1
?
Оставить заявку
37
43118-3724002-30
Установка проводов на панели приборов
Кол-во
1
?
Оставить заявку
41
6520-3740001
Установка блока управления ЭФУ
Кол-во
1
?
Оставить заявку
63
4308-3747001-54
Установка реле
Кол-во
1
?
Оставить заявку
66
6520-3718001
Установка блока управления корректором фар
Кол-во
1
?
Оставить заявку
69
65115-3710007
Установка выключателя ЭФУ
Кол-во
1
?
Оставить заявку
71
5308-3805001
Установка щитка приборов
Кол-во
1
?
Оставить заявку
122
4308-7900010
Радиооборудование. Расположение на панели приборов
Кол-во
1
?
Оставить заявку
124
65115-3741017
Установка электрооборудования обогрева зеркал на панели приборов
Кол-во
1
?
Оставить заявку
Нужна помощь в подборе запчастей?
Напишите нам и оставьте ваши контактные данные. Мы перезвоним вам в течение 30 минут или раньше!
Кратвольд Елена
Менеджер по продажам
7 (3513) 289-777
koleso787@bk.ru
Вы должны включить JavaScript чтобы использовать эту форму.
Ваш вопрос
Email
Телефон
Отправляя форму вы подтверждаете согласие с
политикой обработки персональных данных
.
Отправить
Оставьте это поле пустым